ROHM Semiconductor LAPIS ML610Q327/ML610Q338/ML610Q339 8-Bit-MCUs
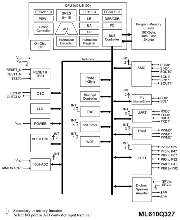
Die 8-Bit-Mikrocontroller (MCUs) LAPIS ML610Q327/ML610Q338/ML610Q339 von ROHM Semiconductor sind leistungsstarke 8-Bit-CMOS-MCUs, die eine Vielzahl von Peripheriegeräten wie Timer, PWM, UART, I2C-Busschnittstelle, synchrone serielle Schnittstelle, 10-Bit-A/D-Wandler mit sukzessiver Approximation und Sprachausgabefunktion integrieren. Die CPU nX-U8/100 kann Befehle auf Basis von einem Befehl pro Taktimpuls durch die parallele Verarbeitung der 3-stufigen Pipeline-Architektur effizient ausführen. Der LAPIS ML610Q327 / ML610Q338 / ML610Q339 von ROHM Semiconductor ist außerdem mit einem Flash-Speicher ausgestattet, der eine niedrige Spannung und einen niedrigen Stromverbrauch (beim Lesen) bietet, der Mask-ROM entspricht, so dass er sich gut für batteriebetriebene Anwendungen wie Alarmanlagen und tragbare Geräte eignet. Darüber hinaus verfügt er über eine On-Chip-Debugging-Funktion, die das Debuggen und Überschreiben von Software mit dem auf dem Board montierten LSI ermöglicht.Merkmale
- CPU
- 8-Bit-RISC-CPU (CPU-Name: nX-U8/100)
- Befehlssystem: 16-Bit-Befehle
- Befehlssatz (Transfer, arithmetische Operationen, Vergleich, logische Operationen, Multiplikation/Division, Bitmanipulationen, logische Bitoperationen, Sprung, bedingter Sprung, Call-Return-Stack-Manipulationen, arithmetische Verschiebung usw.)
- On-Chip-Debug-Funktion
- Minimale Befehlsausführungszeit
- Ca. 30,5 μs (bei einem Systemtakt von 32,768 kHz)
- Ca. 0,244 μs (bei einem Systemtakt von4,096 MHz) bei VDD = 2,0 V bis 5,5 V
- Ca. 0,122 μs (bei einem Systemtakt von 8,192 MHz) bei VDD = 2,2 V bis 5,5 V
- Interner Speicher
- Flash-Speicher
- ML610Q327 – Programmbereich mit 192 Kbyte (96 K x 16 bits) und einem Überschreibungszyklus von 100 Zyklen
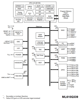
- ML610Q338/ML610Q339 – 256 Kbyte (128 K×16 bits) Programmbereich mit einem Wiederbeschreibungszyklus von 100 Zyklen
- Daten-Flash-Speicher von 2 Kbyte (1 K x 16 bits) mit einem Wiederbeschreibungszyklus von 10.000 Zyklen
- Eingebaute Funktion für Back Ground Operation (BGO) (CPU setzt die Programmverarbeitung fort, während der Datenflash gelöscht/geschrieben wird)
- Interner RAM mit 4 Kbyte (4 K x 8 Bits)
- Flash-Speicher
- Unterbrechungs-Controller
- Eine nicht-maskierbare Interrupt-Quelle ist ein Watchdog-Timer
- 29 maskierbare Interrupt-Quellen
- Interne Quelle mit 21 (Datenflash-Lösch-/Schreibabschluss, SSIO0, SSIO1, UART0, UART1, I2C Bus-Master/Slave-Schnittstelle, Timer 0, Timer 1, Timer 2, Timer 3, PWM0, PWM1, PWM2, A/D-Wandler, Sprachwiedergabe, Lautsprecher-Pin-Kurzschlusserkennung, TBC128Hz TBC32Hz TBC16Hz TBC2Hz)
- Externe Quelle mit 8 (P80, P81, P82, P83, P84, P85, P86, P87)
- Zeitbasiszähler
- Langsamer Zeitbasiszähler x 1-Kanal
- Hochgeschwindigkeits-Zeitbasiszähler x 1-Kanal
- Watchdog-Timer
- Erzeugt beim ersten Überlauf einen nicht-maskierbaren Interrupt und ein System-Reset erfolgt beim zweiten Überlauf.
- Freilaufend
- Vier Arten von Überlaufzeit, wählbar als 125 ms, 500 ms, 2 s und 8 s bei 32,768 kHz
- Timer (8-bit x 4-Kanal (16-bit Konfiguration verfügbar)
- PWM mit einer Auflösung von 16 bits x 3-Kanal
- Funktion zur Sprachausgabe
- Sprachsynthesemethode von HQ-ADPCM, 4-Bit ADPCM2, nicht-lineare 8-Bit-PCM, lineare 8-Bit-PCM und lineare 16-Bit-PCM
- Stichprobenhäufigkeit von 6,4 kHz, 8 kHz, 10,7 kHz, 12,8 kHz, 16 kHz, 21,3 kHz, 25,6 kHz und 32 kHz
- A/D-Wandler mit sukzessiver Approximation
- 10-Bit-A/D-Wandler
- Eingabe von 8-Kanälen
- Wandlungszeit: 24,4 μs pro Kanal bei 4,096 MHz, VDD ≥ 2,2 V
- Wandlungszeit: 12,2 μs pro Kanal bei 8,192 MHz, VDD ≥ 2,5 V
- Wählbare Kontinuierliche Konvertierung/Einzelkonvertierung
- Synchrone serielle Schnittstelle (SSIO)
- 2-Kanal
- Master/Slave wählbar
- LSB zuerst/MSB zuerst wählbar
- 8-Bit-Länge/16-Bit-Länge wählbar
- UART
- Halbduplex x 2-Kanal (bei Verwendung von 2 Kanälen ist ein Vollduplex ebenfalls möglich)
- TXD/RXD
- Bitlänge, Parität/keine Parität, ungerade Parität/gerade Parität, 1 Stoppbit/2 Stoppbits
- Positive Logik/negative Logik wählbar
- Eingebauter Baud-Raten-Generator
- I2C Bus-Schnittstelle
- Masterfunktion (Standardmodus (100 kbps) und Schnellmodus (400 kbps))
- Slave-Funktion (Standardmodus (100 kbps) und Schnellmodus (400 kbps))
- Allzweck-Ports
- Nur-Ausgang-Port x 6-Kanal (einschließlich sekundärer Funktionen)
- Eingangs-/Ausgangsanschluss (einschließlich sekundärer Funktionen)
- ML610Q327 26-Kanal
- ML610Q338 30-Kanal
- ML610Q339 42-Kanal
- Ausgangsleistung des Lautsprecherverstärkers (D-Klasse)
- 1,0 W (bei 5,0 V) / 0,45 W (bei 3,0 V)
- Schaltung zur Erkennung von Unterbrechungen
- Schaltung zur Erkennung von Kurzschlüssen an den Lautsprecherpins
- Reset
- Zurücksetzen über den RESET_N-Pin
- Erzeugung eines Power-On-Resets beim Einschalten
- Zurücksetzen durch Überlauf des Watchdog-Timers (WDT)
- Zurücksetzen der PLL-Oszillationsstopp-Erkennung
- Zurücksetzen der Low-Level-Erkennung (LLD)
- Uhr
- Niedrige Taktfrequenz (eingebaute RC-Oszillation (32,768 kHz))
- Hochgeschwindigkeitstakt (eingebaute PLL-Oszillation (ca. 1,024 MHz/2,048 MHz/4,096 MHz/8,192 MHz))
- Leistungsmanagement
- STOP-Modus (Unterbrechung der Oszillation (CPU-Operationen und periphere Schaltungen werden angehalten))
- HALT-Modus (Befehlsausführung durch die CPU wird ausgesetzt (periphere Schaltungen befinden sich im Betriebszustand))
- Taktgeber (die Frequenz des schnellen Systemtaktes kann per Software geändert werden (1/2, 1/4, 1/8 oder 1/16 des Oszillationstaktes))
- Blocksteuerungsfunktion (Betrieb der intakten funktionalen Blockschaltung wird abgeschaltet (Register, Reset und Taktstopp))
- Gehäuse
- 48-Pin-TQFP-Gehäuse (P-TQFP48-0707-0.50-ZK6) ML610Q327
- 52-Pin-TQFP-Gehäuse (P-TQFP52-1010-0.65-ZK6) ML610Q338
- 64-Pin-TQFP-Gehäuse (P-TQFP64-1010-0.50-ZK6) ML610Q339
- Garantierter Betriebsbereich
- Betriebstemperatur: -40 °C bis 85 °C
- Betriebsspannung: VDD = 2,0 V bis 5,5 V, SPVDD = 2,0 V bis 5,5 V
Applikationen
- Unterhaltungselektronik
- Geräte des Internet der Dinge (IoT)
- Automobilelektronik
- Industrieautomatisierung
- Spielzeug und pädagogische Produkte
- Sicherheitssysteme
- Wearables
Veröffentlichungsdatum: 2024-11-27
| Aktualisiert: 2024-12-23
