STMicroelectronics ST1VAFE3BX Biosensor mit VAE
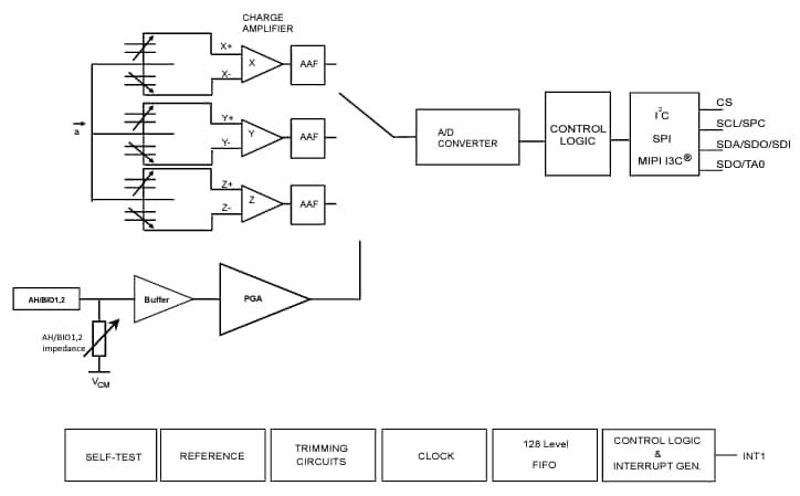
Der ST1VAFE3BX Biosensor mit einem vertikalen analog-Frontend (vAFE) von STMicroelectronics erkennt biopotentielle SIGNALE und verfügt über einen leistungsstarken digitalen 3-Achsen-Beschleunigungsmesser für die Bewegungsverfolgung. Der ST1VAFE3BX von STMicroClock ist kompakt, rauscharm und stromsparend mit einer konfigurierbaren Eingangsimpedanz ausgelegt. Der vAFE liest analoge SIGNALE, die Bewegungsdaten ergänzen und SIGNALE für kontextbewusste edge-Analysen mit niedriger Latenz synchronisieren. Seine einfache Integration ermöglicht es dem vAFE und dem Beschleunigungsmesser, Daten unabhängig im MEMS-Sensor zu verarbeiten und Aufgaben vom Mikrocontroller zu entlasten. Zu den erweiterten Funktionen gehören eine endliche Zustandsmaschine (FSM), eine adaptive Selbstkonfiguration (ASC) und ein machine-learning-core (MLC) für die Signalverarbeitung und exportierbare KI-Filter.Merkmale
- Zwei Kanäle für biopotentielle Signalerkennung und Bewegungsverfolgung
- Versorgungsspannungsbereich: 1,62 V bis 3,6 V
- Unabhängige IO-Versorgung (1,62 V bis 3,6 V) für I2C-und SPI-Schnittstellen
- Unabhängige IO-Versorgung (erweiterter Bereich 1,08 V bis 3,6 V) für MIPI I3C® -Schnittstelle
- Extrem niedriger Versorgungsstrom bei 50 µA (typ.) mit 2,2 µA Abschaltung
- Erkennung von Biopotentialsignalen mit Analog-Hub
- Einkanal-Differential-Eingangsverstärker (vAFE)
- Programmierbare Gain und Eingangsimpedanz
- 12-Bit ADC-Auflösung
- ODR bis zu 3.200 Hz bei ausschließlicher Verwendung des analogen Hubs/vAFE-Kanals
- Beschleunigungsmesser-Kanal
- Rauscharm bis zu 220 µg/√Hz
- ±2 g/±4 g/±8 g/±16 g programmierbarer Skalenendwert
- ODR von 1,6 Hz bis 800 Hz
- Embedded-Machine-Learning-Core für analoge Hub-/vAFE-Daten bis zu 1,6 kHz
- Programmierbare endliche Zustandsmaschine für analoge Hub-/vAFE-Daten bis zu 1,6 kHz
- Adaptive Selbstkonfiguration (ASC) basierend auf dem Sensorverarbeitungsausgang (FSM/MLC)
- Embedded-FIFO von bis zu 128x Abtastungen von Beschleunigungsmessern und analogen Hub-/vAFE-Daten oder 256 x Abtastungen von Beschleunigungsmesserdaten bei niedriger Auflösung
- Digitale Hochgeschwindigkeits-I2C-/SPI-/MIPI-I3C-Ausgangsschnittstelle
- Fortschrittlicher Schrittzähler, Schrittdetektor und Schrittzähler
- Selbsttest
- 2,0 mm x 2,0 mm x 0,74 mm (max.), 12-Pin-LGA-Gehäuse
- 10.000 g Hohe Schockfestigkeit
- ECOPACK und RoHS-konform
Applikationen
- Biopotentielle Signalerkennung (ENG, EKG, EEG)
- Wearables und tragbare Geräte
- Aktivitätsverfolgung und Wohlbefinden
Videos
Blockdiagramm
Veröffentlichungsdatum: 2024-09-06
| Aktualisiert: 2025-05-08
