Toshiba TMPM4K Gruppe(1) 32-Bit-Mikrocontroller

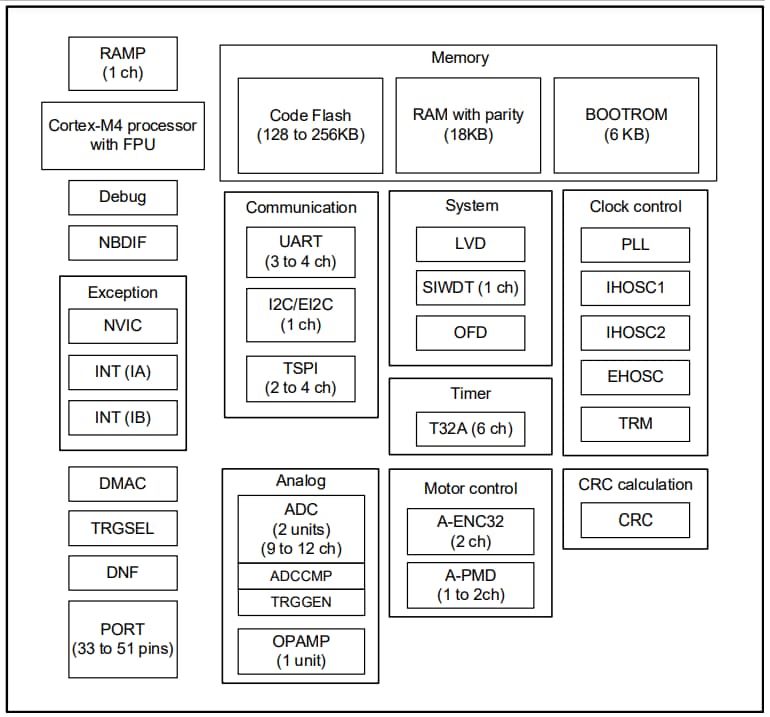
Der TMPM4K Gruppe(1) 32-Bit-Mikrocontroller von Toshiba basiert auf dem leistungsstarken Arm® Cortex®-M4 Prozessor mit FPU. Dieser Mikrocontroller arbeitet in einem Frequenzbereich von 1 MHz bis 120 MHz und einem Spannungsbereich von 2,7 V bis 5,5 V. Der TMPM4K Mikrocontroller verfügt über Selbstdiagnosefunktionen, die die Zertifizierung der funktionalen Sicherheit gemäß IEC 60730 Klasse B und anderen Standards unterstützen. Dieser Mikrocontroller verfügt über Encoder-Schnittstellen und programmierbare Motorsteuerungsfunktionen, die die CPU- Belastung während der Motorsteuerung reduzieren. Der TMPM4K Mikrocontroller verfügt über einen 12-Bit-Analog-Digital-Wechselrichter (ADC), einen DMA-Regler (DMAC), eine CRC-BerechnungsSchaltung (CRC), eine asynchrone serielle Kommunikationsschaltung (UART) und eine Trigger- Auswahlschaltung (TRGSEL). Dieser Mikrocontroller wird in Applikationen wie Motoren, Waschmaschinen, Kühlschränken und Industrieausrüstungen eingesetzt.

Merkmale

  • Arm® Cortex®-M4 Prozessor mit FPU
    • Betriebsfrequenzbereich von 1 MHz bis 120 MHz
    • Unterstützt die Speicherschutzeinheit (Memory Protection Unit, MPU)
  • 128 KB bis 256 KB Flash-Speicher
  • Betriebsbereiche
    • Spannungsbereich von 2,7 V bis 5,5 V
    • Leerlauf- und STOP1-Modus mit geringem Stromverbrauch
  • Interner Speicher
    • 128 KB bis 256 KB Code-Flash und bis zu 100.000-fache Wiederbeschreibungsfrequenzen
    • 18 KB RAM, unterstützt Parität
  • Uhr
    • 6 MHz bis 24 MHz (Keramik- und Quarzoszillator) externer Hochgeschwindigkeits-Oszillator (EHOSC)
    • 6 MHz bis 24 MHz externer Hochgeschwindigkeits-Takteingang (EHCLKIN) 
    • 10 MHz, unterstützt Benutzertrimmung interner Hochgeschwindigkeits-Oszillator (IHOSC1)
    • 120 MHz PLL
  • Fortschrittliche programmierbare Motorsteuerungsschaltung (A-PMD)
    • 1x bis 2x Kanäle
    • Synchronisierter Betrieb mit komplementärem 3-Phasen-PWM-Ausgang und 12-Bit-ADC
    • Unterstützt eine verschachtelte 3-Phasen-PFC-Steuerung
    • Not-Aus-Funktion durch externe Eingänge (EMG-Pin und OVV-Pin)
  • Erweiterte Encoder-Eingangsschaltung (32-Bit, A-ENC32)
    • 2-Kanal
    • Encoder / Sensor (3x Typen) / Timer / Phasenzähler-Modus
  • 32-Bit-Timer-Ereigniszähler (T32A)
    • 6 Kanäle als 32-Bit-Timer und 12 Kanäle als 16-Bit-Timer
    • Intervalltimer, Ereigniszähler, Eingangserfassung, Zweiphasen-Plus-Zähler, PPG-Ausgang, Synchronstart und Trigger-Start und -Stopp
  • Takt-selektiver Watchdog-Timer (SIWDT)
    • 1 Kanal
    • Ein anderer Takt als der Systemtakt kann als Quelltakt gewählt werden
    • Klares Fenster, Unterbrechung oder Reset-Ausgang (auswählbar)
  • I2C-Schnittstelle
    • 1-Kanal, unterstützt Multi-Master-I2C-Schnittstelle
    • 1-Kanal, unterstützt Multi-Master und 10-Bit-Adressierung, I2C-Schnittstelle Version A (EI2C)
  • 12-Bit-Analog-Digital-Wechselrichter (ADC)
    • 2 Einheiten, 9 bis 12 analoge Eingänge
    • Wandlungszeit von 0,73 µs bei fSCLK = 30 MHz
    • Funktion zur Unterstützung der Selbstdiagnose
    • Vergleichsfunktionen der Umrechnungsergebnisse jeder Einheit
  • Gehäuse
    • LQFP64 10 mm x 10 mm, 0,5 mm Raster
    • LQFP48 7 mm x 7 mm, 0,5 mm Raster
    • LQFP44 10 mm x 10 mm, 0,8 mm Raster

Applikationen

  • Industrieapplikationen
    • Umrichter
    • Motorgeräte
    • Leistungsregler
    • Roboter
  • Verbraucher
    • Klimaanlagen
    • Waschmaschinen
    • Kühlschränke
       

Blockdiagramm

Blockdiagramm - Toshiba TMPM4K Gruppe(1) 32-Bit-Mikrocontroller
Veröffentlichungsdatum: 2025-02-20 | Aktualisiert: 2025-08-28