Diodes Incorporated PI3HDX612 Active-Drive-Signal-Duplikator
Der PI3HDX612 Active-Drive-Signal-Duplikator von Diodes Incorporated ist für HDMI™ 2,0 video-Netzwerke ausgelegt. Der PI3HDX612 von Diodes Incorporated wandelt einen Kanal in zwei Kanäle um und treibt SIGNALE zu mehreren Displays an. Steuerungsentzerrung, Verstärkung und Ausgangsschwingung mittels Pins oder I2C-Steuerung je nach Modusauswahl-Pin.Merkmale
- Aktiver 1-zu-2-Signalverdoppler für 4-Lane-HDMI-2.0-Betrieb
- Datenrate unterstützt bis zu 6 Gbps und 4K2K Pixelauflösung
- Gain-Werteauswahl des Quad-Level-Equalizers wird durch Pin-Strap oder die I2C-Modus-Programmierung gesteuert
- Quad-Level-Flat-Gain und Linearität der Ausgangsschwingung wird durch Pin-Strap oder die I2C-Modus-Programmierung gesteuert
- 2 kV HBM-ESD-Schutz auf I/O-Pin
- Einzelstromversorgung: 3,3 V
- Unterstützter Temperaturbereich: -40 °C bis +70 °C
- Vollständig RoHS-konform und bleifrei
- Halogen- und antimonfreies umweltfreundliches Bauelement
- 40-poliges TQFN-Gehäuse, 3 mm x 6 mm (0,4 mm Rastermaß) (ZLD) (bleifrei und umweltfreundlich)
Applikationen
- Peripherieboxen anzeigen
- Digitale Beschilderungs-Displays
- Multiscreen-Spleißen
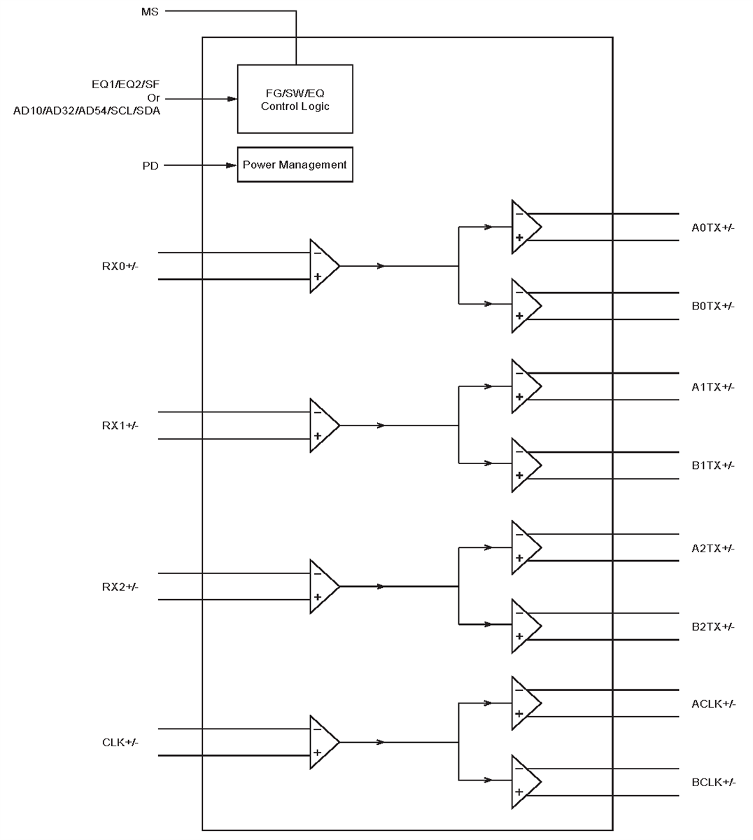
Blockdiagramm
Veröffentlichungsdatum: 2023-10-02
| Aktualisiert: 2023-12-07
