ROHM Semiconductor LAPIS ML86112 Video-Decoder
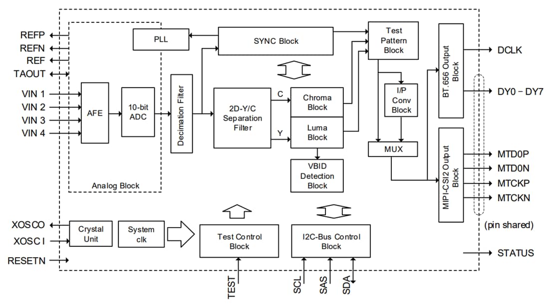
Der Video-Decoder LAPIS ML86112 von ROHM Semiconductor konvertiert analoge NTSC- und PAL-Videosignale in einen MIPI-CSI2-Ausgang oder einen LVTTL-Ausgang. Dieses LSI verfügt über einen integrierten 10-Bit-A/D-Wandler mit 1 Kanal und kann zwei differentielle Composite-Video-Eingänge oder vier Single-Ended-Composite-Video-Eingänge verarbeiten.Das Composite-Signal des LAPIS ML86112 von ROHM Semiconductor wird mit einem 2-dimensionalen Y/C-Trennfilter in ein Luminanzsignal und ein Chrominanzsignal getrennt und die beiden Signale werden dann als digitale Videosignale ausgegeben. Die Videosignale werden mit einem Line-Lock-Taktabtastverfahren unter Verwendung der eingebauten PLL abgetastet. Das MIPI-CSI2-Ausgabeformat ist YUV422 8-bit. Das LVTTL-Format ist das digitale Standardformat ITU-R BT.601/BT.656 YCbCr.
Merkmale
- Analoger Video-Decoder
- Eingabeformat
- NTSC-M, J, 443
- PAL-B, B1, D, G, H, I, K, M, N, Nc, 60
- Analoger Eingangsanschluss
- Einseitiger Composite-Video-Eingang 4-Kanal
- Differenzieller Composite-Video-Eingang 2-Kanal
- Eingabeformat
- A/D-Wandler ist ein 10-Bit-ADC
- Integrierter Oszillatorpuffer mit einem externen Quarzoszillator als Referenztakt (32 MHz oder 25 MHz)
- Abtastfrequenz
- NTSC(ITU-R BT.601): 27,0000 MHz
- NTSC(Quadratische Pixel): 24,5454 MHz
- NTSC(4fsc): 28,6363 MHz
- PAL(ITU-R BT.601): 27,0000 MHz
- PAL(Quadratischer Pixel): 29,5000 MHz
- Umfasst eine Line-Lock-Taktabtastmethode
- Die Y/C-Separation ist ein adaptiver, zweidimensionaler Y/C-Separationsfilter
- Einstellung des Luminanzpegels ist AGC (automatische Verstärkungsregelung), MGC (manuelle Verstärkungsregelung) oder Peak AGC.
- Farbeinstellung ist ACC (automatische Farbsteuerung) oder MCC (manuelle Farbsteuerung).
- Kontrast kann zwischen 1/32 und 63/32 eingestellt werden. 128
- Luminanz-Offset kann zwischen -7IRE und 7IRE eingestellt werden.
- Konturenkompensation wird bei höheren Frequenzen (Luminanzsignal) hervorgehoben.
- Farbton lässt sich zwischen -180 ° und 180 ° einstellen
- CTI ist eine verbesserte Farbpegeländerung
- Automatische Erkennung des Eingangsvideosignals: NTSC/PAL automatische Erkennung (im ITU-R BT.601 Modus und NTSC4fsc Modus)
- Erkennung von VBI-Daten
- Untertitel für NTSC
- CGMS für NTSC
- WSS für PAL
- IP-Konvertierungsfunktion ist eine feldinterne Interpolation
- MIPI-CSI2 PLL verwendet die Line-Lock-PLL als Referenztakt
- Digitaler Videoausgang
- MIPI-CSI2-Ausgang oder LVTTL-Ausgang (BT.656) wählbar
- Ausgestattet mit MIPI-CSI2- Transmitter (1 Leitung)
- Ausgangsformat:
- MIPI-CSI2 YUV422 8-Bit
- Kontinuierlicher Taktbetrieb
- Die Ausgabe kann durch externe Pin-/Registersteuerung gestoppt werden (LP-Modus)
- LVTTL ITU-R BT.656-4 (YCbCr4:2:2 8-bit mit Synchronisationsinformationen)
- MIPI-CSI2 YUV422 8-Bit
- Ausgangsfrequenz
- MIPI-CSI2: 196,4 Mbps bis 472 Mbps
- LVTTL
- 24,5454 MHz bis 59 MHz (einflankiger Takt)
- 12,2727 MHz bis 29,5 MHz (Dual-Edge-Takt)
- Pixelfrequenz von 12,2727 MHz bis 29,5 MHz
- Die Erkennungsfunktion umfasst die Erkennung der Eingangssynchronisation
- STATUS-Ausgang mit Open-Drain-Ausgang (externer Pull-up von 1,8 V bis 3,6 V)
- Die Sleep-Funktion bietet Sleep- durch Registerregelung
- Host-Schnittstelle
- I2C Sklave, maximal 400 kHz
- Slave-Adresse: 80h (1000_000x), 82h(1000_001x) wählbar
- Stromspannung
- E/A-Teil: 3,3 V ± 0,3 V
- Analoger Teil (AFE/ADC): 3,3 V ± 0,3 V
- MIPI-Tx Teil (HS-Treiber): 3,3 V ± 0,3 V
- Logikkernteil: 1,2 V ± 0,06 V
- PLL-Teil: 1,2 V ± 0,06 V
- MIPI-Tx-Teil (PLL/LP Treiber): 1,2 V ± 0,06 V
- E/A-Teil: 3,3 V ± 0,3 V
- Betriebstemperatur (Umgebungstemperatur): -40 °C bis +105 °C
- Gehäuse
- Kunststoff-WQFN-Gehäuse mit 32 Pins und Rastermaß von 0,5 (WQFN32-0505-0.50)
- Benetzbares, freiliegendes PAD (GND-Rückseite)
Applikationen
- Fahrzeugnavigationssysteme
- Audioanzeigen
- RSE (Rücksitz-Entertainmentsystem)
Blockdiagramm
Veröffentlichungsdatum: 2024-11-25
| Aktualisiert: 2024-12-31
