Analog Devices Inc. MAX31732 Mehrkanal-Temperatursensor

Der Mehrkanal-Temperatursensor MAX31732 von Analog Devices überwacht bis zu vier externe, diodengeschaltete Transistoren und seine eigene Temperatur. Die Widerstandsuntersdrückungsfunktion kompensiert bis zu 300 Ω des Serienwiderstands zwischen der externen Wärmediode und dem MAX31732. Gleichzeitig korrigiert die Beta-Kompensation Temperaturmessfehler aufgrund von Transistoren mit niedriger Beta-Messung. Der Sensor ermöglicht außerdem Idealitätsfaktoren zwischen 0,9844 und 1,311.

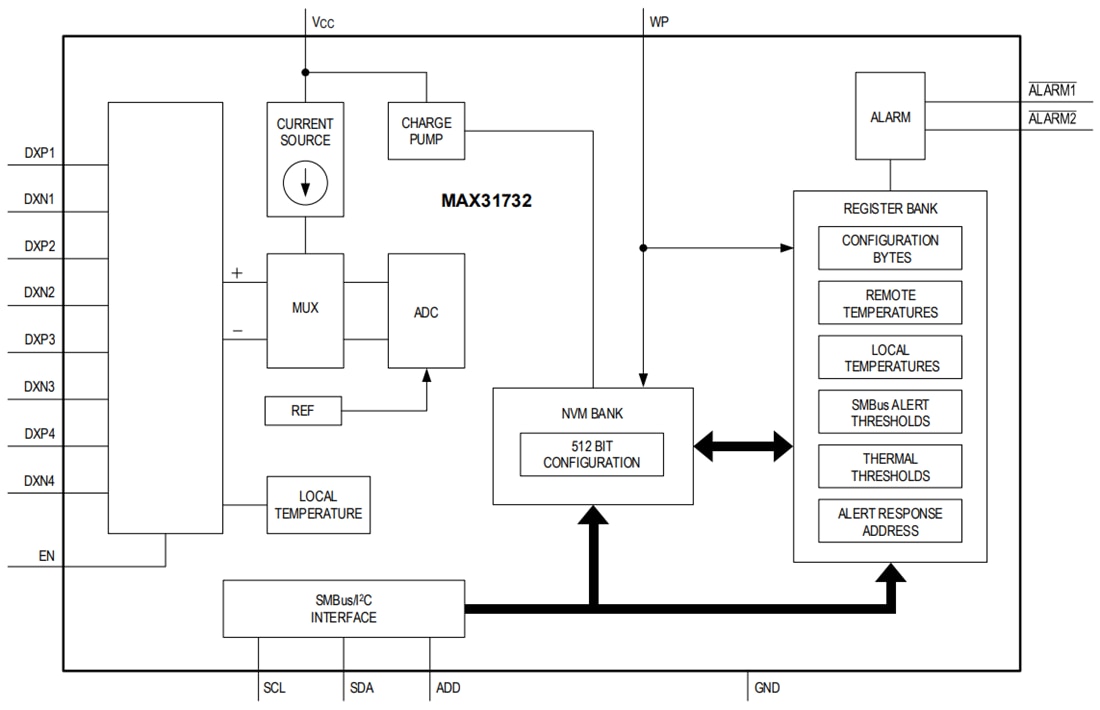
Der MAX31732 bietet Active-Low-Alarmausgänge und zwei Open-Drain, ALARM1 und ALARM2. Wenn die gemessene Temperatur eines Kanals die primären Übertemperatur-/Untertemperatur-Schwellenwerte übersteigt, aktiviert der ALARM1 niedrig und ein Status-Bit wird in den entsprechenden thermischen Statusregistern eingestellt. Wenn die gemessene Temperatur eines Kanals die sekundären Übertemperatur-/Untertemperaturschwellwerte kreuzt, aktiviert der ALARM2 niedrig und ein Status-Bit wird in den entsprechenden thermischen Statusregistern eingestellt. Das höchste Temperaturregister ermöglicht es dem Regler, die Temperatur des heißesten Kanals zu erhalten.

Ein nichtflüchtiger 512-Bit-Speicher (NVM) ermöglicht dem MAX31732 die Programmierung der Konfigurationsregister während des Einschaltens ohne Eingreifen der Software/Firmware. Darüber hinaus erfasst der NVM die Fehlertemperatur für jeden entfernten und lokalen Kanal zur späteren Analyse.

Die serielle Zweidraht-Schnittstelle akzeptiert SMBus-Protokolle (Read Byte, Write Byte, Send Byte und Receive Byte) zum Lesen der Temperaturdaten und zur Programmierung der Temperaturschwellenwerte. Der Adresswahleingang (ADD) kann entweder mit Masse oder einem geerdeten Widerstand angeschlossen und zur Auswahl einer der acht verfügbaren Zieladressen verwendet werden.

Der Sensor ist für den Betriebstemperaturbereich von -40 °C bis +125 °C und mit einem Eingangspannungsbereich von 3,0 V bis 3,6 V spezifiziert. Der MAX31732 von Analog Devices ist in einem 24-poligen x TQFN-Gehäuse von 4 mm x 4 mm erhältlich.

Merkmale

  • Ein lokaler und vier Ferntemperaturmesskanäle
  • Genauigkeit der Ferntemperaturmessung (-40 °C bis +125 °C): ±1 °C
  • Ferntemperaturmessbereich: -64 °C bis +150 °C
  • Bis zu 300 Ω Widerstandsaufhebung für Remote-Kanäle
  • Kompensation für Low-Beta-Transistoren
  • Zwei programmierbare Alarmtemperaturschwellenwerte
  • 12-Bit, 0,0625 °C Auflösung
  • Acht wählbare Zieladressen
  • Flexible I2C/SMBus-Schnittstellen zu einer Vielzahl von Mikrocontrollern
  • Idealitätsfaktor von bis zu 1,311
  • NVM erleichtert die Konfiguration und Fehlerprotokollierung

Applikationen

  • Temperaturmessung von On-Chip-CPU, ASIC, SoC oder FPGA-Dioden oder diskreten Ferndioden
  • Industrielles Wärmemanagement

Funktionsdiagramm

Blockdiagramm - Analog Devices Inc. MAX31732 Mehrkanal-Temperatursensor
Veröffentlichungsdatum: 2024-08-09 | Aktualisiert: 2024-09-04