SparkFun Level Shifter - 8 Channel (TXS0108E)
SparkFun Level Shifter - 8 Channel (TXS0108E) allows to easily shift logic between devices running at different common microcontroller voltages. This Level Shifter - 8 Channel (TXS0108E) features the TXS0108E™ 8-bit, bi-directional logic level translator from Texas Instruments. The TXS0108E allows to easily shift logic between devices running at different common microcontroller voltages such as 1.8V, 3.3V, and 5V. This TXS0108E transmits the data between the ports at the maximum speed of 110Mbps (push/pull) or 1.2Mbps (open drain). The transmitted data allows using a 3.3V SPI device with a 5V microcontroller like the red board plus without sacrificing data transmission speeds. This Level Shifter - 8 channel (TXS0108E) features bi-directional level-shifting, open-drain, and push-pull applications. The TXS0108E operates at a 1.4V to 3.6V supply voltage range on port A and 1.65V to 5.5V supply voltage range on port B. This Level Shifter - 8 Channel (TXS0108E) is ideally used in handsets, tablets, and smartphones.Features
- Bi-directional level-shifting
- Open-drain and push-pull applications
- Max data rates:
- 110 Mbps (push-pull)
- 1.2 Mbps (open-drain)
- Supply voltage range:
- 1.4V to 3.6V on port A
- 1.65V to 5.5V on port B
Applications
- Handsets
- Smartphones
- Tablets
- Desktop PCs
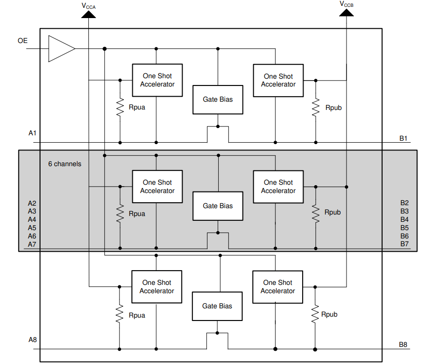
Block Diagram
Application Circuit Diagram
Board Dimensions
Additional Resources
Veröffentlichungsdatum: 2022-07-21
| Aktualisiert: 2022-10-21
