STMicroelectronics VNHD7012 38A-H-Brücken-DC-Motortreiber
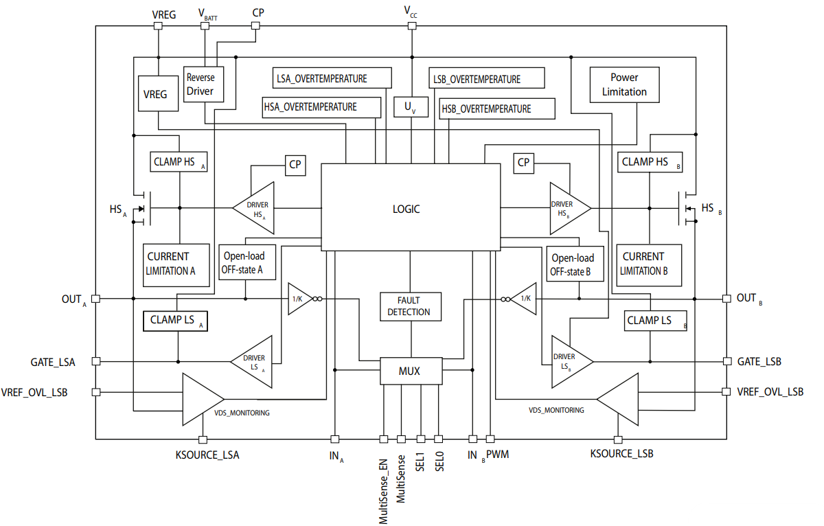
Der STMicroelectronics VNHD7012 38A-H-Brücken-DC-Motortreiber wird für Fahrzeuganwendungen verwendet. Der Treiber integriert einen vollständig geschützten, dualen High-Side-Treiber sowie die Treiber und Schutzvorrichtungen für zwei externe Power-MOSFETs in der Low-Side-Konfiguration. Das Bauteil ist in einem PowerSSO-36-Gehäuse mit freiliegendem Pad zur Optimierung der Dissipationsleistungen untergebracht. Die INA- and INB-Eingangssignale können direkt mit dem Mikrocontroller verbunden werden, um die Motordrehrichtung und Bremsbedingungen auszuwählen.Merkmale
- AEC-Q100-qualifiziert
- Ausgangsstrom: 38 A
- Vollständig geschützter HSD mit MultiSense-Feedback
- Zwei integrierte Treiber für die externen LSDs
- 3 V CMOS-kompatible Eingänge
- Schutzfunktionen:
- Unterspannungsabschaltung
- Überspannungsklemme
- Thermische Abschaltung
- Laststrombegrenzung
- Selbstbegrenzung schneller thermischer Transienten (Leistungsbegrenzung)
- Querstromschutz
- Durchzündungsschutz
- Erdungsverlust und VCC-Verlust
- Schutz gegen elektrostatische Entladungen
- Überwachung der Drain- und Source-Spannung der externen MOSFETs, konfigurierbar über einen externen Widerstand (Kurzschluss-Batterieschutz)
- PWM-Betrieb bis zu 20 kHz für externe LSDs
- Multisense-Überwachungsfunktionen
- Analoge Motor-Stromrückkopplung
- Chip-Temperaturüberwachung
- Batteriespannungsüberwachung
- MultiSense Diagnosefunktionen
- Ausgangskurzschluss zu Masseerkennung
- Überhitzungsschutz-Anzeige
- Open-Load-Erkennung im OFF-Zustand
- Ausgangskurzschluss zu VCC-Erkennung
- Standby-Modus
- Halbbrückenbetrieb
- Ladepumpenausgang für Batterie-Umpolungsschutz
- Gehäuse: ECOPACK®
Blockdiagramm
Veröffentlichungsdatum: 2018-12-10
| Aktualisiert: 2023-02-23
