STMicroelectronics VNHD7012AY H-Brücken-Motortreiber
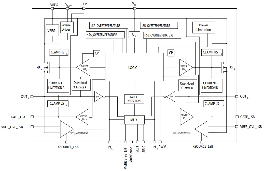
Der STMicroelectronics VNHD7012AY H-Bridge-Motortreiber integriert einen dualen High-Side-Treiber sowie die Treiber und Schutzvorrichtungen für zwei externe Leistungs-MOSFETs in Low-Side-Konfiguration. Der VNHD7012AY wurde unter Verwendung der VIPower-Technologie von STMicroelectronics entwickelt, um einen echten PowerMOSFET mit einer intelligenten Signal-/Schutzschaltung effizient auf demselben Chip zu integrieren. Das Bauteil ist in einem exponierten PowerSSO-36-Pad-Gehäuse untergebracht, um die Verlustleistung zu optimieren.Merkmale
- AEC-Q100-qualifiziert
- Ausgangsstrom: 38 A
- Vollständig geschützte HSD mit MultiSense-Feedback
- Zwei integrierte Treiber für die externe LSDs
- 3 V CMOS-kompatible Eingänge
- Schutzfunktionen:
- Unterspannungsabschaltung
- Überspannungsklemme
- Thermische Abschaltung
- Laststromgrenzen
- Selbstbegrenzung schneller thermischer Transienten (Leistungsbegrenzung)
- Querstromschutz
- Durchzündungsschutz
- Erdungsverlust und VCC-Verlust
- Schutz gegen elektrostatische Entladungen
- Überwachung der Drain- und Source-Spannung der externen externen MOSFETs, konfigurierbar über einen externen Widerstand (Kurzschluss-Batterie-Schutz)
- PWM-Betrieb bis zu 20 kHz für externe LSDs
- Multisense-Überwachungsfunktionen
- Analoge Motor-Stromrückkopplung
- Chip-Temperaturüberwachung
- Batteriespannungsüberwachung
- MultiSense Diagnosefunktionen
- Ausgangskurzschluss zu Masseerkennung
- Überhitzungsschutz-Anzeige
- Open-Load-Erkennung im OFF-Zustand
- Ausgangskurzschluss zu VCC-Erkennung
- Standby-Modus
- Halbbrückenbetrieb
- Ladepumpenausgang für Batterie-Verpolungsschutz
- Gehäuse: ECOPACK®
Videos
Blockdiagramm
Veröffentlichungsdatum: 2018-12-03
| Aktualisiert: 2023-02-24
