STMicroelectronics STM32WB09 BLUETOOTH® Low Energy 5.4 32-Bit-MCUs
STMicroelectronics STM32WB09 BLUETOOTH® Low Energy 5.4 32-Bit-MCUs integrieren die hochmoderne 2,4-GHz-HF-Funkperipherien, die für einen extrem geringen Stromverbrauch und eine ausgezeichnete Funkleistung für eine beispiellose Batterielaufzeit optimiert sind. Der STM32WB09 ist mit der Bluetooth Low Energy-SIG-Core-Spezifikation Version 5.4 konform, verwaltet Punkt-zu-Punkt-Konnektivität und Bluetooth Mesh-Netzwerk und ermöglicht die zuverlässige Einrichtung großer Gerätenetzwerke. Darüber hinaus eignet sich der STM32WB09 hervorragend für die proprietäre drahtlose Funkkommunikation von 2,4 GHz für Applikationen mit extrem niedriger Latenz.Der STM32WB09 enthält einen ARM® Cortex®-M0+Mikroprozessor, der bis zu 64 MHz und einen Funkkern-Coprozessor (DMA-basiert) für zeitkritische BLE-Betriebsabläufe betrieben wird. Darüber hinaus bietet der STM32WB09 eine verbesserte Sicherheits-Hardware-Unterstützung durch dedizierte Hardware-Funktionen: ein echter Zufallsnummerngenerator (TRNG), der NIST Special Publication 800-90B unterstützt, ein Sicherheits-Co-Prozessor für die 128-Bit-AES-Verschlüsselung, eine CRC-Berechnungseinheit, eine 64-Bit-ID, einen Flash-Speicher-Lese- und Schreibschutz und einen Public-Beschleuniger (PKA).
Der STM32WB09 kann zur Unterstützung von eigenständigen oder Netzwerkprozessorapplikationen konfiguriert werden. In der ersten Konfiguration wird der STM32WB09 als ein einzelnes Bauteil betrieben, das den Applikationscode und den BLE-Stapel ausführt. Der STM32WB09 integriert die folgenden Hochgeschwindigkeits-Speichertypen: 512 Kbyte Flash-Speicher, 64 Kbyte RAM, 1 Kbyte einmalig programmierbarer (OTP) Speicherbereich und 7 Kbyte ROM (ST Reservierte Fläche). Die direkte Datenübertragung zwischen Speicher und Peripherie und vom Speicher zum Speicher wird von acht DMA-Kanälen mit einer vollständigen flexiblen Kanalzuordnung durch die DMAMUX-Peripherie unterstützt.
Der STM32WB09 integriert einen 12-Bit-ADC, der Messungen von bis zu acht externen und drei internen Quellen ermöglicht, einschließlich Batterieüberwachung und Temperatursensor. Der STM32WB09 verfügt über eine stromsparende RTC und einen fortschrittlichen 16-Bit-Timer. Der STM32WB09 verfügt über Standard- und erweiterte Kommunikationsschnittstellen: 1 x SPI-I2, LPUART, 1 x USART unterstützt ISO 7816 (SmartCard-Modus), IrDA- und Modbus-Modus, 2 x I2C unterstützt SMBus/PmBus.
Der STM32WB09 wird in einem Temperaturbereich von -40 °C bis +105 °C (+125 °C Sperrschicht) von einer Stromversorgung von 1,7 V bis 3,6 V betrieben. Ein umfassender Satz von Stromsparmodi erleichtert die Konfiguration von stromsparenden Applikationen. Der STM32WB09 enthält einen SNT-Abwärtswandler mit hohem Wirkungsgrad und eine integrierte PDR-Schaltung mit einem festen Schwellenwert, der ein Bauteil-Reset erzeugt, wenn die VDD unter 1,65 V fällt. Der STM32WB09 ist in VFQFPN32- und WLCSP36-Gehäusen erhältlich, die bis zu 20 I/Os unterstützen.
Merkmale
- Enthält die neueste patentierte Technologie von ST
- System-on-Chip für Bluetooth Low Energy, das die Bluetooth 5,4-Spezifikationen unterstützt
- Datenrate: 2 MBit/s
- Große Reichweite (kodierter PHY)
- Anzeigeerweiterungen
- Kanalauswahl-Algorithmus-Nr. 2
- GATT-Caching
- Funkpeilung – Angle of Arrival (AoA) / Angle of Departure (AoD)
- Gleichzeitige Verbindungen
- Gleichzeitige Funktionen auf Link-Ebene
- Niedrigenergie-Erweiterung der Datenpaketlängen
- Niedrigenergie-Ping-Verfahren
- Periodische Werbung und periodische Werbesynchronisation
- Regelmäßige Werbung mit Rückmeldung
- Auswahl der Werbecodierung
- Verschlüsselte Werbung
- Verbindungsorientierter Niedrigenergie-L2CAP-Kanal
- Stromsparende Leistungssteuerung und Pfadverlustüberwachung
- Niedrigenergie-Kanalklassifizierung
- Verbessertes ATT (EATT)
- Verbindungssubrating
- Isochrone Übertragungs-Datenströme (BIS)
- Isochrone Verbindungsströme (CIS)
- Funk
- RX-Empfindlichkeitsstufe von -97 dBm bei 1 MBit/s, -104 dBm bei 125 KBit/s (große Reichweite)
- Programmierbare Ausgangsleistung von bis zu +8 dBm (am Antennenanschluss) 128 physikalische Verbindungen
- Unterstützt Datenraten von 2 MBit/s, 1 MBit/s, 500 KBit/s und 125 KBit/s
- Integrierter Balun
- Unterstützung für externen PA und LNA
- BlueNRG Core-Coprozessor (DMA-basiert) für zeitkritische Bluetooth Low Energy-Betriebsabläufe
- Proprietärer Funktreiber von 2,4 GHz
- Geeignet für Systeme, welche die Einhaltung der folgenden Funkfrequenzregelungen erfordern: ETSI EN 300 328, EN 300 440, FCC CFR47 Teil 15, ARIB STD-T66
- Verfügbarer integrierter passiver Bauteil(IPD)-Begleitchip für eine optimierte Anpassung und Filterung
- Extrem stromsparende Funkleistung
- 12 nA im Abschaltmodus (1,8 V)
- 0,9 µA im Deepstop-Modus (mit externem LSE, Funkweckquelle und RAM erhalten, 1,8 V)
- 1,2 µA im Deepstop-Modus (mit internem LSI, Funk-Aktivierungsquelle und RAM erhalten, 1,8 V)
- Spitzenstrom von 4,9 mA in TX (bei 0 dBm, 3,3 V)
- Spitzenstrom von 3,6 mA in RX (bei Empfindlichkeitsstufe, 3,3 V)
- Leistungsstarke und extrem stromsparende ARM Cortex-M0+-32-Bit mit bis zu 64 MHz
- Betriebsversorgungsspannung von 1,7 V bis 3,6 V
- Verbesserte Sicherheitsmechanismen wie
- Flash-Lese-/Schreibschutz
- SWD-Deaktivierung
- Sicherer Bootloader
- Dynamischer Stromverbrauch von 14,47 ° A/MHz
- -40 °C bis 105 °C Temperaturbereich
- Versorgungs- und Reset-Management
- Hocheffizienter integrierter SMPS-Abwärtswandler mit intelligentem Bypass-Modus
- Extrem stromsparendes Power-on-Reset (POR) und Power-down-Reset (PDR)
- Programmierbarer Spannungsdetektor (PVD)
- Taktquellen
- 64 MHz PLL
- Ausfallsicherer 32-MHz-Quarzoszillator mit integrierten Trimmkondensatoren
- 32-kHz-Quarzoszillator
- Interner stromsparender 32-kHz-RO
- Nichtflüchtiger On-Chip-Flash-Speicher von 512 Kbyte mit Seitenschutz gegen R/W
- On-Chip-RAM von 64 Kbyte und 4 Kbyte PKA-RAM
- Einmalig programmierbarer (OTP) Speicherbereich von 1 Kbyte
- Embedded UART Bootloader
- Extrem stromsparende Modi mit oder ohne Timer und RAM-Erhaltung
- Quadraturdecoder
- Sicherheitsfunktionen
- Echter Zufallsnummerngenerator (TRNG), der mit der NIST-Sonderveröffentlichung 800B-90B konform ist
- AES-Hardware-Verschlüsselung (max.) 128-Bit-Sicherheits-Co-Prozessor
- Hardware-Public-Key-Beschleuniger (PKA)
- Kryptografische Algorithmen: RSA, Diffie-Helman, ECC über GF(p)
- CRC-Berechnungseinheit
- Eindeutige 64-Bit-ID
- System-Peripherie
- 1 x DMA-Controller mit 8 Kanälen, die ADC, SPI, I2C, USART, LPUART, Timer unterstützen
- 1 x SPI mit I2S-Schnittstelle gemultiplext
- 1 x I2C (SMBus/PmBus)
- 1 x LPUART (geringer Stromverbrauch)
- 1 x USART (ISO 7816 Smartcard-Modus, IrDA, SPI-Master und Modbus)
- 1 x unabhängige WDG
- 1 x Echtzeituhr (RTC)
- 1 x unabhängiger SysTick
- 1 x 16-Bit-Vierkanal-Universal-Timer
- 2 x 16-Bit-Zweikanal-Universal-Timer
- Infrarot-Schnittstelle
- Bis zu 20 schnelle V/Os
- Alle mit Aktivierungsfunktion
- Alle halten den Zustand im Stromsparmodus
- Alle sind 5-V-tolerant
- Analoge Peripherie
- 12-Bit-ADC mit 8 Eingangskanälen, bis zu 16-Bit mit einem Abwärtstaster
- Batterieüberwachung
- Analoger Watchdog
- Entwicklungs-Support
- Serial Wire Debug (SWD)
- 4 Breakpoints und zwei Watchpoints
- Alle Gehäuse sind ECOPACK2-konform
Applikationen
- Industrie
- Heim- und Industrieautomatisierung
- Bestandsverfolgung, ID-Standort und Echtzeit-Ortungssystem
- Smarte Beleuchtung
- Unterstütztes Wohnen
- Fitness, Wellness und Sport
- Gesundheitswesen und medizinische Geräte für Endverbraucher
- Sicherheit/Näherung
- Fernbedienung
- Mobiltelefon-Peripherie
- PC-Peripheriegeräte
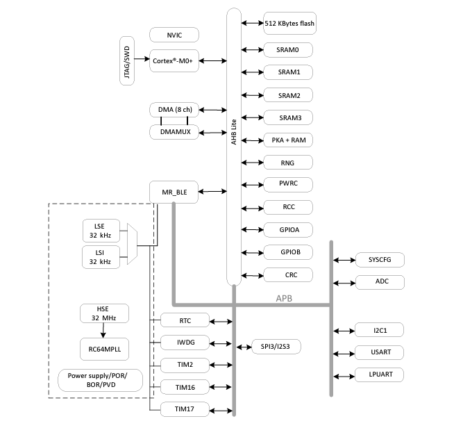
Schaltung
Blockdiagramm
