STMicroelectronics STM32WBA5 Multiprotokoll-Funk-MCUs
STM32WBA5 Multiprotokoll-Funk-MCUs von STMicroelectronics sind für das BLUETOOTH® Low Energy 5.4-Protokoll zertifiziert und ermöglichen es auch Entwicklern ohne Expertenkenntnisse, Bauteile einfach und kostengünstig mit drahtloser Kommunikation auszustatten. Basierend auf dem Arm® Cortex®-M33 Core mit TrustZone®-Technologie, bietet die STM32WBA Baureihe ein hohes Maß an Sicherheit, schützt Daten und IPs und verhindert Hacks oder Geräteklonen. Der STM32WBA Funk-MCU integriert 1 MByte Flash-Speicher und 128 KByte RAM, die in QFN48- und QFN32-Gehäusen untergebracht sind. Die STM32WBA-Bauelemente nutzen die STM32U5-Architektur und bieten eine Plattform mit extrem niedrigem Stromverbrauch sowie übernommene digitale/analoge Peripherien, die für viele Applikationen geeignet sind, von der Industrie über Smart Home bis hin zu Verbrauchern.Merkmale
- Enthält die neueste patentierte Technologie von ST
- Extrem stromsparender Funk
- 2,4 GHz
- HF-Transceiver unterstützt BLUETOOTH 5.3-Spezifikation
- Proprietäre Protokolle
- -96 dBm RX-Empfindlichkeit (Bluetooth Low Energy bei 1 Mbps)
- Programmierbare Ausgangsleistung mit bis zu +10 dBm mit 1 dB-Schritten
- Integrierter Balun zur Reduzierung der BOM
- Unterstützung für 1 Mbps
- Geeignet für Systeme, die die Einhaltung der Funkfrequenzvorschriften ETSI EN 300 328, EN 300 440, FCC CFR47 Teil 15 und ARIB STD-T66 erfordern.
- Plattform mit äußerst geringem Stromverbrauch
- Stromversorgung: 1,71 V bis 3,6 V
- -40 °C bis +85 °C Temperaturbereich
- Autonome Peripherie mit DMA, bis zu Stopp-1-Modus funktionsfähig.
- 140 nA Standby-Modus (16x Wakeup-Pins)
- 200 nA Standby-Modus mit RTC
- 2,4 µA Standby-Modus mit 64 KB SRAM
- 16,3 µA Stopp-Modus mit 64 KB SRAM
- 45 µA/MHz Betriebsmodus bei 3,3 V
- Funk: Rx 7,4 mA / Tx bei 0 dBm 10,6 mA
- Arm® Cortex® -M33 32-bit-CPU mit TrustMode®, MPU, DSP und FPU
- ART Accelerator™ mit 8 Kbyte Befehls-Cache ermöglicht eine Ausführung mit 0-Wait-Status vom Flash-Speicher (Frequenz bis zu 100 MHz, 150 DMIPS).
- Leistungsmanagement mit eingebettetem LDO-Regler zur Unterstützung der Spannungsskalierung.
- Benchmarks
- 1,5 DMIPS/MHz (Dhrystone 2.1)
- 407 CoreMark® (4,07 CoreMark/MHz)
- Taktgeber
- 32 MHz Quarzoszillator
- 32 kHz Quarzoszillator (LSE)
- Interner, stromsparender 32 kHz (±5 %) RC
- Interner, werksseitig getrimmter 16 MHz-RC (±1 %)
- PLL für Systemtakt und ADC
- Speicher
- 1 MB Flash-Speicher mit ECC, einschließlich 256 Kbyte mit 100x Zyklen
- 128 KB SRAM, einschließlich 64 KB mit Paritätsprüfung
- 512 Byte (32x Reihen) OTP
- Umfassende analoge Peripherien (unabhängige Versorgung), 12-bit-ADC 2,5 Msps mit Hardware-Überabtastung
- Kommunikationsperipherien
- 3x UARTs (ISO 7816, IrDA, Modem)
- 2x SPIs
- 2x I2C Fm+ (1 MBit/s), SMBus/PmBus®
- Systemperipherien
- Berührungssensor-Controller, bis zu 20x Sensoren, unterstützt Berührungstasten-, Linear- und Dreh-Berührungssensoren
- 1x erweiterter 16-bit-Motorsteuerungs-Timer
- 3x 16-bit-Timer
- 1x 32-bit-Timer
- 2x stromsparende 16-bit-Timer (im Stopp-Modus verfügbar)
- 2x Systick-Timer
- 2x Watchdogs
- 8-Kanal-DMA-Controller, der im Stopp-Modus funktionsfähig ist
- Sicherheit und Kryptografie
- Arm® TrustZone® und sichere I/Os, Speicher und Peripherien
- Flexibles Lebenszyklus-Schema mit RDP und passwortgeschütztem Debugging
- Root-of-trust dank einzigartigem Booteintrag und sicherer Ausblendungsschutz-Bereich (HDP)
- SFI (sichere Firmware-Installation) dank eingebettetem RSS (Root Secure Services)
- Sichere Datenspeicherung mit einzigartigem Root-Hardware-Schlüssel (RHUK)
- Unterstützt ein sicheres Firmware-Upgrade mit TF-M
- 2x AES-Coprozessoren, einschließlich 1x mit DPA-Widerstand
- Public-Key-Beschleuniger, DPA-beständig
- HASH-Hardware-Beschleuniger
- Echter Zufallsnummerngenerator, konform mit NIST SP800-90B
- Eindeutige 96-Bit-ID
- Aktive Manipulationsschutz
- CRC-Berechnungseinheit
- Bis zu 35x I/Os (mehrheitlich mit 5 V-Toleranz) mit Unterbrechungsfunktion
- Serial Wire Debug (SWD) und JTAG Entwicklungsunterstützung
- STM32WBA54/55
- Multiprotokoll-Flexibilität (BLE 5.4-zertifiziert, einschließlich Audio, Zigbee, OpenThread/Matter, BLE 802.15.4)
- SESIP Stufe 3 Zulassung
Applikationen
- Elektrowerkzeuge
- Wellness
- Fitness
- Medizin und Gesundheitswesen
- Heimautomatisierung
- Industrieapplikationen
- Smart Homes
Videos
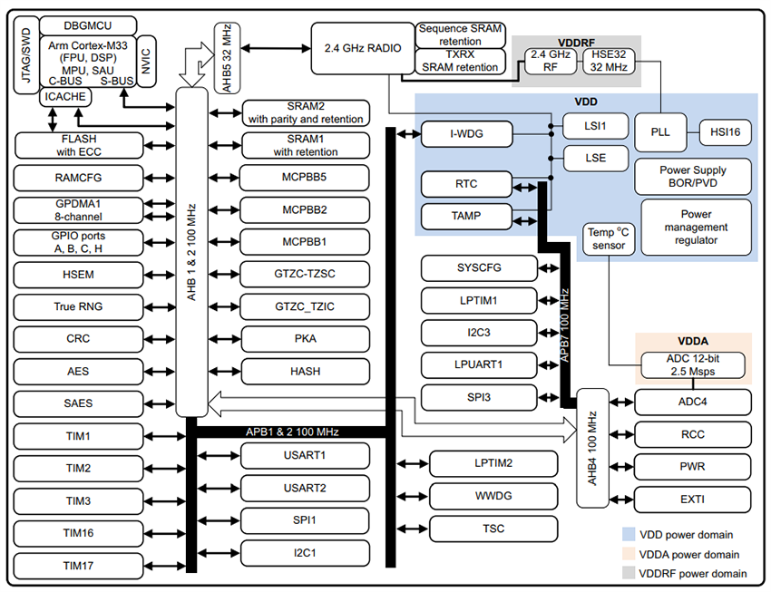
Blockdiagramm
Infografik
Inhalts-Stream
Veröffentlichungsdatum: 2023-02-23
| Aktualisiert: 2026-02-17
