STMicroelectronics L6226Q DMOS Dual Full-Bridge Drivers
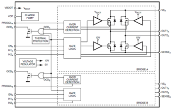
STMicroelectronics DMOS Dual Full-Bridge Drivers are designed for motor control applications and are realized in BCDmultipower technology, which combines isolated DMOS power transistors with CMOS and bipolar circuits on the same chip. These DMOS Dual Full-Bridge Drivers include two independent constant OFF time PWM current controllers that perform the chopping regulation. STMicroelectronics DMOS Dual Full-Bridge Drivers features thermal shutdown and a non-dissipative overcurrent detection on the high side power MOSFETs.Features
- Operating supply voltage from 8 to 52V
- Operating frequency up to 100kHz
- Cross-conduction protection
- Thermal shutdown
- Undervoltage lockout
- Integrated fast freewheeling diodes
Applications
- Bipolar stepper motor
- Dual or quad DC motor
Evaluation Board
Veröffentlichungsdatum: 2011-08-25
| Aktualisiert: 2022-03-11
