Texas Instruments ADC12DJ2700 12-Bit-HF-Abtast-Analog-Digital-Wandler
Texas Instruments ADC12DJ2700 12-Bit-HF-Abtast-Analog-Digital-Wandler (ADCs) mit zwei 2,7 GSPS-Kanälen und einem 5,4 GSPS-Kanal tasten Eingangsfrequenzen von DC bis über 10 GHz direkt ab. Im Zweikanal-Modus kann der ADC12DJ2700 bis zu 2.700 MSPS und im Einkanal-Modus bis zu 5.400 MSPS abtasten. Die Anforderungen von Applikationen mit sowohl hoher Kanalzahl als auch breiten Momentan-Signalbreiten werden durch die Entwicklung einer flexiblen Software mit programmierbaren Abstrichen bei der Anzahl der Kanäle sowie der Nyquist-Bandbreite mühelos erfüllt. Eine direkte HF-Abtastung von L-Band, S-Band, C-Band und X-Band für frequenzagile Systeme wird über die Eingangsbandbreite mit voller Leistung (-3 dB) von 8 GHz mit nutzbaren Frequenzen, die den -3dB-Punkt sowohl in den Zweikanal- als auch Einkanal-Modi überschreiten, ermöglicht. Die Synchronisierung von mehreren Bauteilen wird mit der JESD204B Hochgeschwindigkeits-Ausgangsschnittstelle mit 16 serialisierten Spuren umgesetzt, die bis zu 12,8 GBit/s unterstützen und so konfiguriert werden, dass Bit-Raten und mehrere Spuren abgeglichen werden können. Der ACC12DJ2700 nutzt innovative Synchronisierungs-Funktionen, einschließlich einer störungsfreien Aperture-Verzögerung (TAD) und SYSREF-Windowing, um das Systemdesign für Phased-Array-Antennen und MIMO-Kommunikationen zu vereinfachen.Merkmale
- ADC-Core:
- 12-Bit-Auflösung
- Bis zu 5,4 GSPS im Einkanalmodus
- Bis zu 2,7 GSPS im Zweikanalmodus
- Angaben zur Leistungsfähigkeit:
- Grundrauschen (kein Signal, VFS = 1,0 VPP-DIFF):
- Zweikanalmodus: –151,6 dBFS/Hz
- Einkanalmodus: –153,8 dBFS/Hz
- HD2, HD3: –65 dBc bis zu 3 GHz
- Grundrauschen (kein Signal, VFS = 1,0 VPP-DIFF):
- Gepufferte analoge Eingänge mit VCMI von 0 V:
- Analoge Eingangsbandbreite (-3 dB): 8,0 GHz
- Nutzbarer Eingangsfrequenzbereich: >10 GHz
- Eingangsspannung bei Vollausschlag (VFS, Standard): 0,8 VPP
- Analoger Eingangsgleichtakt (VICM): 0 V
- Störungsfreie Aperture-Verzögerungsanpassung (TAD):
- Präzise Abtaststeuerung: 19 fs Schritt
- Vereinfacht die Synchronisation und Verschachtelung
- Temperatur- und Spannungs-unveränderliche Verzögerungen
- Benutzerfreundliche Synchronisierungsfunktionen
- Automatische SYSREF-Timing-Kalibrierung
- Zeitstempel für Abtast-Kennzeichnung
- JESD204B Serielle Daten-Schnittstelle:
- Unterstützt die Subklasse 0 und 1
- Maximale Spurrate: 12,8 GBit/s
- Bis zu 16 Spuren ermöglichen reduzierte Spurraten
- Digitale Abwärtswandler im Zweikanalmodus:
- Tatsächlicher Ausgang: DDC-Bypass oder 2x Dezimation
- Komplexe Ausgabe: 4x, 8x und 16x Dezimation
- Vier unabhängige 32-Bit-NCOs pro DDC
- Stromverbrauch: 2,7 W
- Stromversorgung: 1,1 V, 1,9 V
Applikationen
- Kommunikationstester (802.11ad, 5G)
- Satellitenkommunikation (SATCOM)
- Phased-Array-Radar, SIGINT und ELINT
- Synthetic Aperture Radar (SAR)
- Time-of-Flight- und LiDAR-Entfernungsmessung
- Oszilloskope und Breitband-Digitalisierer
- Mikrowellen-Backhaul
- Software-basierte HF-Abtast-Funkgeräte (SDR)
- Spektrometrie
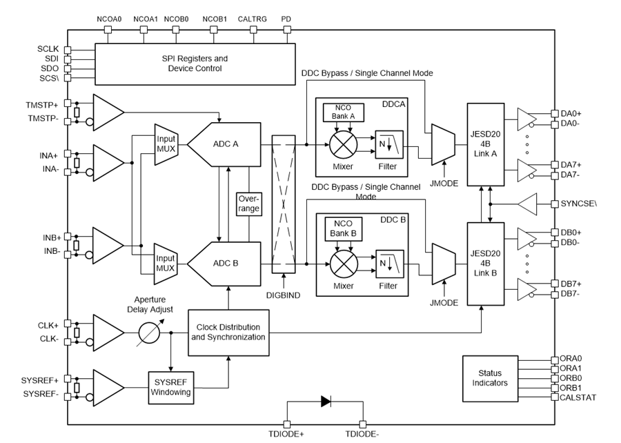
ADC12DJ2700 Blockdiagramm
Veröffentlichungsdatum: 2018-04-11
| Aktualisiert: 2022-11-23
