Texas Instruments ADC3244E 14-Bit-Analog-Digital-Wandler

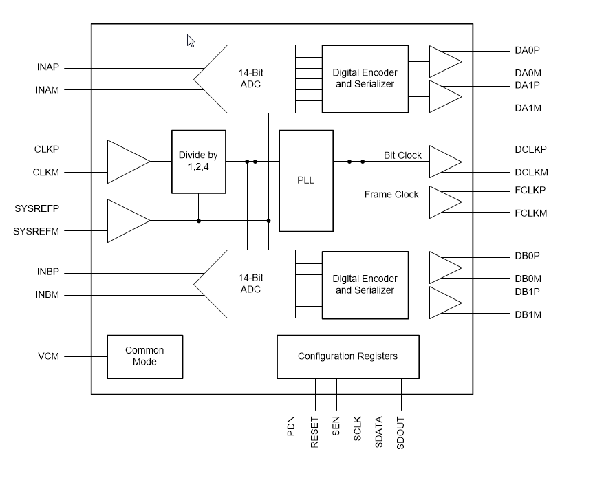
Die Texas Instruments ADC3244E 14-Bit-Analog-Digital-Wandler bieten eine hohe Linearität, einen extrem niedrigen Stromverbrauch, zwei Kanäle, 14-Bit und einen Bereich von 25 MSPS bis 125 MSPS. Der ADC3244E ist zur Unterstützung von anspruchsvollen, hohen Eingangsfrequenzsignalen mit großen Dynamikbereichsanforderungen ausgelegt. Der ADC3244E unterstützt ein serielles Low-Voltage Differential Signaling (LVDS), um die Anzahl der Schnittstellenleitungen zu senken und somit eine höhere Systemintegrationsdichte zu ermöglichen. Die Daten eines jeden ADCs sind serialisiert und werden über zwei LVDS-Paare ausgegeben. Das Bauteil enthält eine interne phasengesperrte Schleife (PLL), die den hereinkommenden ADC-Abtasttakt multipliziert, um den Bit-Takt abzuleiten, der verwendet wird, um die 14-Bit-Ausgangsdaten von jedem Kanal zu serialisieren. Der Rahmen, die Bit-Takte und seriellen Datenströme werden als LVDS-Ausgänge übertragen. Das Bauteil bietet einen Takteingangsteiler, der eine höhere Flexibilität für ein Systemtakt-Architekturdesign ermöglicht. Darüber hinaus ermöglicht der SYSREF-Eingang eine vollständige System-Synchronisierung.

Merkmale

  • Zweikanal
  • 14-Bit-Auflösung
  • Einzelversorgung: 1,8 V
  • Serielle LVDS-Schnittstelle (SLVDS)
  • Flexibler Eingangstakt-Buffer mit Teilen-durch-1, -2, -4
  • SRV = 72,4 dBFS, SFDR = 87 dBc bei fIN = 70 MHz
  • Extrem geringer Stromverbrauch: 116 mW/K bei 125 MSPS
  • Kanalisolierung: 105 dB
  • Interner Dither und Chopper
  • Unterstützt Multi-Chip-Synchronisierung
  • Pin-zu-Pin-kompatibel mit 12-Bit-Version
  • Gehäuse: VQFN-48 (7 mm × 7 mm)
  • Erweiterter Temperaturbereich: –50 °C bis +105 °C

Applikationen

  • Basisstationen für Multi-Träger-Multi-Modus-Mobilinfrastrukturen
  • Radar- und Smart-Antennen-Arrays
  • Munitionsleitsysteme
  • Motorsteuerungsrückmeldung
  • Netzwerk- und Vektoren-Analysatoren
  • Kommunikationstestgeräte
  • Zerstörungsfreie Prüfung
  • Mikrowellenempfänger
  • Software-basierte Funkgeräte (SDRs)
  • Quadratur- und Mehrfach-Funkempfänger
  • Tragbare Funk- und Messgeräte

Blockdiagramm

Blockdiagramm - Texas Instruments ADC3244E 14-Bit-Analog-Digital-Wandler
Veröffentlichungsdatum: 2019-03-20 | Aktualisiert: 2023-08-07