Texas Instruments ADC32J2x 12-Bit Analog-Digital-Wandler (ADC)
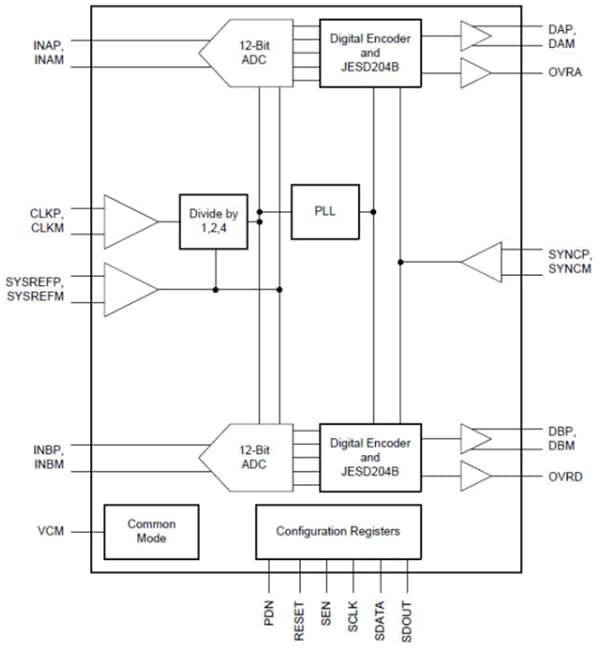
Die Texas Instruments ADC32J2x 12-Bit-Analog-Digital-Wandler (ADC) gehören zur Zweikanal-, 50-MSPS- bis 160-MSPS-ADC-Familie mit hoher Linearität und sehr niedrigem Energieverbrauch. Diese Geräte sind speziell entwickelt, um anspruchsvolle, hohe Eingangsfrequenzsignale mit großen Dynamikbereich zu unterstützen. Ein Takteingangsteiler ermöglicht höhere Flexibilität für ein Systemtakt-Architekturdesign. Die Geräte unterstützen JESD204B Schnittstellen, um die Anzahl der Schnittstellenleitungen zu reduzieren. Dies ermöglicht eine hohe Systemintegrationsdichte. Die JESD204B-Schnittstelle ist eine serielle Schnittstelle, an der die Daten eines jeden ADC serialisiert und über nur ein differentielles Paar ausgegeben werden. Eine interne phasengesperrte Schleife (PLL) multipliziert den eingehenden ADC-Abtasttakt mit 20, um den Bit-Takt abzuleiten, der verwendet wird, um die 14-Bit-Daten von jedem Kanal zu serialisieren. Die Geräte unterstützen die Subklasse 1 mit Schnittstellengeschwindigkeiten von bis zu 3,2 Gbps.Merkmale
- Dual channel
- 12-bit resolution
- Single 1.8V supply
- Flexible input clock buffer with divide-by-1, 2, and 4
- SNR = 70.3dBFS, SFDR = 88dBc at fIN = 70MHz
- Ultra-low power consumption:
- 227mW/Ch @ 160MSPS
- Channel isolation: 105dB
- Internal dither
- JESD204B serial interface:
- Subclass 0, 1, and 2 compliant up to 3.2Gbps
- Supports one lane per ADC up to 160MSPS
- Support for multichip synchronization
- Pin-to-Pin compatible with 14-bit version (ADC32J4X)
- VQFN-48 (7mm x 7mm) package
Applikationen
- Multi-carrier, multi-mode cellular base stations
- Radar and smart antenna arrays
- Munitions guidance
- Motor control feedback
- Network and vector analyzers
- Communications test equipment
- Nondestructive testing
- Microwave receivers
- Software Defined Radios (SDRS)
- Quadrature and diversity radio receivers
Functional Block Diagram
TI Reference Design Tools
Veröffentlichungsdatum: 2015-09-11
| Aktualisiert: 2025-06-25
