Texas Instruments ADC32J4x 14-Bit Analog-Digital-Wandler (ADC)

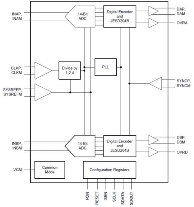
Die Texas Instruments ADC32J4x 14-Bit Analog-Digital-Wandler (ADC) gehören zur 50-MSPS- bis 160-MSPS Zweikanal-ADC-Familie mit hoher Linearität und sehr niedrigem Energieverbrauch. Diese Geräte sind speziell entwickelt, um anspruchsvolle, hohe Eingangsfrequenzsignale mit großen Dynamikbereich zu unterstützen. Ein Takteingangsteiler ermöglicht höhere Flexibilität für ein Systemtakt-Architekturdesign. Die Geräte unterstützen JESD204B Schnittstellen, um die Anzahl der Schnittstellenleitungen zu reduzieren. Dies ermöglicht eine hohe Systemintegrationsdichte. Die JESD204B-Schnittstelle ist eine serielle Schnittstelle, an der die Daten eines jeden ADC serialisiert und über nur ein differentielles Paar ausgegeben werden. Eine interne phasengesperrte Schleife (PLL) multipliziert den hereinkommenden ADC-Abtasttakt mit 20, um den Bit-Takt abzuleiten, der verwendet wird, um die 14-Bit-Daten von jedem Kanal zu serialisieren. Die Geräte unterstützen die Subklasse 1 mit Schnittstellengeschwindigkeiten von bis zu 3,2 Gbps.

Merkmale

  • Dual channel
  • 14-bit resolution
  • 1.8V single supply voltage
  • Flexible input clock buffer with divide-by-1, 2, and 4
  • SNR = 72.2dBFS, SFDR = 87dBc @ fIN = 70MHz
  • Ultralow power consumption:
    • 227mw/ch @ 160MSPS
  • Channel isolation: 105dB
  • Internal dither
  • JESD204B serial interface:
    • Subclass 0, 1, and 2 compliant up to 3.2Gbps
    • Supports one lane per ADC up to 160MSPS
  • Support for multichip synchronization
  • Pin-to-pin compatible with the 12-bit version (ADC32J2x)
  • VQFN-48 (7mm x 7mm) package

Applikationen

  • Multi-carrier, multi-mode cellular base stations
  • Radar and smart antenna arrays
  • Munitions guidance
  • Motor control feedback
  • Network and vector analyzers
  • Communications test equipment
  • Nondestructive testing
  • Microwave receivers
  • Software Defined Radios (SDRS)
  • Quadrature and diversity radio receivers

ADC32J4x Block Diagram

Blockdiagramm - Texas Instruments ADC32J4x 14-Bit Analog-Digital-Wandler (ADC)

TI Reference Designs Tool

TI Referenzdesigns - Texas Instruments ADC32J4x 14-Bit Analog-Digital-Wandler (ADC)
Veröffentlichungsdatum: 2015-09-14 | Aktualisiert: 2025-06-25