Texas Instruments ADS131A0x Analoge Front-End-ICs
Die Texas Instruments ADS131A0x analogen Front-End-ICs sind simultan abtastende, 24-Bit-, Delta-Sigma-(ΔΣ)-, Analog-Digital-Wandler (ADCs) mit 2 oder 4 Kanälen. Der große Dynamikbereich, skalierbare Datenraten und interne Fehlerüberwachung machen diese Geräte ideal für die Energieüberwachung, Schutz- und Steuerungsanwendungen. Die ADC-Eingänge können unabhängig voneinander und direkt mit einem Widerstandsteiler-Netzwerk, einen Transformator zur Spannungs- oder Strommessung oder einer Rogowski-Spule zur Strommessung verbunden werden. Flexible Stromversorgungsoptionen, einschließlich einer internen negativen Ladungspumpe, sind verfügbar, um die effektive Anzahl von Bits (ENOB) für Anwendungen mit hohem Dynamikbereich zu maximieren. Diese Geräte unterstützen Datenraten von bis zu 128kSPS. Die kompletten analogen Front-End-(AFE)-Lösungen sind in einem 32-poligen TQFP-Gehäuse verpackt und sind über den industriellen Temperaturbereich von -40°C bis +125°C spezifiziert.Merkmale
- 2 or 4 simultaneously-sampling differential inputs
- Data rates up to 128kSPS
- Noise performance
- Single-channel accuracy better than 0.1% at 10,000:1 dynamic range
- ENOB (19.1 bits at 8kSPS)
- THD (–100dB at 50Hz and 60Hz)
- An integrated negative charge pump
- Flexible analog power-supply operation
- 3.0V to 3.45V using a negative charge pump
- 3.3V to 5.5V unipolar aupply
- ±2.5V bipolar supply
- 1.65V to 3.6V digital supply
- 4ppm/°C low-drift internal voltage reference
- ADC self-checks
- Cyclic Redundancy Check (CRC) and hamming code error correction on communications
- Multiple SPI™ data interface modes
- Asynchronous interrupt
- Synchronous master and slave
- 32-pin TQFP package
- Operating temperature range
- –40°C to +125°C
Applikationen
- Industrial power applications
- Single-phase and polyphase energy monitoring
- Protection relays, circuit breakers
- Power quality meters
- Data acquisition systems
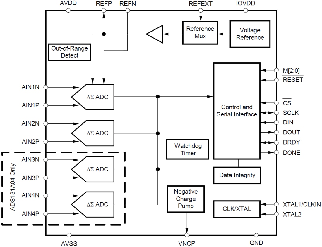
Functional Block Diagram
Veröffentlichungsdatum: 2016-05-24
| Aktualisiert: 2022-03-11
