Texas Instruments AFEx32A3W Smart-Analog-Frontend für Stromquelle
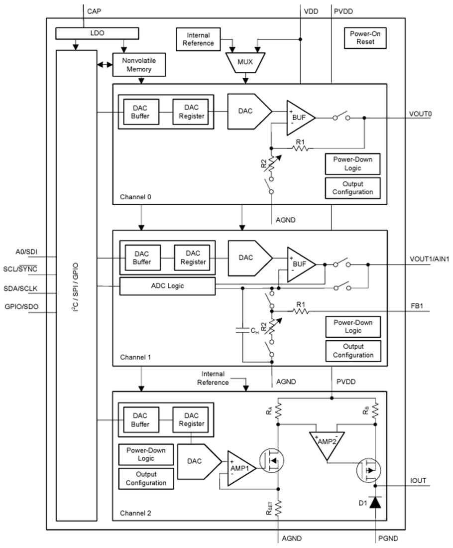
Das Texas Instruments AFEx32A3W Smart-Analog-Frontend (AFE) für Stromquelle ist ein gepuffertes Dreikanal-Smart-AFE mit Spannungsausgang, Stromausgang und ADC-Eingang. Die AFEx32A3W Bauteile unterstützen eine Stromquelle, die für die lineare Steuerung von Laserdioden und Miniaturmotoren verwendet werden kann. Diese Bauteile unterstützen den Hi-Z-Power-Down-Modus und den Hi-Z-Ausgang während der Ausschaltbedingungen für die Spannungsausgabe. Kanal 1 kann als ADC, DAC mit Spannungsausgang oder Komparator konfiguriert werden. Die DACs mit Spannungsausgang bieten eine Force-Sense-Option zur Verwendung als programmierbarer Komparator und Stromsenke. Die Multifunktions-GPIO, die Funktionsgenerierung und der programmierbare nichtflüchtige Speicher (NVM) ermöglichen diese intelligente AFEs für prozessorlose Anwendungen und die Wiederverwendung von Designs. Diese Geräte erkennen automatisch SPI oder I2C Schnittstellen und enthalten eine interne Referenz.Die Funktionen des AFEx32A3W von Texas Instruments in Verbindung mit dem winzigen Gehäuse und dem geringen Stromverbrauch machen diese Smart-AFEs zu einer ausgezeichneten Wahl für Applikationen wie die Leistungssteuerung von Laserdioden und Electro-Absorption-Modulated Laser (EML) in passiven optischen Netzwerken (PON) und anderen Industrielaserapplikationen.
Merkmale
- Stromquellen-DAC
- 1 LSB DNL
- Zwei Bereiche (300 mA und 220 mA)
- Spannungsreserve: 770 mV
- Zwei DACs mit Spannungsausgang
- 1 LSB DNL
- Gains von 1×, 1,5×, 2×, 3× und 4×
- ADC-Eingang am Kanal 1
- Programmierbarer Komparatormodus auf Kanal 1
- Ausgang mit hoher Impedanz, wenn VDD ausgeschaltet ist
- Hochohmige und resistive Pull-down-Abschaltmodi
- 50 MHz SPI-kompatible Schnittstelle
- Automatische Erkennung von I2C oder SPI unter 1,62 V VIH mit VDD = 5,5 V
- Mehrzweck-Eingang/Ausgang (GPIO), konfigurierbar als mehrere Funktionen
- Vordefinierte Wellenformerzeugung: Sinus, Kosinus, dreieckig, Sägezahn
- Benutzerprogrammierbarer nichtflüchtiger Speicher (NVM)
- Interne oder Stromversorgung als Referenz
- Umfangreicher Betriebsbereich
- 3 V bis 5,5 V Stromversorgung
- Temperatur: -40 ˚C bis +125 ˚C
Applikationen
- Optisches Modul
- Laser
Funktionales Blockdiagramm
Veröffentlichungsdatum: 2024-03-13
| Aktualisiert: 2024-03-21
