Texas Instruments AWR1443 76-GHz- bis 81-GHz-Automotive-Radarsensor

Texas Instruments AWR1443 76-GHz- bis 81-GHz-Einzelchip-Automotive-Radarsensoren bieten einen integrierten Einzelchip-FMCW mit bisher unerreichten Stufen von Integration in einer extrem kleinen Baugröße. Das Bauteil wurde mit dem stromsparenden 45-nm-RFCMOS-Verfahren von TI hergestellt und enthält einen integrierten ARM R4F-Prozessor und einen Hardware-Beschleuniger für die Radardatenverarbeitung. Der AWR1443 ist eine ideale Lösung für stromsparende, selbstüberwachte, extrem präzise Radarsysteme im Automotive-Bereich. Der AWR1443 ermöglicht eine monolithische Implementierung eines 3TX-, 4RX-Systems mit eingebauten PLL- und A2D-Wandlern. Einfache Programmiermodelländerungen ermöglichen die Implementierung von zahlreichen Sensoren (Kurz-, Mittel- und Langstrecken) mit der Möglichkeit einer dynamischen Rekonfiguration für die Implementierung eines Multimodus-Sensors. Das Bauteil wird als vollständige Plattformlösung bereitgestellt, einschließlich Referenzhardwaredesign, Softwaretreiber, Beispielkonfigurationen, API-Leitfaden und Benutzerdokumentation. Der AWR1443 kann als 77-GHz-Radar-on-Chip-Lösung für Radarapplikationen auf Einstiegsstufe betrachtet werden.

Merkmale

  • FMCW-Transceiver
    • Integrierte PLL, Sender, Empfänger, Basisband und A2D
    • Reichweite von 76 GHz bis 81 GHz mit 4-GHz-Bandbreite verfügbar
    • Vier Empfangskanäle
    • Drei Sendekanäle (zwei können gleichzeitig verwendet werden)
    • Sehr genaue Chirp-Engine basierend auf Fraktional-N-PLL
    • TX-Leistung: 12 dBm
    • RX-Rauschfaktor:
      • 14 dB (76 bis 77 GHz)
      • 15 dB (77 bis 81 GHz)
    • Phasenrauschen bei 1 MHz:
      • –94 dBc/Hz (76 bis 77 GHz)
      • –91 dBc/Hz (77 bis 81 GHz)
  • Programmierbarer On-Chip-Core für embedded Benutzerapplikation
    • Integrierter Cortex®-R4F-Mikrocontroller, bei 200 MHz getaktet
    • Der On-Chip-Bootloader unterstützt einen autonomen Modus (Ladenutzerapplikation von QSPI-Flash-Speicher)
    • Integrierte Peripherie
      • Interne Speicher mit ECC
      • Radar-Hardware-Beschleuniger (FFT, Log-Magnitudeberechnungen und weitere)
      • Integrierte Timer (Watchdog und bis zu vier 32-Bit- oder zwei 64-Bit-Timer)
      • I2C (Master- und Slave-Modi unterstützt)
      • Zwei SPI-Anschlüsse
      • CAN-Anschluss
      • Bis zu sechs Universal-ADC-Anschlüsse
  • Hochgeschwindigkeits-Datenschnittstelle zur Unterstützung von verteilten Applikationen (nämlich Zwischendaten)
  • Host-Schnittstelle
    • Steuerschnittstelle mit externem Prozessor über SPI
    • Interrupts für eine Störungsmeldung
  • AEC-Q100-qualifiziert
  • AWR1443 Erweiterte Funktionen
    • Integrierte Selbstüberwachung ohne Einbeziehung des Host-Prozessors
    • Komplexe Basisband-Architektur
    • Integrierte Interferenzerkennungsfähigkeit
  • Leistungsmanagement
    • Eingebautes LDO-Netzwerk für verbesserte PSRR
    • E/As-Support-Dual-Spannung 3,3 V/1,8 V
  • Taktquelle
    • Unterstützt einen extern angetriebenen Takt (Quadratisch/Sinus) bei 40 MHz
    • Unterstützt eine Quarzverbindung mit Lastkondensator von 40 MHz
  • Einfaches Hardware-Design
    • 0,65 mm Rastermaß, 161-polig 10,4 mm × 10,4 mm Flip-Chip-BGA-Gehäuse für die einfache Montage und kostengünstiges PCB-Design
    • Kleine Lösungsgröße
  • Unterstützt Automotive-Betriebstemperaturbereich
  • Integrierte Kalibrierung und Selbsttest
    • ARM® Cortex®-R4F-basiertes Funkfernsteuerungssystem
    • Integrierte Firmware (ROM)
    • Selbstkalibrierungssystem über Frequenz und Temperatur

Applikationen

  • Näherungsmessung
  • Einparkhilfe
  • Präsenzkontrolle
  • Einfache Gestenerkennung
  • Autotüröffner-Applikationen

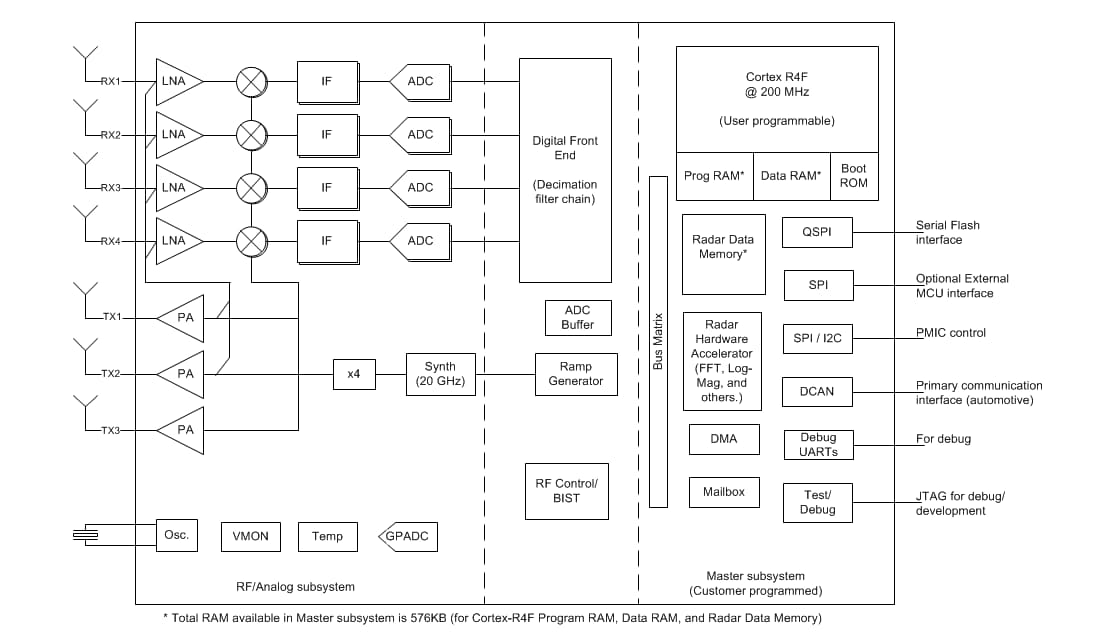
Blockdiagramm

Blockdiagramm - Texas Instruments AWR1443 76-GHz- bis 81-GHz-Automotive-Radarsensor
Veröffentlichungsdatum: 2018-12-17 | Aktualisiert: 2023-07-24