Texas Instruments AWRL6432-Q1 Automotive mmWave-Radarsensoren

Die AWRL6432-Q1 Automotive mmWave Radar- Sensoren von Texas Instruments   sind integrierte Einzelchip-mmWave-Sensoren, die auf FMCW-Radartechnologie basieren. Diese Radarsensoren  sind nach AEC-Q100 für den Einsatz im Automobilbereich qualifiziert und arbeiten mit einer Abdeckung von 57 GHz bis 63,9 GHz und einer kontinuierlichen Bandbreite von 7 GHz . Die AWRL6432-Q1 Radarsensoren sind in vier Leistungsbereiche unterteilt: HF/Analog-Subsystem, Front-End Controller Sub-System (FECSS), Application Sub-System (APPSS) und Hardware Beschleuniger (HWA). Diese Radarsensoren verfügen über eine integrierte FirmWare und ein eingebautes LDO-Netzwerk für ein verbessertes PSRR. Die Radarsensoren unterstützen mehrere Stromsparmodi, wie den Leerlaufmodus und den Tiefschlafmodus. Der stromsparende Schlafmodus wird durch Takt-Gating und durch Abschalten der internen IP-Blöcke des Geräts erreicht. Typische Anwendungen sind die Innenraumüberwachung, die Anwesenheitserkennung von Kindern, die Anwesenheitserkennung, die Erinnerung an das Anlegen des Sicherheitsgurtes, die Erkennung von Eindringlingen, die gestenbasierte HMI und die Überwachung der Vitalparameter des Fahrers.

Merkmale

  • AEC Q-100-qualifiziert
  • FMCW-Transceiver:
    • PLL, Sender, Empfänger, Basisband und ADC integriert
    • 57 GHz bis 64 GHz Abdeckung mit 7 GHz kontinuierlicher Bandbreite
    • 3 Empfangskanäle und 2 Sendekanäle
    • Bis zu 25 m typische Reichweite
    • 11 dBm typische Ausgangsleistung pro Tx
    • 11 dB typischer Rauschfaktor
    • -89dBc/Hz typisches Phasenrauschen bei 1 MHz
    • FMCW-Betrieb
    • 5 MHz ZF-Bandbreite, nur echte Rx-Kanäle
    • Ultra-genaue Chirp-Engine auf Basis einer Fraktional-N-PLL
    • Binärer Phasenschieber pro Sender
  • Verarbeitungselemente
    • Arm® M4F® -Core mit einfach präziser FPU (160 MHz)
    • Radar-Hardware-Beschleuniger (HWA 1,2) für FFT-, Log-Magnitude- und CFAR-Operationen (80 MHz)
  • Leistungsmanagement:
    • 1,8 V und 3,3 V IO-Unterstützung
    • Eingebautes LDO-Netzwerk für verbesserte PSRR
    • BOM-optimierte und energieoptimierte Modi
    • Eine oder zwei Stromschienen für 1,8 V IO-Modus, zwei oder drei Stromschienen für 3,3 V IO-Modus
  • Host-Schnittstelle:
    • UART
    • CAN-FD
    • SPI
    • LIN
    • Radar Data Interface (RDIF) für die Erfassung von ADC-Rohproben
  • Integrierte Kalibrierung und Selbsttest:
    • Integrierte Firmware (ROM)
    • Eigenständiges On-Chip-Kalibrierungssystem
  • Andere für die Benutzeranwendung verfügbare Schnittstellen:
    • QSPI
    • I2C
    • JTAG
    • GPIOs
    • PWM-Schnittstelle
  • Interner Speicher
    • 1 MB On-Chip-RAM
    • Konfigurierbarer gemeinsamer L3-Speicher für Radar-Würfel
    • Daten- und Code-RAM von (512 kB/640 kB/768 kB)
  • Für die funktionale Sicherheit ausgelegt:
    • Entwickelte Anwendungen für funktionale Sicherheit
    • Hardware-Integrität bis zu ASIL-B ausgelegt
  • Unterstützt mehrere Stromsparmodi:
    • Leerlaufmodus und Tiefschlafmodus
  • FCCSP-Paket:
    • 12 x 12 BGA-Raster
    • 102 BGA-Kugeln
    • 6,45 mm x 6,45 mm Packungsgröße
  • Taktquelle:
    • 40-MHz-Quarz für den primären Taktgeber
    • Unterstützt einen extern gesteuerten Taktgeber (Square/Sine) bei 40 MHz
    • Interner 32-kHz-Oszillator für stromsparenden Betrieb
  • -40 °C bis 125 °C Sperrschicht-Betriebstemperatur

Applikationen

  • Innenraum-Erkennung
  • Präsenzerkennung von Kindern
  • Präsenzerkennung
  • Sicherheitsgurtkontrolle
  • Eindringlingserkennung
  • Gesten-basierte HMI
  • Überwachung der Vitalparameter des Fahrers

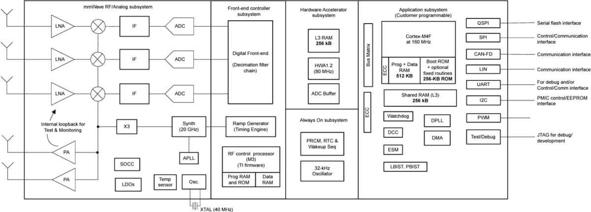
Blockdiagramm

Blockdiagramm - Texas Instruments AWRL6432-Q1 Automotive mmWave-Radarsensoren
Veröffentlichungsdatum: 2024-04-19 | Aktualisiert: 2025-05-08