Texas Instruments bq76905 Stromsparendes Monitor- und Schutzsystem
Das stromsparende Überwachungs- und Schutzsystem BQ76905 von Texas Instruments bietet hochintegrierte, hochpräzise Batterieüberwachung und -schutz für Li-Ion-, Li-Polymer-, LiFePO4 (LFP)- und LTO-Akkus der 2er-Serie bis 5er-Serie Jedes Gerät verfügt über ein hochpräzises Überwachungssystem, ein hochgradig konfigurierbares Schutzsubsystem und Unterstützung für den hostgesteuerten Zellenausgleich. Die Integration umfasst NFET-Treiber mit Low-Side-Schutz, einen programmierbaren LDO für die externe Systemverwendung und eine I2C-Host-Kommunikationsschnittstelle, die bis zu 400 kHz Betrieb mit optionalem CRC unterstützt. Der bq76905 von Texas Instruments ist in einem 20-Pin-QFN-Gehäuse erhältlich.Merkmale
- Batterieüberwachungsfunktion für Zellen der Serien 2 bis 5
- Integrierte Low-Side-Treiber für NFET-Schutz mit optionaler autonomer Wiederherstellung
- Das umfangreiche Schutzpaket umfasst Spannung, Temperatur, Strom und interne Diagnose
- 16-Bit-Delta-Sigma-Spannungs-ADC
- Hochpräzise Zellspannungsmessung von 4 mV (typisch)
- Ein dedizierter simultaner 16- und 24-Bit-Delta-Sigma-Coulomb-Zähler-ADC
- Hochpräzise Strommessung mit geringem Eingangs-Offset-Fehler
- Anwendungen mit weitläufigen Strombereichen (±200 mV Messbereich über den Messwiderstand)
- 48-Bit-Integrator für akkumulierte Ladungen mit Timer
- Mehrere Leistungsmodi (typische Betriebsbereichsbedingungen des Akkupacks)
- NORMAL-Modus: 32 µA bis 175 µA
- SLEEP-Modus: 6 µA
- DEEPSLEEP-Modus: 2,7 µA
- SHUTDOWN-Modus: < 1 µA
- Hostgesteuerter Zellausgleich
- Hohe Spannungstoleranz von 45 V beim Zellenanschluss und Auswahl zusätzlicher Pins
- Unterstützung für die Temperaturmessung mithilfe eines internen Sensors und eines externen Thermistors
- Integrierter, einmalig programmierbarer (OTP) Speicher für Geräteeinstellungen, programmiert von TI
- Serielle Kommunikation über 400 kHz I2C mit optionaler CRC-Unterstützung
- Programmierbarer LDO für externe Systemnutzung
- 20-poliges QFN-Gehäuse (RGR).
Applikationen
- Kabellose Elektrowerkzeuge und Gartengeräte
- Staubsauger
- Nicht-militärische Drohnen
- Andere Industriebatterien (Serie 2 bis Serie 5)
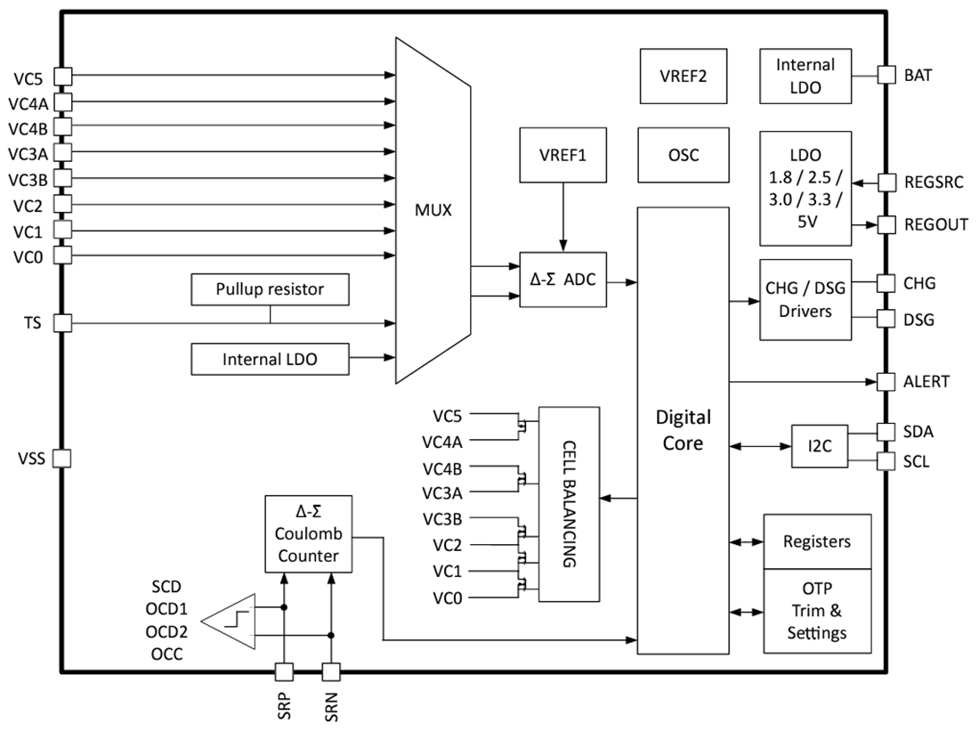
Funktionales Blockdiagramm
Veröffentlichungsdatum: 2024-02-05
| Aktualisiert: 2024-02-12
