Texas Instruments DACx1402 Zweikanal-Digital-Analog-Wandler
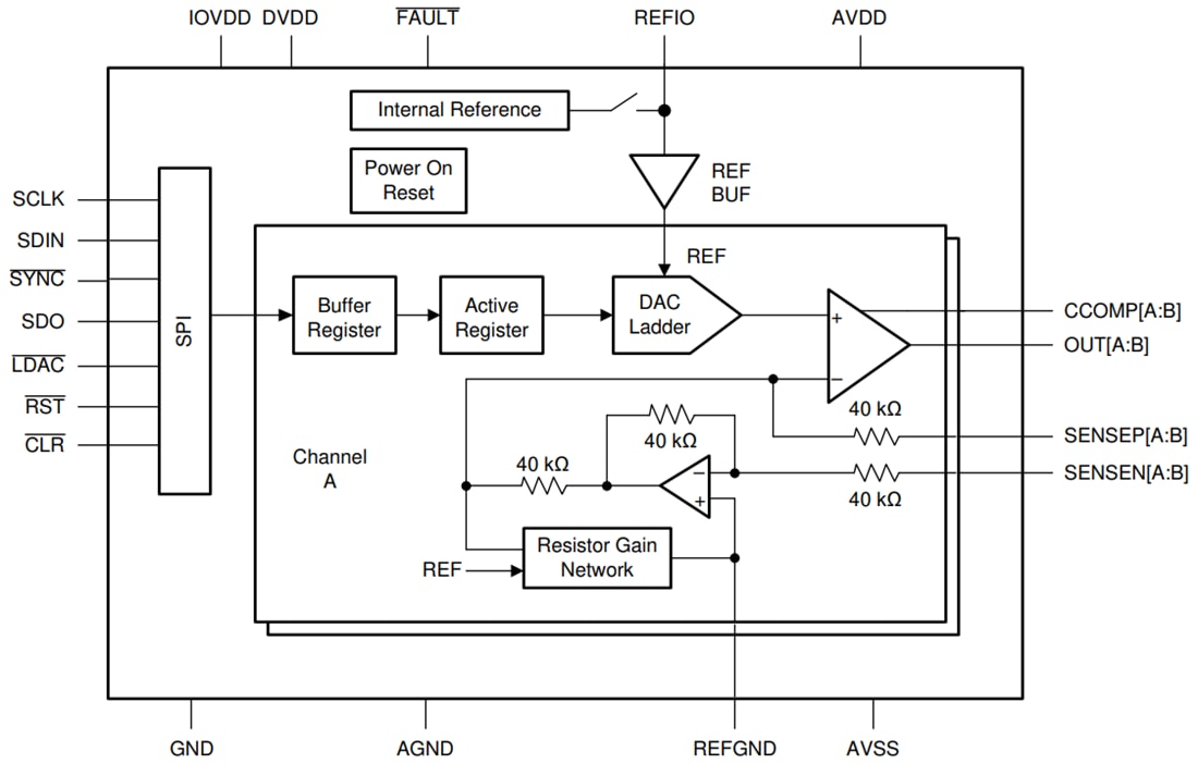
Der DACx1402 Zweikanal-Digital-Analog-Wandler (DAC) von Texas Instruments ist ein gepufferter 16-Bit- (DAC81402) oder 12-Bit-Zweikanal-DAC (DAC61402) mit Hochspannungsausgang. Das Bauteil verfügt über eine interne Referenz mit geringer Drift von 2,5 V, die eine externe Präzisionsreferenz in den meisten Applikationen überflüssig macht. Das Bauteil ist monoton spezifiziert und bietet eine hohe Linearität von ±1 LSB INL. Darüber hinaus verfügt das Bauteil über Pro-Kanal-Sensorpins, die IR-Abfälle eliminieren und Erdungsprellen von bis zu ±12 V abtasten.Eine vom Benutzer wählbare Ausgangskonfiguration ermöglicht bipolare Ausgangsspannungen mit vollem Maßstab: ±20 V, ±10 V und ±5 V und unipolare Ausgangsspannungen mit vollem Maßstab: 40 V, 20 V, 10 V und 5 V. Der Full Scale Output-Bereich für jeden DAC-Kanal ist unabhängig programmierbar. Die integrierten DAC-Ausgangsbuffer können bis zu 25 mA ableiten oder beziehen und beschränken dadurch die Notwendigkeit von zusätzlichen Operationsverstärkern.
Der DACx1402 von Texas Instruments verfügt über eine Power-On-Reset-Schaltung, welche die DAC-Ausgänge beim Einschalten mit der Masse verbindet. Die Ausgänge bleiben in diesem Modus, bis das Bauteil korrekt konfiguriert ist. Das Bauteil verfügt über zusätzliche Zuverlässigkeitsmerkmale wie eine CRC-Fehlerprüfung, eine Kurzschluss-Sicherung und einen thermischen Alarm. Die Kommunikation mit dem Bauteil erfolgt über eine serielle 4-Draht-Schnittstelle, die den Betrieb von 1,7 V bis 5,5 V unterstützt.
Merkmale
- Leistungsfähigkeit
- Bei einer 16-Bit- oder 12-Bit-Auflösung monotonisch spezifiziert
- INL: ±1 LSB maximal bei 16-Bit- oder 12-Bit-Auflösung
- TUE: ±0,05 % FSR (max.)
- Integrierter Ausgangsbuffer
- Full Scale Output-Spannung (±5 V, ±10 V, ±20 V, 5 V, 10 V, 20 V, 40 V)
- Hohe Antriebsfähigkeit: ±15 mA
- Pro-Kanal-Sensorpins
- Integrierte 2,5-V-Präzisionsreferenz
- Anfängliche Genauigkeit: ±2,5 mV (max.)
- Niedrige Drift: ±10 ppm/°C (max.)
- Zuverlässigkeitsfunktionen
- CRC-Fehlerprüfung
- Kurzschluss-Strombegrenzung
- Fehlerpin
- 50 MHz SPI-kompatible serielle Schnittstelle
- 4-Draht-Modus, Betrieb bei 1,7 V bis 5,5 V
- Rücklesbarkeit und Verkettungsvorgänge
- Temperaturbereich: -40 °C bis +125 °C
- 32-Pin-QFN-Gehäuse von 5 mm x 5 mm
Applikationen
- Servoantrieb-Steuermodul
- Analogausgangsmodul
- Labor- und Feldmessgeräte
- Datenerfassung (DAQ)
- Halbleiter-Prüfung
Funktionales Blockdiagramm
