Texas Instruments DLP160AP Digitales QnHD-DLP®-Mikrospiegelbauteil von 0,16 Zoll (4,06 mm)
Das Texas Instruments DLP160AP digitale QnHD-DLP® -DMD ist ein digital gesteuertes MOEMS (Micro-Opto-Electromechanical System) zur räumlichen Lichtmodulation (Spatial Light Modulator, SLM) von 0,16 Zoll (4,06 mm). Das DLP160AP digitale Mikrospiegelbauteil (DMD) kombiniert mit einem geeigneten optischen System zeigt ein scharfes und hochwertiges Bild oder Video.Das DLP160AP von TI ist Teil des DLP160AP DMD und des DLPC3420 Regler-Chipsatzes. Der DLPA2000 oder DLPA2005 PMIC/LED-Treiber unterstützt ebenfalls den Chipsatz. Die kompakte Größe des DLP160AP eignet sich hervorragend für tragbare Ausrüstungen, bei denen eine kleine Baugröße und geringe Leistung unerlässlich sind. Das DLP160AP DMD liefert in Kombination mit dem Regler und dem PMIC/LED-Treiber eine komplette Systemlösung, das eine kleine Baugröße, geringe Leistung und eine hohe Bildqualität ermöglicht.
Merkmale
- Ultra-kompaktes diagonales Mikrospiegelarray von 0,16 Zoll (4,06 mm)
- Displays mit 320 × 180 Auflösung
- Mikrospiegelabstand: 5.4 µm
- Neigung des Mikrospiegels (relativ zu einer ebenen Fläche) von 17 °
- Seiten-Beleuchtung für optimalen Wirkungsgrad und optische Enginegröße
- Polarisierungsunabhängige Aluminium-Mikrospiegelfläche
- 4-Bit-SubLVDS-Eingangsdatenbus
- Dedizierter DLPC3420 Display-Regler und DLPA2000 oder DLPA2005 PMIC/LED-Treiber für einen zuverlässigen Betrieb
Applikationen
- Display:
- Ultra-mobile, extrem stromsparende Pico-Projektoren
- Telefon, Tablet und Laptop
- Smart Display
- Smart Home
- Augmented Reality-Brille
- Informationsdisplay
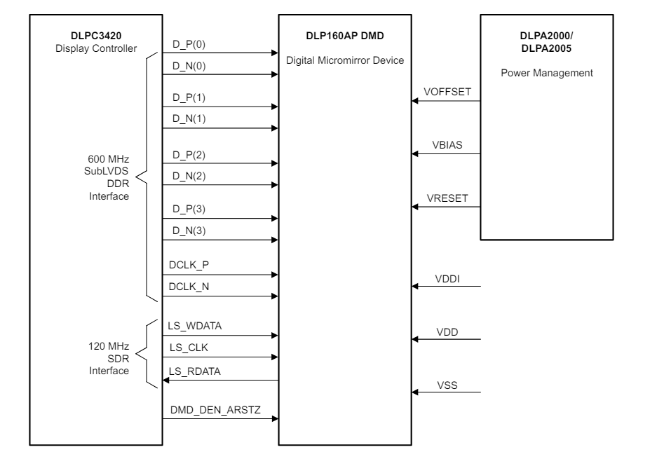
Vereinfachte Applikation
Blockdiagramm
Veröffentlichungsdatum: 2024-06-21
| Aktualisiert: 2024-07-10
