Texas Instruments DS90UB935-Q1 FPD-Link III Serialisierer
Texas Instruments DS90UB935-Q1 FPD-Link III 2-GBit/s-Serialisierer sind zur Unterstützung von platzbeschränkten Hochgeschwindigkeits-Rohdaten-Sensoren ausgelegt. Zu diesen Sensoren gehören Kameras, Satelliten-RADAR, LIDAR und Time-of-Flight (ToF). Der Chip bietet einen Hochgeschwindigkeits-Vorwärtskanal, eine extrem niedrige Latenz, einen bidirektionalen Steuerkanal und unterstützt die Leistung über ein einzelnes Koaxial- (PoC) oder STP-Kabel. Fortschrittliche Datenschutz- und Diagnosefunktionen, einschließlich CRC-Datenschutz, Sensordaten-Integritätsprüfung, I2C-Schreibschutz, Spannungs- und Temperaturmessung, programmierbarer Alarm sowie Leitungsfehlererkennung, unterstützen FAS- und autonome Fahrsysteme. Zusammen mit einem begleitenden Entserialisierer liefert der DS90UB935-Q1 einen präzisen Multi-Kamera-Sensortakt und eine Sensorsynchronisierung. Die DS90UB935-Q1 Bauteile sind gemäß AEC-Q100 für Fahrzeuganwendungen zugelassen. Die AEC-Q100-Qualifizierung umfasst HBM ESD - Bauteilklassifikationsstufe 3A und CDM-ESD-Klassifikation Level C6.Merkmale
- Nach AEC-Q100 für Fahrzeuganwendungen qualifiziert
- Bauteiltemperatur Klasse 2: –40 °C bis +105 °C Umgebungsbetriebstemperatur
- ISO 10605 und IEC 61000-4-2 ESD-konform
- PoC-kompatibler Transceiver (PoC, Leistung über Koax)
- 3-GBit/s-Serialisierer unterstützt Hochgeschwindigkeits-Sensoren
- D-PHY v1.2- und CSI-2 v1.3-konforme Systemschnittstelle
- CSI-2-Bandbreite von bis zu 2,528 GBit/s
- Unterstützt bis zu vier virtuelle Kanäle
- Präzise Multi-Kamera-Taktung und Synchronisierung
- Fortschrittliche Datenschutz- und Diagnosefunktionen, einschließlich CRC-Datenschutz, Sensor-Datensicherheitsprüfung, I2C-Schreibschutz, Spannungs- und Temperaturmessung, programmierbarer Alarm sowie Leitungsfehlererkennung
- Unterstützt einendige Koaxial- oder abgeschirmte verdrillte Doppelkabel (STP)
- Bidirektionaler I2C- und GPIO-Steuerkanal ermöglicht die ISP-Steuerung von ECU
- Einzelnes Netzteil von 1,8 V
- Geringer (0,25 W typisch) Stromverbrauch
- Kompatibel mit DS90UB936-Q1, DS90UB954-Q1, DS90UB960-Q1, DS90UB934-Q1, DS90UB914A-Q1 Entserialisierer
- Großer Temperaturbereich: −40 °C bis +105 °C
- 5 mm x 5 mm kleines VQFN-Gehäuse und PoC-Lösungsgröße für kompakte Kameramodul-Designs
- Flexibler programmierbarer Ausgangstaktgeber
Applikationen
- Automotive-Fahrassistenzsysteme (FAS)
- Rundumsicht-Systeme (SVS)
- Kameraüberwachungssysteme (CMS)
- Vorwärtssichtkameras (FC)
- Fahrerüberwachungssysteme (DMS)
- Rückansichtkameras (RVC)
- Automotive-Satelliten-RADAR- und LIDAR-Module
- Time-of-Flight-Sensoren (ToF)
- Sicherheits- und Überwachungskameras
- Industrielle und medizinische Bildverarbeitung
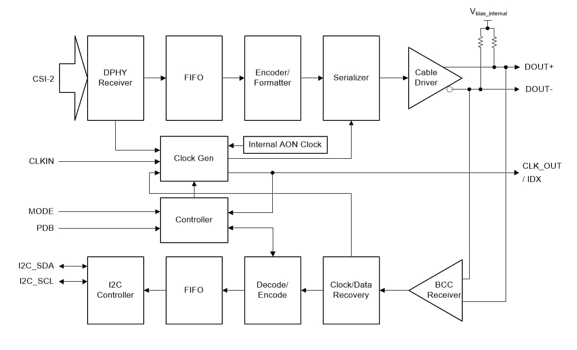
Blockdiagramm
Videos
Veröffentlichungsdatum: 2018-08-24
| Aktualisiert: 2025-03-06
