Texas Instruments DS90UB953A-Q1 FPD-Link III 4,16-GBit/s-Serialisierer
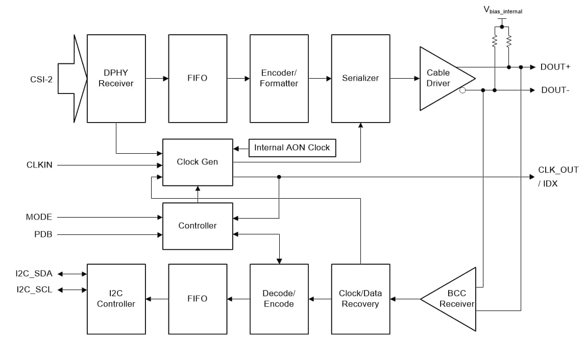
Die 4,16-GBit/s-Serialisierer DS90UB953A-Q1 FPD-Link III von Texas Instruments unterstützen Hochgeschwindigkeits-Rohdatensensoren, einschließlich 2,3-MP-Bildsensoren mit 60 Bildern pro Sekunde (fps) sowie 4-MP-, 30-fps-Kameras, Satelliten-RADAR, LIDAR und Time-of-Flight-Sensoren. Der DS90UB953A-Q1 verfügt über einen weiten Temperaturbereich von –40 °C bis 125 °C, der ein kompakteres/flexibleres Sensormoduldesign für jede kleine Kameraapplikation ermöglicht. Der Chip bietet einen Vorwärtskanal von 4,16 GBit/s, eine extrem niedrige Latenz, einen bidirektionalen Steuerkanal von 50 MBit/s und unterstützt ein PoC- (Leistung über Koaxial) oder STP-KabelDas Bauelement unterstützt FAS und autonomes Fahren durch erweiterte Datenschutz- und Diagnosefunktionen. Zusammen mit einem begleitenden Entserialisierer liefert der DS90UB953A-Q1 einen präzisen Multi-Kamera-Sensortakt und eine Sensorsynchronisierung. Die DS90UB953A-Q1 Bauteile sind gemäß AEC-Q100 für Fahrzeuganwendungen zugelassen.
Merkmale
- AEC-Q101-qualifiziert (Stufe 1) für Fahrzeuganwendungen
- Bauteil-Temperatur: -40 °C bis + 125 °C Umgebungsbetriebstemperatur
- ISO 10605 und IEC 61000-4-2 ESD-konform
- PoC-kompatibler Transceiver (PoC, Leistung über Koax)
- 4,16-Gbit/s-Serialisierer unterstützt Hochgeschwindigkeits-Sensoren, einschließlich Full-HD-1080P-2,3MP- mit 60 fps und 4MP-Bildgeräte mit 30 fps
- D-PHY v1.2- und CSI-2 v1.3-konforme Systemschnittstelle
- Bis zu 4 Datenleitungen bei 832 MBit/s pro Spur
- Unterstützt bis zu vier virtuelle Kanäle
- Präzise Multi-Kamera-Taktung und Synchronisierung
- Unterstützt einendige Koaxial- oder abgeschirmte verdrillte Doppelkabel (STP)
- Flexibler programmierbarer Ausgangstaktgeber
- Fortschrittliche Datenschutz- und Diagnosefunktionen, einschließlich CRC-Datenschutz, Sensordaten-Integritätsprüfung, I2C-Schreibschutz, Spannungs- und Temperaturmessung, programmierbarer Alarm sowie Leitungsfehlererkennung
- Bidirektionaler I2C- und GPIO-Steuerkanal ermöglicht die ISP-Steuerung von ECU
- Einzelnes Netzteil von 1,8 V
- Geringer (0,25 W typisch) Stromverbrauch
- Kompatibel mit Entserialisierer DS90UB954-Q1, DS90UB964-Q1, DS90UB962-Q1, DS90UB936-Q1, DS90UB960-Q1, DS90UB934-Q1 und DS90UB914A-Q1
Applikationen
- Fahrerassistenzsysteme (FAS)
- Rundumsichtsystem-ECU
- Front- und Rückkamera
- Fahrerüberwachung
- Radar-ECU
- Mechanisches Scannen von LIDAR
- Time-of-Flight-Kameras (ToF)
- Analoge Sicherheitskameras
- MRT, Ultraschall und Röntgensysteme
- Spezialisierte Bildgebungssysteme
Typische Applikation
Blockdiagramm
Videos
Veröffentlichungsdatum: 2019-05-20
| Aktualisiert: 2025-03-06
