Texas Instruments INA592 E-Trim-Differenzverstärker
Texas Instruments INA592 E-Trim-Präzisions-Differenzverstärker mit großer Bandbreite bestehen aus einem Präzisions-Operationsverstärker (OPV) und einem Präzisionswiderstands-Netzwerk. Der INA592 bietet eine hervorragende Verfolgung von Widerständen (TCR) und hält eine Gain-Genauigkeit sowie eine Gleichtaktunterdrückung über Temperatur aufrecht.Die Bauteile bieten einzigartige Funktionen, wie z. B. ein niedriges Offset 40 µV (max.), eine geringe Offsetdrift (2 µV/°C max.) eine hohe Anstiegsrate (18 V/µs) und einen hohen kapazitiven Lastantrieb von bis zu 500 pF. Durch diese Eigenschaften eignet sich der INA592 hervorragend für Hochspannungs-Industrieapplikationen. Der INA592 ermöglicht den Betrieb in Einzelversorgungsapplikationen über den Gleichtaktbereich des internen Operationsverstärkers, der sich über die negative Versorgung erstreckt. Das Bauteil hat die Wahl zum Betrieb mit einer einzigen (4,5 V bis 36 V) oder dualen Versorgung (±2,25 V bis ±18 V).
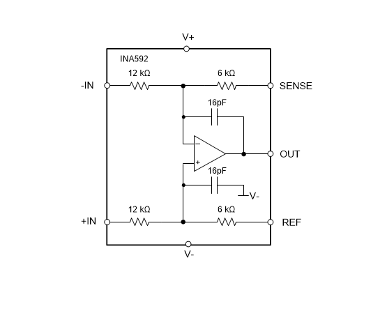
Der INA592 bietet einen Differenzverstärker als Grundlage für viele gängige Schaltungen und ohne dass ein teures Präzisionswiderstands-Netzwerk notwendig ist. Der INA592 ist für den Betrieb über einen erweiterten Industrietemperaturbereich von -40 °C bis +125 °C spezifiziert und in einem oberflächenmontierbaren 8-Pin-VSSOP-Gehäuse verfügbar.
Merkmale
- Niedrige Offsetspannung: 40 μV (max.)
- Niedrige Offsetspannungsdrift: ±2 μV/°C (max.)
- Rauscharm: 18 nV/√Hz bei 1 kHz
- Geringer Gain-Fehler: ±0,03 % (max.)
- Hohe Gleichtaktunterdrückung: 88 dB (min.)
- Große Bandbreite: 2 MHz GBW
- Geringer Ruhestrom: 1,1 mA pro Verstärker
- Hohe Anstiegsrate: 18 V/μs
- Hohe kapazitive Lastansteuerung: 500 pF
- Großer Versorgungsbereich:
- Einzelversorgung: 4,5 V bis 36 V
- Dual-Versorgung: ±2,25 V bis ±18 V
- Spezifizierter Temperaturbereich: –40 °C bis +125 °C
- 8-Pin-VSSOP-Gehäuse
Applikationen
- AC-Antriebs-Positionsrückmeldung
- Stellantrieb-Positionsrückmeldung
- Zustandsüberwachung (Spannung, Strom)
- Schutz-Relais
- Stromversorgungsmodule
- Differenzielle zu einendige Signalumwandlung
- Instrumentierungsverstärker-Baustein
- G = 1/2 Verstärker
- G = 2 Verstärker
- Automatische Prüfanlagen
Funktionales Blockdiagramm
