Texas Instruments IWR1443 76- bis 81GHz-mmWave-Einzelchip-Sensoren
Texas Instruments IWR1443 mmWave-Einzelchip-Sensoren basieren auf der FMCW-Radartechnologie und sind zu einem Betrieb im 76- bis 81GHz-Band mit einem Dauerchirp von bis zu 4 GHz fähig. Der IWR1443 ist eine ideale Lösung für stromsparende, selbstüberwachte, extrem präzise Radarsysteme in Industrieapplikationen. Der IWR1443 wurde mit dem stromsparenden 45-nm-RFCMOS-Verfahren von TI hergestellt. Diese Lösung ermöglicht eine bisher unerreichte Integration in einem extrem kleinen Formfaktor. Das Bauteil beinhaltet eine monolithische Implementierung eines 3TX-, 4RX-Systems mit eingebauten PLL- und A2D-Wandlern.Ein vollständig konfigurierbarer Hardware-Beschleuniger befindet sich auf den mmwave-Sensoren, der eine komplexe FFT- und CFAR-Erkennung unterstützt. Darüber hinaus enthält das Bauteil zwei ARM R4F-basierte Prozessor-Subsysteme. Ein Prozessor-Subsystem ist für die Mastersteuerung und zusätzliche Algorithmen vorgesehen. Das zweite Prozessor-Subsystem ist für die Frontend-Konfiguration, Steuerung und Kalibrierung zuständig. Das Bauteil bietet einfache Programmiermodelländerungen, die eine Implementierung von zahlreichen Sensoren mit der Möglichkeit einer dynamischen Rekonfiguration für die Implementierung eines Multimodus-Sensors ermöglichen. Der IWR1443 umfasst das Referenzhardwaredesign, den Softwaretreiber, Beispielkonfigurationen, den API-Leitfaden, eine Schulung und die Benutzerdokumentation.
Merkmale
- FMCW-Transceiver
- Integrierte PLL, Sender, Empfänger, Basisband und A2D
- Reichweite von 76 bis 81 GHz mit kontinuierlicher 4GHz-Bandbreite
- Vier Empfangskanäle
- Drei Sendekanäle (zwei können gleichzeitig verwendet werden)
- Sehr genaue Chirp-Engine basierend auf Fraktional-N-PLL
- TX-Leistung: 12 dBm
- RX-Rauschfaktor:
- 14 dB (76 bis 77 GHz)
- 15 dB (77 bis 81 GHz)
- Phasenrauschen bei 1 MHz:
- –95 dBc/Hz (76 bis 77 GHz)
- –93 dBc/Hz (77 bis 81 GHz)
- Programmierbarer On-Chip-Core für embedded Benutzerapplikation
- Integrierter Cortex®-R4F-Mikrocontroller, bei 200 MHz getaktet
- Der On-Chip-Bootloader unterstützt einen autonomen Modus (Ladenutzerapplikation von QSPI-Flash-Speicher)
- Integrierte Peripherie
- Interne Speicher mit ECC
- Radar-Hardware-Beschleuniger (FFT, Log-Magnitudeberechnungen und weitere)
- Integrierte Timer (Watchdog und bis zu vier 32-Bit- oder zwei 64-Bit-Timer)
- I2C (Master- und Slave-Modi unterstützt)
- Zwei SPI-Anschlüsse
- CAN-Anschluss
- Bis zu sechs Universal-ADC-Anschlüsse
- Hochgeschwindigkeits-Datenschnittstelle zur Unterstützung von verteilten Applikationen
- Integrierte Kalibrierung und Selbsttest
- ARM® Cortex®-R4F-basiertes Funkfernsteuerungssystem
- Integrierte Firmware (ROM)
- Selbstkalibrierungssystem über Frequenz und Temperatur
- Host-Schnittstelle
- Steuerschnittstelle mit externem Prozessor über SPI
- Datenschnittstelle mit externem Prozessor über MIPI D-PHY und CSI2 V1.1
- Interrupts für eine Störungsmeldung
- IWR1443 Erweiterte Funktionen
- Integrierte Selbstüberwachung ohne Einbeziehung des Host-Prozessors
- Komplexe Basisband-Architektur
- Integrierte Interferenzerkennungsfähigkeit
- Leistungsmanagement
- Eingebautes LDO-Netzwerk für verbesserte PSRR
- E/As-Support-Dual-Spannung 3,3 V/1,8 V
- Taktquelle
- Unterstützt einen externen Oszillator bei 40 MHz
- Unterstützt einen extern angetriebenen Takt (Quadratisch/Sinus) bei 40 MHz
- Einfaches Hardware-Design
- 161-Pin-Flip-Chip-BGA-Gehäuse mit einem Rastermaß von 0,65 mm von 10,4 mm × 10,4 mm für eine einfache Montage und ein kostengünstiges PCB-Design
- Kleine Lösungsgröße
- Betriebsbedingungen
- Sperrschichttemperaturbereich: –40 °C bis 105 °C
Applikationen
- Industriesensor für Messbereich, Geschwindigkeit und Winkel
- Füllstandsmessradar
- Verdrängungsmessung
- Feldtransmitter
- Verkehrsüberwachung
- Positions- und Näherungserkennung
- Sicherheit und Überwachung
- Fabrikautomatisierung
- Schutzvorrichtungen
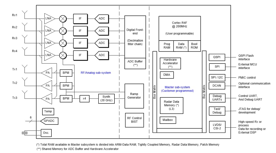
Blockdiagramm
