Texas Instruments LP8756x-Q1 Vierphasen-Abwärtswandler
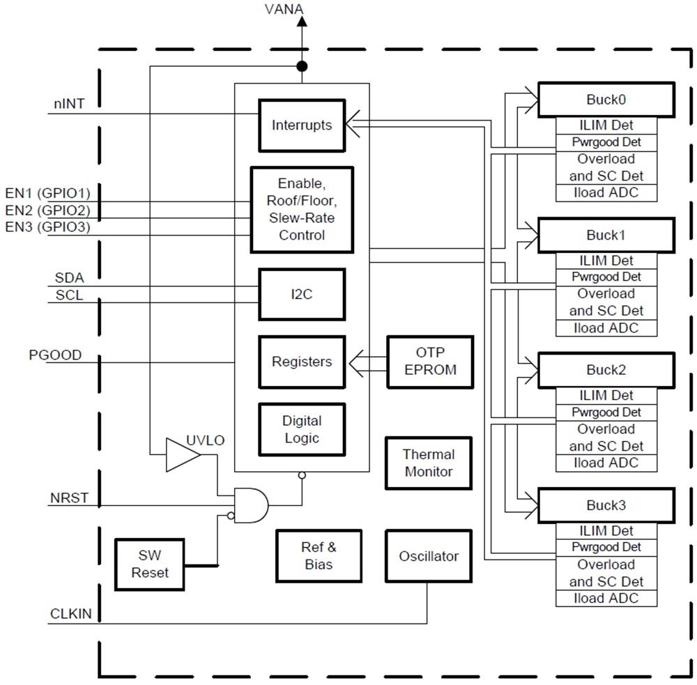
Der LP8756x-Q1 Vierphasen-DC/DC-Abwärtswandler von Texas Instruments ist für die Erfüllung der Leistungsmanagementanforderungen der neuesten Prozessoren und Plattformen in verschiedenen Leistungsanwendungen für Fahrzeuge ausgelegt. Das Bauteil enthält vier DC/DC-Abwärtswandlercores, die als ein vierphasiger Ausgang, dreiphasige und einphasige Ausgänge, zweiphasige und zweiphasige Ausgänge, ein zweiphasiger Ausgang und zwei einphasige Ausgänge oder vier einphasige Ausgänge konfiguriert werden. Das Bauteil wird über eine I2C-kompatible serielle Schnittstelle und über Freigabesignale gesteuert.Merkmale
- Qualifiziert für Fahrzeuganwendungen
- AEC-Q100-qualifiziert mit den folgenden Ergebnissen:
- Temperaturklasse 1: -40 °C bis +125 °C Umgebungstemperatur
- HBM-ESD-Bauteilklassifikation Stufe 2
- CDM-ESD-Bauteilklassifikation Stufe C4B
- Eingangsspannung: 2,8 V bis 5,5 V
- Ausgangsspannung: 0,6 V bis 3,36 V
- Vier DC/DC-Abwärtswandler-Cores mit hohem Wirkungsgrad
- Maximaler Ausgangsstrom: 16 A (4 A pro Phase)
- Programmierbare Ausgangsspannungs-Anstiegsrate: 0,5 mV/µs auf 10 mV/µs
- Schaltfrequenz: 2 MHz
- Frequenzspreizungsmodus und Phasenverschachtelung
- Konfigurierbare Universal-I/O (GPIOs)
- I2C-kompatible Schnittstelle unterstützt Standard- (100 kHz), Fast- (400 kHz), Fast+- (1 MHz) und High-Speed- (3,4 MHz) Betriebsarten
- Interrupt-Funktion mit programmierbarer Maskierung
- Programmierbares Power-Good-Signal (PGOOD)
- Überlastschutz und Kurzschlusssicherung am Ausgang
- Übertemperaturvorwarnung und Schutz
- Unterspannungssperre (UVLO) und Überspannungsschutz (OVP)
Applikationen
- Automotive-Infotainment-, Cluster-, Radar- und Kameraleistungs-Applikationen
Funktionales Blockdiagramm
Veröffentlichungsdatum: 2018-08-23
| Aktualisiert: 2025-03-10
