Texas Instruments LP875761-Q1 Vierphasen-DC/DC-Abwärtswandler
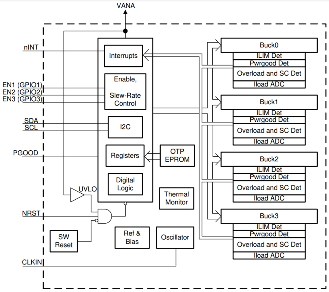
Texas Instruments LP875761-Q1 Vierphasen-DC/DC-Abwärtswandler sind für die Erfüllung der Leistungsmanagementanforderungen der neuesten Prozessoren und Plattformen in verschiedenen Automotive-Leistungsapplikationen ausgelegt. Dieses Bauteil enthält vier DC/DC-Abwärtswandler-Cores, die als vierphasiger Ausgang im erzwungenen PWM-Modus konfiguriert sind. Das Bauteil wird über eine I2C-kompatible serielle Schnittstelle und über Freigabesignale gesteuert. Der LP875761-Q1 unterstützt die ferngesteuerte Differential-Spannungserkennung für Multiphasen-Ausgänge, um den IR-Abfall zwischen dem Reglerausgang und der Punktlast (POL) zu kompensieren und dadurch die Genauigkeit der Ausgangsspannung zu verbessern. Der Schalttaktgeber kann in den PWM-Modus gezwungen und zur Reduzierung von Störungen mit einem externen Taktgeber synchronisiert werden.Der LP875761-Q1 von Texas Instruments unterstützt eine Ladestrommessung ohne zusätzliche externe Strommesswiderstände. Das LP875761-Q1 Bauteil unterstützt außerdem programmierbare Einschalt- und Abschaltverzögerungen und Sequenzen, die zur Freigabe der Signale synchronisiert sind. Darüber hinaus können Sequenzen GPIO-Signale zur Steuerung von externen Reglern, Lastschaltern und einem Prozessor-Reset umfassen. Während der Inbetriebnahme steuert das Bauteil die Ausgangs-Anstiegsrate zur Reduzierung der Überschwingung der Ausgangsspannung und des Einschaltstroms.
Merkmale
- Für Fahrzeuganwendungen zugelassen
- Mit den folgenden Ergebnissen gemäß AEC-Q100 qualifiziert:
- Umgebungsbetriebstemperatur der Klasse 1: -40 °C bis +125 °C
- HBM-ESD-Bauteilklassifikation Stufe 2
- CDM-ESD-Bauteilklassifikation Stufe C4B
- Eingangsspannung: 2,8 V bis 5,5 V
- Ausgangsspannung: 1,0 V
- Vier DC/DC-Abwärtswandler-Cores mit hohem Wirkungsgrad
- Maximaler Ausgangsstrom: 16 A (4 A pro Phase)
- Schaltfrequenz: 3 MHz
- Frequenzspreizungsmodus und Phasenverschachtelung
- Konfigurierbare Universal-I/O (GPIOs)
- Eine I2C-kompatible Schnittstelle, die Standard- (100 kHz), Fast- (400 kHz), Fast+- (1 MHz) und High-Speed-Betriebsarten (3,4 MHz) unterstützt
- Interrupt-Funktion mit programmierbarer Maskierung
- Programmierbares Power-Good-Signal (PGOOD)
- Überlastschutz und Kurzschluss-Sicherung am Ausgang
- Übertemperaturwarnung und -schutz
- Unterspannungssperre (UVLO) und Überspannungsschutz (OVP)
Applikationen
- Automotive-Infotainment
- Kombiinstrumente
- Radar
- Kamera-Leistungsapplikationen
Funktionales Blockdiagramm
Veröffentlichungsdatum: 2021-02-10
| Aktualisiert: 2022-03-11
