Texas Instruments MSP430F643x Mischsignal-Mikrocontroller
Texas Instruments MSP430F643x Mischsignal-Mikrocontroller bestehen aus mehreren Bauteilen mit verschiedenen Peripheriesätzen, die für zahlreiche Applikationen ausgelegt sind. Die Architektur, kombiniert mit fünf Stromsparmodi, ist zur Verlängerung der Batterielaufzeit in tragbaren Messapplikationen ausgelegt. Der MSP430F643x ist mit einem leistungsstarken 16-Bit-RISC-CPU, 16-Bit-Registern und konstanten Generatoren ausgestattet, die zu einem maximalen Code-Wirkungsgrad beitragen. Darüber hinaus bieten diese MCUs einen digital geregelten Oszillator (DCO), der dem Bauteil die Aktivierung aus stromsparenden Modi in den aktiven Modus in 3µs (typisch) ermöglicht.Die MSP430F643x Mischsignal-Mikrocontroller von TI bieten einen integrierten 3,3-V-LDO, einen 12-Bit-Hochleistungs-ADC, einen Komparator, zwei USCIs, einen Hardware-Multiplikator, einen DMA, vier 16-Bit-Timer, ein RTC-Modul mit Alarmfunktionen, einen LCD-Treiber und bis zu 74 I/O-Pins.
Merkmale
- Niedriger Versorgungsspannungsbereich von 1,8 V bis 3,6 V
- Extrem geringer Stromverbrauch
- Aktivmodus (AM):
- Alle Systemtaktgeber aktiv: 270 µA/MHz bei 8 MHz, 3,0 V, Flash-Programmausführung (typisch)
- Standby-Modus (LPM3):
- Watchdog mit Quarz und Versorgungsüberwachung bei Betrieb, vollständige RAM-Erhaltung, schnelle Aktivierung von 1,8 µA bei 2,2 V, 2,1 µA bei 3,0 V (typisch)
- Abschalt-Echtzeituhr-Modus (RTC) (LPM3.5) 1,1 µA bei 3,0 V (typ.) Abschaltmodus, aktive RTC mit Quarz
- Abschaltmodus (LPM4.5): 0,3 µA bei 3,0 V (typisch)
- Aktivmodus (AM):
- Aktivierung aus dem Standby-Modus in 3 µs (typisch)
- 16-Bit-RISC-Architektur, erweiterter Speicher, Systemtakt von bis zu 20 MHz
- Flexibles Leistungsmanagementsystem
- Voll integrierter LDO mit programmierbarer geregelter Core-Versorgungsspannung
- Versorgungsspannungskontrolle, Überwachung und Brown-Out
- Einheitliches Taktsystem
- FLL-Regelkreis zur Frequenzstabilisierung
- Interne Taktquelle mit niedrigem Stromverbrauch und niedriger Frequenz (VLO)
- Getrimmte interne Referenzquelle mit niedriger Frequenz (REFO)
- 32-kHz-Quarze (XT1)
- Hochfrequenz-Quarze mit bis zu 32 MHz (XT2)
- Vier 16-Bit-Timer mit 3, 5 oder 7 Erfassungs-/Vergleichsregistern
- Zwei serielle Universal-Kommunikationsschnittstellen (USCIs
- Unterstützung durch USCI_A0 und USCI_A1 – Verbesserte UART unterstützt eine automatische Baudraten-Erkennung, IrDA-Encoder und -Decoder, synchrone SPI
- USCI_B0 und USCI_B1 unterstützen jeweils die I2C- und synchrone SPI
- Integriertes 3,3 V Leistungssystem
- 12-Bit-Analog-Digital-Wandler (ADC) mit interner geteilter Referenz, Abtast- und Halteschaltung und automatische Scan-Funktion
- Duale 12-Bit-Digital-Analog-Wandler (DACs) mit Synchronisierung
- Spannungskomparator
- Integrierter LCD-Treiber mit Kontraststeuerung für bis zu 160 Segmente
- Hardware-Multiplizierer unterstützt 32-Bit-Betriebsabläufe
- Serielle On-Board-Programmierung, keine externe Programmierspannung erforderlich
- Interner Sechskanal-DMA
- RTC-Modul mit Versorgungsspannungs-Backupschalter
Applikationen
- Analoge und digitale Sensorsysteme
- Digitale Motorsteuerung
- Fernsteuerungen
- Thermostate
- Digitale Timer
- Tragbare Messgeräte
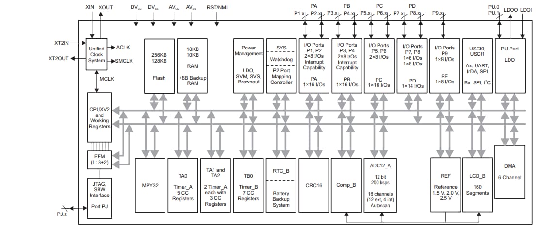
MSP430F6433/35 Blockdiagramm
MSP430F6436/38 Blockdiagramm
Veröffentlichungsdatum: 2020-10-20
| Aktualisiert: 2025-04-16
