Texas Instruments OPAx191 36 V E-trim Operationsverstärker
Die OPAx191 36V E-trim Operationsverstärker von Texas Instruments bieten eine ausgezeichnete Gleichstrompräzision und Wechselstromleistung. Sie verfügen über Schiene-zu-Schiene-I/O, geringen Offset (±5 µV, typ.), geringen Offset-Drift (±0,2 µV/°C, typ.) und eine Bandbreite von 2 MHz. Diese Verstärker bieten einzigartige Merkmale wie z. B. ein differentieller Eingangsspannungsbereich für die Versorgungsschiene und einen hohen Ausgangsstrom (±65 mA). Sie haben auch eine hohe kapazitive Lastansteuerung von bis zu 1 nF sowie eine hohe Anstiegsrate (5 V/µs). Dadurch eignen sich diese robusten OPAx191 leistungsstarken Operationsverstärker ideal für industrielle Applikationen mit hoher Spannung. Diese Geräte sind in Einzel- (OPA191), Dual- (OPA2191) und Quad- (OPA4191) Gehäusen verfügbar.Merkmale
- ±5µV Low offset voltage
- ±0.1µV/°C Low offset voltage drift
- 15nV/√Hz at 1kHz Low noise
- 140dB High common-mode rejection
- ±5pA Low bias current
- Rail-to-rail input and output
- 2.5MHz GBW wide bandwidth
- 5V/µs High slew rate
- 140µA per Amplifier low quiescent current
- ±2.25V to ±18V, 4.5V to 36V Wide supply
- EMI/RFI Filtered inputs
- Differential input voltage range to supply rail
- 1nF High capacitive load drive capability
Applikationen
- Multiplexed data-acquisition systems
- Test and measurement equipment
- High-resolution ADC driver amplifiers
- SAR ADC Reference buffers
- Programmable logic controllers
- High-side and low-side current sensing
- High precision comparator
Additional Resources
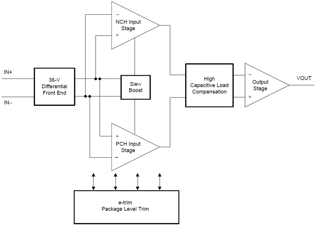
Functional Block Diagram
Veröffentlichungsdatum: 2016-04-11
| Aktualisiert: 2024-01-05
