Texas Instruments Texas Instruments PCM1804 Stereo Analog-Digital-Wandler
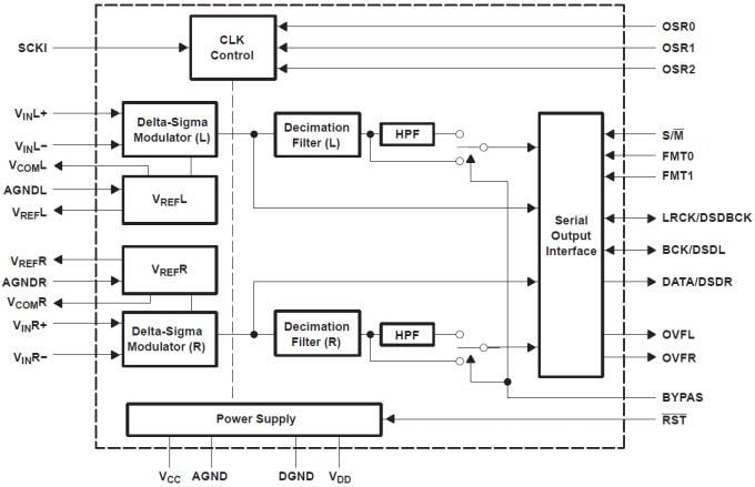
Der Stereo-Analog-Digital-Wandler PCM1804 von Texas Instruments ist ein Hochleistungs-, Einzel-Chip-Stereo AD-Wandler mit vollständig differentiellem analogem Spannungseingang. Der PCM1804 verwendet einen Präzisions-Delta-Sigma-Modulator und einen linearen digitalen Phasenantialiasing-Filter sowie einen Hochpassfilter (HPF), der die Gleichstrom-Offset-Spannung von dem Eingangssignal entfernt. Der PCM1804 ist geeignet für eine Vielzahl von mittleren bis hochwertigen Consumer- und professionellen Anwendungen, bei denen eine hervorragende Leistung und eine 5V-Analogversorgung und eine 3,3V-Digitalversorgung erforderlich sind. Der PCM1804 kann aufgrund des Präzisions-Delta-Sigma-Modulators sowohl das PCM-Audio- und das DSD-Format erzielen. Der PCM1804 wird unter Verwendung eines modernen CMOS-Prozesses hergestellt und ist in einem kleinen 28-poligen SSOP-Gehäuse verfügbar.Merkmale
- 24-Bit Delta-Sigma Stereo A/D Converter
- High Performance
- 112dB (Typical) Dynamic Range
- SNR: 111dB (Typical)
- -102dB (Typical) THD+N
- High-Performance Linear Phase Antialias Digital Filter
- ±0.005dB Pass-Band Ripple
- -100dB Stop-Band Attenuation
- ±2.5V Fully Differential Analog Input:
- Audio Interface (Master- or Slave-Mode Selectable)
- Data Formats (Left-Justified, I2S, Standard 24-Bit, and DSD)
- Function:
- Peak Detection
- -3dB at 1Hz, fS = 48kHz High-Pass Filter (HPF)
- Sampling Rate up to 192kHz
- System Clock (128fS, 256fS, 384fS, 512fS, or 768fS)
- Dual Power Supplies
- 5V for Analog
- 3.3V for Digital
- 225mW Power Dissipation
- Small 28-Pin SSOP
- DSD Output (1 Bit, 64fS)
Applikationen
- AV Amplifier
- MD Player
- Digital VTR
- Digital Mixer
- Digital Recorder
Functional Block Diagram
Veröffentlichungsdatum: 2014-09-09
| Aktualisiert: 2022-03-11
