Texas Instruments PCM5140-Q1 Audio-ADCs
Texas Instruments PCM5140-Q1 Audio-ADCs sind leistungsstarke Mehrkanal-ADCs mit Burr-Brown™ -Technologie. Diese ADCs verfügen über eine Abtastrate von 8 kHz bis 768 kHz und ein Signal-Rausch-Verhältnis (SNR) von 120 dB. Die Audio-ADCs PCM5140-Q1 unterstützen Line- und Mikrofoneingänge und ermöglichen sowohl Single-Ended- als auch Differenzeingangskonfigurationen. Diese ADCs enthalten eine programmierbare Kanalverstärkung, digitale Lautstärkeregelung, Mikrofon-Vorspannung, Phasenregelschleife (PLL), programmierbare Hochpassfilter, Biquad-Filter und Filtermodi mit niedriger Latenz. Die PCM5140-Q1 Bauteile sind für Fahrzeuganwendungen AEC-qualifiziert.Die PCM5140-Q1 Audio-ADCs sind mit leistungsstarken Funktionen ausgestattet und können über einen Strom von 3,3 V oder 1,8 V versorgt werden. Dadurch eignet sich das Bauteil hervorragend für platzbeschränkte Audiosysteme in Fernfeld-Mikrofonaufnahme-Applikationen. Diese Audio-ADCs arbeiten im Temperaturbereich von -40 °C bis +125 °C und werden in einem 24-Pin-VQFN-Gehäuse geliefert. Die PCM5140-Q1 Mikrofonarraysysteme für Audio-ADCs, sprachaktivierte digitale Assistenten, Telekonferenzsysteme sowie Sicherheits- und Überwachungssysteme.
Merkmale
- Leistungsstarke Mehrkanal-ADCs:
- Vierkanal-Analog-Mikrofon oder Leitungseingang
- Digitale Achtkanal-PDM-Mikrofone oder eine Kombination aus analogen und digitalen Mikrofonen
- Leistung des Differentialeingangs für ADC-Leitung und Mikrofon:
- Dynamikbereich (DR):
- Dynamikbereich-Enhancer (DRE) von 120 dB aktiviert
- DRE von 108 dB deaktiviert
- THD+N: -98 dB
- Dynamikbereich (DR):
- ADC-Kanal-Summiermodus, DR-Leistung:
- 111 dB, DRE deaktiviert, Zweikanal-Summierung
- 114 dB, DRE deaktiviert, Zweikanal-Summierung
- ADC-Eingangsspannung:
- Differenzielle Vollbereichseingänge: 2 VRMS
- Einendige Vollbereichseingänge: 1 VRMS
- ADC-Abtastrate (fS) = 8 kHz bis 768 kHz
- Programmierbare Kanaleinstellungen:
- Kanal-Gain: 0 dB bis 42 dB, 1-dB-Schritte
- Digitale Lautstärkeregelung: -100 dB bis 27 dB
- Gain-Kalibrierung mit einer Auflösung von 0,1 dB
- Phasenkalibrierung mit einer Auflösung von 163 ns
- Programmierbare Mikrofon-Vorspannung oder Versorgungsspannungserzeugung
- Auswahl der Filter für die Signalverarbeitung mit niedriger Latenz
- Programmierbare Hochpassfilter (HPF) und digitale Biquad-Filter
- Automatischer Gain-Controller (AGC)
- I2C- oder SPI-Steuerung
- Integrierte Hochleistungs-Audio-PLL
- Automatische Taktteiler-Einstellungskonfigurationen
- Serielle Audio-Datenschnittstelle:
- Format: TDM, I2S, oder linksbündig (LJ)
- Wortlänge: 16 Bits, 20 Bits, 24 Bits oder 32 Bits
- Controller oder Zielschnittstelle
- Einzelversorgungsbetrieb von 3,3 V oder 1,8 V
- I/O-Versorgungsbetrieb: 3,3 V oder 1,8 V
- Stromverbrauch für die 1,8 V AVDD-Versorgung:
- 8,5 mW/Kanal bei einer Abtastrate von 16 kHz
- 9,2 mw/Kanal bei einer Abtastrate von 48 kHz
Applikationen
- Mikrofonarray-Systeme
- Sprachaktivierte digitale Assistenten
- Telekonferenzsysteme
- Sicherheits- und Überwachungssysteme
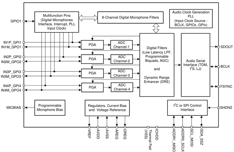
Funktionales Blockdiagramm
Weitere Ressourcen
Veröffentlichungsdatum: 2024-04-23
| Aktualisiert: 2025-05-08
