Texas Instruments 4-Bit-I/O-Erweiterer TCA9536
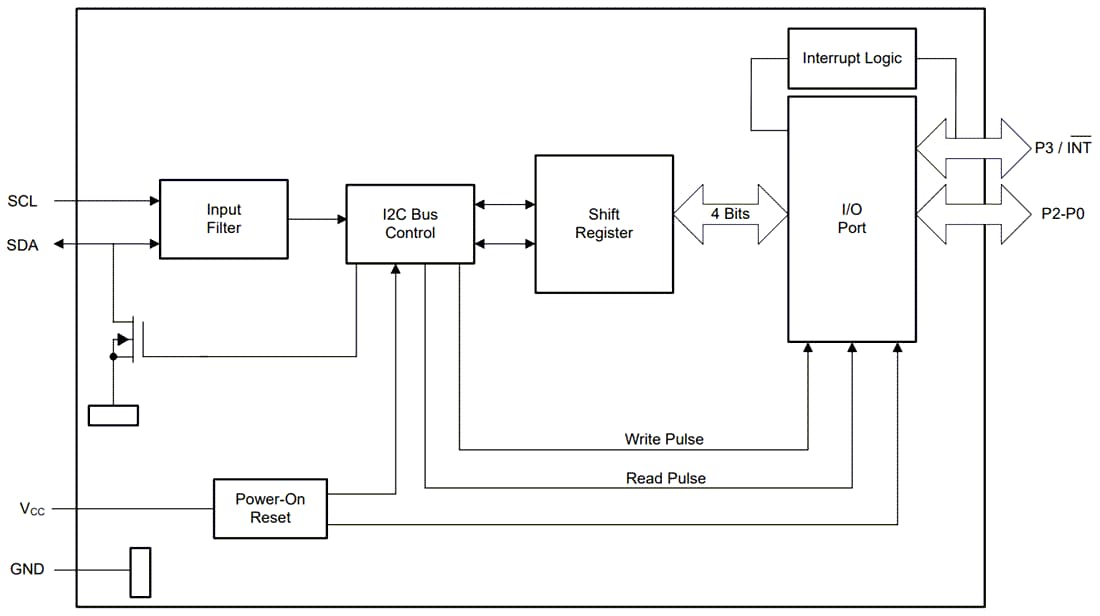
Der 4-Bit-I/O-Erweiterer TCA9536 von Texas Instruments ist für den I2C-Bus ausgelegt und für den Betrieb von 1,65 V bis 5,5 V VCC konzipiert. Er bietet über die I2C-Schnittstelle eine Universal-I/O-Fernsteuerungserweiterung für die meisten Mikrocontroller-Familien.Der Systemcontroller kann die I/Os entweder als Eingänge oder als Ausgänge aktivieren, indem er auf die Register-Bits zur I/O-Konfiguration schreibt. Die Daten für jeden Eingang oder Ausgang werden im entsprechenden Eingangs- oder Ausgangsregister gespeichert. Die Polarität des Eingangsanschlussregisters kann mit dem Register der Polaritätsumkehrung umgekehrt werden. Ein zusätzliches Spezialfunktionsregister kann verwendet werden, um die internen Pull-up-Widerstände zu deaktivieren und den P3-Override zu einem INT-Ausgang zu deaktivieren.
Die Open-Drain-Interruptausgabe TCA9536 von Texas Instruments wird aktiviert (sofern P3 im Spezialfunktionsregister als INT konfiguriert ist), wenn ein Eingang von seinem entsprechenden Zustand im Eingangsanschlussregister abweicht. Sie wird verwendet, um dem Systemcontroller anzuzeigen, dass sich ein Eingangszustand geändert hat.
Der Systemprozessor kann den TCA9536 im Falle eines Timeouts oder eines anderen unsachgemäßen Betriebs mithilfe eines I2C-Soft-Reset-Befehls zurücksetzen, der die Register in den Standardzustand des Registers versetzt.
Merkmale
- I2C zu GPIO-Erweiterer
- Betriebsversorgungsspannung von 1,65 V bis 5,5 V
- 5 V-tolerante I/O-Anschlüsse
- Software-Reset über allgemeinen I2C-Anruf
- Software-fähige integrierte Pull-up-Widerstände auf P-Anschlüssen
- P3 kann als INT-Ausgang verwendet werden
- 1 MHz-Schnellmodus-plus-I2C-Bus
- Register für Eingangs- und Ausgangskonfiguration
- Register für Polaritätsumkehrung
- Interner Einschalt-Reset
- Einschalten mit allen Kanälen, die als Eingänge konfiguriert sind
- Rauschfilter auf SCL- und SDA-Eingängen
- Latch-Ausgänge mit maximaler Hochstromansteuerung für die direkte Ansteuerung von LEDs
- ESD-Schutz überschreitet JESD 22
- 2000 V-Human-Body-Modell (A114-A)
- 1000 V-Charged-Device-Modell (C101)
Applikationen
- Persönliche Elektronik
- Wearables
- Handys
- Spielkonsolen
- Server
- Router
Funktionales Blockdiagramm
