Texas Instruments TDC7201 Zeit-zu-Digital-Wandler
Der Texas Instruments TDC7201 Zeit-Digital-Wandler ist mit einer Time-of-Flight-Technik für die Verwendung mit Ultraschall-, Laser- und Radarentfernungsmessgeräten ausgelegt. Der TDC7201 verfügt über zwei eingebaute Zeit-Digital-Wandler (TDCs), die verwendet werden können, um mit einer einfachen Architektur eine Distanz von mehreren Kilometern bis hinunter auf 4 cm zu messen. Diese Funktion beseitigt die Notwendigkeit der Verwendung von teuren FPGAs oder Prozessoren. Jeder TDC führt die Funktion einer Stoppuhr aus und misst die verstrichene Zeit (Time-of-Flight oder TOF) zwischen einem START-Impuls und bis zu fünf STOP-Impulsen. Die Möglichkeit zur gleichzeitigen und einzelnen Messung auf zwei Paar START- und STOP-Pins mit zwei eingebauten TDCs bietet eine hohe Flexibilität im Zeitmessungsdesign. Die Komponente verfügt über eine interne selbstkalibrierte Zeitbasis, die eine Drift über Zeit und Temperatur kompensiert. Die Selbstkalibrierung ermöglicht eine TDC-Genauigkeit in der Größenordnung von Picosekunden. Diese Genauigkeit macht den TDC7201 ideal für Entfernungsmessungs-Applikationen.Merkmale
- Auflösung: 55 ps
- Standardabweichung: 35 ps
- Messbereich:
- Einzelmodus 1: 12 ns bis 2.000 ns
- Einzelmodus 2: 250 ns bis 8 ms
- Kombinierter Betrieb: 0,25 ns bis 8 ms
- Niedriger Stromverbrauch im aktiven Zustand: 2,7 mA
- Unterstützt bis zu 10 STOP-Signale
- Autonomer mehrzyklischer Mittelwert-Modus für niedrigen Stromverbrauch
- Versorgungsspannung: 2 V bis 3,6 V
- Betriebstemperatur: -40 °C bis +85 °C
- SPI-Schnittstelle für Registerzugriff
Applikationen
- Optische Sucher
- LIDAR
- Robotik und Drohnen
- Erweiterte Fahrerassistenzsysteme (FAS)
- Kollisionserkennungssyteme
- Durchflussmessgeräte
Additional Resources
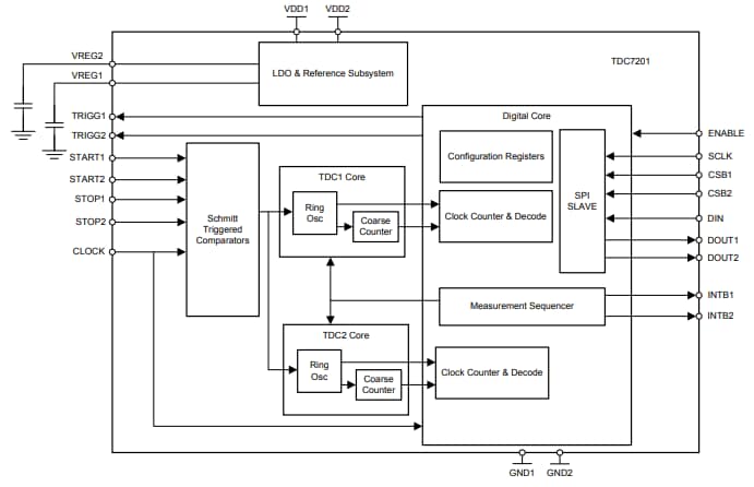
Funktionales Blockdiagramm
Veröffentlichungsdatum: 2016-10-19
| Aktualisiert: 2024-09-17
