Texas Instruments TLV766-Q1 500-mA-Low-Dropout-Linearregler
Texas Instruments TLV766-Q1 500-mA-Low-Dropout(LDO)-Linearregler sind Linear-Spannungsregler mit einem großen Eingang, die einen Eingangsspannungsbereich von 2,5 V bis 16 V und einen Laststrom von bis zu 500 mA unterstützen. Der Ausgangsbereich liegt bei 0,8 V bis 12 V oder bis 14,6 V bei der einstellbaren Version. Der große Eingangsspannungsbereich macht das Bauteil zu einer guten Wahl für den Betrieb von sekundären Transformatorwicklungen und geregelten Schienen, wie z. B. 10 V oder 12 V. Darüber hinaus ermöglicht der große Ausgangsspannungsbereich dem Bauteil die Erzeugung der Vorspannung für Siliziumkarbid(SiC)-Gate-Treiber und Mikrofone sowie Leistungs-Mikrocontroller (MCUs) und Prozessoren.Der TLV766-Q1 von Texas Instruments verfügt über eine Ausgangsgenauigkeit von 1 %, die für die Stromversorgung von digitalen Lasten mit engen Versorgungsanforderungen erforderlich ist. Die interne Soft-Start-Schaltung reduziert den Einschaltstrom während der Inbetriebnahme, wodurch eine kleinere Eingangskapazität ermöglicht wird. Die PSRR-Leistung mit großer Bandbreite ist größer als 70 dB bei 1 kHz und 46 dB bei 1 MHz. Diese Leistungsfähigkeit unterstützt die Dämpfung der Schaltfrequenz eines vorgeschalteten DC/DC-Wandlers und reduziert die Nachregler-Filterung. Die hohe Welligkeitsunterdrückung von 20 Hz bis 20 kHz macht das Bauteil zu einer guten Wahl für die Stromversorgung von Audio-Bauelementen. Der TLV766-Q1 ist in einem 8-Pin-VSON-Gehäuse (DRB) von 3 mm × 3 mm mit benetzbaren Flanken und einem niedrigen thermischen Widerstand verfügbar.
Merkmale
- AEC-Q100-qualifiziert für Fahrzeuganwendungen
- Temperaturklasse 1 (TA): -40 °C bis +125 °C
- Sperrschichttemperatur (TJ): -40 °C bis +150 °C
- Eingangsspannungsbereich: 2,5 V bis 16 V (max. 18 V)
- 1 % Genauigkeit in Bezug auf Überlast und Temperatur
- Niedriger Ruhestrom (IQ)
- 50 µA (typisch) ohne Last
- 4 µA (max.) bei Deaktivierung
- Hohe PSRR: 70 dB bei 1 kHz, 46 dB bei 1 MHz
- Ausgangsspannungsbereich
- 0,8 V bis 14,6 V (einstellbar)
- 1,2 V bis 12 V (fest)
- Interne Soft-Start-Zeit: 500 µs (typisch)
- Rückschaltende Strombegrenzung und thermischer Schutz
- Stabil mit einem Kondensator von 1 µF oder größer
- 8-Pin-WSON-Gehäuse von 3 mm × 2 mm mit benetzbaren Flanken
- Niedriger thermischer Widerstand (RθJA): 51,9 °C/W
Applikationen
- DC/DC-Wandler
- Wechselrichter und Motorsteuerungen
- On-Board- (OBC) und drahtloses Ladegerät
- Automotive-Haupteinheiten
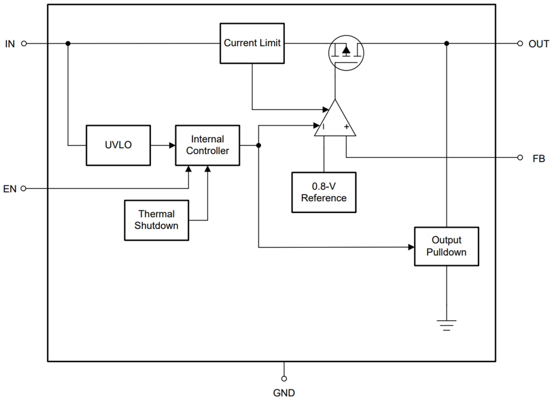
Funktionales Blockdiagramm
