Texas Instruments TMDS181 6GBit/s-TMDS-Retimer
Die Texas Instruments TMDS181 6GBit/s-TMDS-Retimer sind Retimer mit digitaler Videoschnittstelle (DVI) oder High-Definition-Multimedia-Schnittstelle (HDMI™). Der TMDS181 unterstützt vier TMDS-Kanäle, einen Audio-Rückkanal (SPDIF_IN/ ARC_OUT) und digitale Anzeigesteuerungs-Schnittstellen (DDC). Der TDP158 unterstützt Übertragungsraten von bis zu 6 GBit/s, um höchste Auflösungen von 4k2k60p 24 Bit pro Pixel und bis zu WUXGA 16-Bit-Farbtiefe oder 1080 p mit höheren Bildwiederholraten zu ermöglichen. Der TMDS181 kann konfiguriert werden, um den HDMI 2.0 Standard zu unterstützen. Der TMDS181 konfiguriert sich automatisch als Redriver bei niedrigen Datenraten (<1,0 gbit )="" oder="" als="" retimer="" oberhalb="" dieser="" datenrate.="" der="" redriver-modus="" unterstützt="" hdmi="" v1.4b="" mit="" datenraten="" von="" bis="" zu="" 3,4 gbit/s.="">1,0 gbit>Merkmale
- HDMI™-Eingangsanschluss zu Ausgangsanschluss mit CDR-Unterstützung mit Datenraten von bis zu 6 GBit/s.
- Kompatibel mit elektrischen HDMI™-Parametern von bis zu 6 GBit/s im Retimer-Modus.
- Unterstützung für 4k2k60p und bis zu WUXGA 16-Bit-Farbtiefe oder 1080 p mit Higher Refresh Rates
- Erneute Übertragung des Eingangsstroms für die Kompensierung von Zufalls-Jitter
- Adaptiver Empfangsequalizer oder festgelegter programmierbarer Equalizer
- I2C- und Kontaktstreifen-programmierbar
- Intra-Paar-Versatz-Kompensierung von mehr als 5 Bits
- Einendiger ARC-Supportmodus
- Link-Debug-Tools, einschließlich Eye-Diagramm nach dem RX-Equalizer
- 48-Pin-VQFN-Gehäuse von 7 mm x 7 mm mit einem Rastermaß von 0,5 mm
- Erweiterte Temperaturunterstützung für den kommerziellen Bereich von 0 °C bis 85 °C (TMDS181)
- Industrielle Temperaturunterstützung: -40 °C bis +85 °C (TMDS181I)
Applikationen
- Digitaler Fernseher
- Digitaler Projektor
- Audio-/Video-Geräte
- DVD- und Blu-Ray™-Player
- Monitore
- Desktops/All-in-Ones
- Aktive Kabel
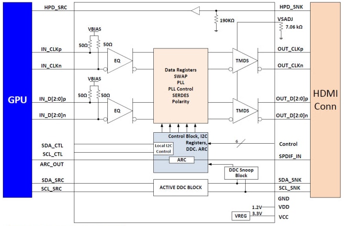
Vereinfachter Schaltplan
Veröffentlichungsdatum: 2016-03-23
| Aktualisiert: 2022-03-11
