Texas Instruments TMS320F2812 32-Bit-Digitalsignal-Controller (DSC)
Der Texas Instruments TMS320F2812 32-Bit-Digitalsignal-Controller (DSC) mit Flash verfügt über eine leistungsstarke CMOS-Technologie, eine 32-Bit-CPU und einen stromsparenden Core. TMS320F2812 DSC enthält 128 KB x 16 eingebetteten Flash-Speicher, der in vier 8 KB x 16-Sektoren und sechs 16 KB x 16-Sektoren unterteilt ist. Dieses TI-Bauteil enthält außerdem einen einzelnen 1K x 16 OTP-Speicher im Adressbereich 0x3D 7800-0x3D 7BFF. Der Benutzer kann einen Flash-Sektor einzeln löschen, programmieren und validieren, während andere Sektoren unberührt bleiben.Merkmale
- Leistungsstarke statische CMOS-Technologie
- 150 MHz (6,67 ns Zykluszeit)
- Stromsparendes Design (1,8 V Core bei 135 MHz, 1,9 V Core bei 150 MHz, 3,3 V I/O)
- JTAG-Boundary-Scan-Unterstützung IEEE-Standard 1149.1-1990 IEEE-Standard-Testzugriffsanschluss und Boundary-Scan-Architektur
- Leistungsstarke 32-Bit-CPU (TMS320C28x)
- 16 x 16 and 32 x 32 MAC Operationen
- 16 x 16 Dual MAC
- Harvard-Bus-Architektur
- Atomare Operationen
- Schnelle Reaktion auf Unterbrechungen und Bearbeitung
- Unified-Memory-Programmiermodell
- 4M Lineare Programm-/Datenadressenreichweite
- Code-effizient (in C/C++ und Bestückung)
- TMS320F24x/LF240x Prozessor-Quellcode-kompatibel
- On-Chip-Speicher
- Flash-Geräte: bis 128 K x 16 Flash (vier 8 K x 16 und sechs 16 K x 16 Sektoren)
- ROM-Geräte: bis zu 128 K x 16 ROM
- 1K x 16 OTP ROM
- L0 und L1: 2 Blöcke mit je 4 KB x 16 Single-Access-RAM (SARAM)
- H0: 1 Block von 8K x 16 SARAM
- M0 und M1: 2 Blöcke zu je 1K x 16 SARAM
- Boot-ROM (4 KB x 16)
- Mit Software-Boot-Modi
- Standard-Mathematik-Tabellen
- Externe Schnittstelle (2812)
- Über 1M x 16 Gesamtspeicher
- Programmierbare Wartezustände
- Programmierbares Lese-/Schreib-Strobe-Timing
- Drei Einzelchip-Selektionen
Applikationen
- Advanced Driver Assistance Systems (ADAS)
- Building automation
- Electronic point of sale
- Electric Vehicle/Hybrid Electric Vehicle (EV/HEV) powertrain
- Factory automation
- Grid infrastructure
- Industrial transport
- Medical, healthcare, and fitness
- Motor drives
- Power delivery
- Telecom infrastructure
- Test and measurement
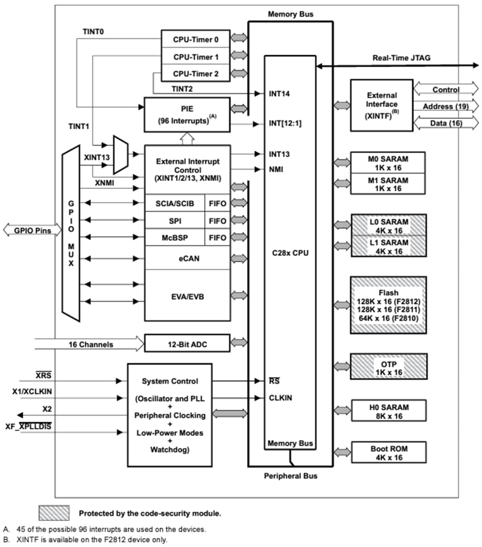
Functional Block Diagram
Veröffentlichungsdatum: 2019-10-07
| Aktualisiert: 2023-11-27
