Texas Instruments TMS320VC5409A Digitaler Festpunkt-Signalprozessor
Der Texas Instruments TMS320VC5409A Festpunkt-Digital-Signalprozessor (DSP) basiert auf einer fortschrittlichen modifizierten Harvard-Architektur mit einem Programmspeicherbus und drei Datenspeicherbussen. Dieser Prozessor bietet eine Arithmetic Logic Unit (ALU) mit einem hohen Grad an Parallelität, anwendungsspezifische Hardware-Logik, On-Chip-Speicher und zusätzliche On-Chip-Peripherie. Die Grundlage für die operative Flexibilität und Geschwindigkeit des TMS320VC5409A von Texas Instruments ist ein hochspezialisierter Befehlssatz.Separate Programm- und Datenräume ermöglichen den gleichzeitigen Zugriff auf Programmbefehle und Daten, wodurch eine hohe Parallelverarbeitung gewährleistet wird. Zwei Lesevorgänge und ein Schreibvorgang können in einem einzigen Verarbeitungsvorgang durchgeführt werden. Befehle mit einem Parallelspeicher und applikationsspezifischen Befehlen können diese Architektur in vollem Umfang nutzen. Außerdem können Daten zwischen Daten- und Programmbereichen übertragen werden. Eine solche Parallelverarbeitung unterstützt einen leistungsstarken Satz von Berechnungs-, Logikschaltungs- und Bit-Manipulationsvorgänge, die alle in einem einzelnen Maschinenzyklus durchgeführt werden können. Darüber hinaus enthält das Bauteil die Steuerungsmechanismen zur Verwaltung von Unterbrechungen, wiederholten Betriebsabläufen und Funktionsaufrufen.
Merkmale
- Moderne Multibus-Architektur mit drei separaten 16-Bit-Datenspeicherbussen und einem Programmspeicherbus
- 40-Bit Arithmetic Logic Unit (ALU) mit einem 40-Bit-Barrel-Shifter und zwei unabhängigen 40-Bit-Akkumulatoren
- Parallelgeschalteter 17- ×17-Bit-Multiplizierer, gekoppelt mit einem dedizierten 40-Bit-Addierer für den Betrieb mit nicht-zeitverschachtelter Einzelzyklus-Multiplikation/Akkumulierung (MAC)
- Vergleichs-, Auswahl- und Speichereinheit (Compare, Select and Store Unit, CSSU) für die Auswahl des Viterbi-Betreibers
- Exponent-Encoder zur Berechnung eines Exponentenwerts eines 40-Bit-Akkumulatorwerts in einem einzigen Zyklus
- Zwei Adressgeneratoren mit zwei Hilfsregistern und zwei Hilfsregister-Recheneinheiten (Auxiliary Register Arithmetic Units, ARAUs)
- Datenbus mit einer Bus-Halterungsfunktion
- Erweiterter Adressierungsmodus für einen maximalen adressierbaren externen Programmbereich von 8M \xD7 16-Bit
- 32K × 16-Bit-On-Chip-RAM bestehend aus
- Vier Blöcke von 8K \xD7 16-Bit-On-Chip-Dual-Zugriff-RAM-Programm-/Daten RAM
- 16K × \xD7 16-Bit-On-Chip-ROM für den Programmspeicher konfiguriert
- Verbesserte externe Parallelschnittstelle (XIO2)
- Einzel-Wiederholungsbefehle und Block-Wiederholungen für Programmcode
- Block-Speicher-Verschiebungsbefehle für eine bessere Programm- und Datenverwaltung
- Befehle mit einem Operanden mit einem 32 Bit langen Befehlswort
- Befehle mit zwei oder drei Operanden-Lesevorgängen
- Arithmetische Befehle mit Parallelspeicherung und Parallellast
- Bedingte Speicherbefehle
- Schnelle Rückkehr aus Unterbrechungen
- On-Chip-Peripherie
- Software-programmierbarer Wartezustandsgenerator und programmierbare Bankschaltung
- Programmierbarer On-Chip-Taktgeber mit Phasenregelschleife (PLL) mit einem interner Oszillator oder einer externen Taktquelle
- Ein 16-Bit-Timer
- Sechskanal-DMAC (Direct-Memory-Access-Controller)
- Drei gepufferte serielle Mehrkanal-Anschlüsse (McBSPs)
- Verbesserte 8-/16-Bit-Host-Anschluss-Parallelschnittstelle (HPI8/16)
- Stromverbrauchsregelung mit IDLE1-, IDLE2- und IDLE3-Befehlen mit Abschaltmodi
- CLKOUT-Off-Steuerung zur Deaktivierung von CLKOUT
- Scan-basierte On-Chip-Emulationslogikschaltung, IEEE Std 1149.1 (JTAG) Boundary-Scan-Logik
- 144-Pin-Ball-Grid-Array (BGA) (GGU-Suffix)
- 144-Pin-Quad-Flat-Pack mit niedrigem Profil (LQFP) (PGE-Suffix)
- Ausführungszeit für Einzelzyklus-Festpunktbefehl (160 MIPS): 6,25 ns
- Ausführungszeit für Einzelzyklus-Festpunktbefehl (120 MIPS): 8,33 ns
- I/O-Versorgungsspannung (160 und 120 MIPS): 3,3 V
- Core-Versorgungsspannung (160 MIPS): 1,6 V
- Core-Versorgungsspannung (120 MIPS): 1,5 V
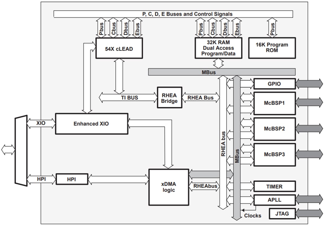
Funktionales Blockdiagramm
