Texas Instruments TPS2HB35-Q1 Intelligenter High-Side-Schalter
Der Texas Instruments TPS2HB35-Q1 High-Side-Smart-Schalter ist für den Einsatz in 12-V-Automotive-Systemen vorgesehen. Der Schalter TPS2HB35-Q1 verfügt über robuste Schutz- und Diagnosefunktionen, die den Schutz des Ausgangsports gewährleisten, selbst bei schädlichen Ereignissen wie Kurzschlüssen in Fahrzeugsystemen. Das Bauteil schützt gegen Fehler über eine zuverlässige Strombegrenzung, die je nach Bauteil-Ausführung von 2 A bis 28 A einstellbar ist. Der hohe Strombegrenzungsbereich ermöglicht den Einsatz bei Lasten, die hohe transiente Ströme erfordern, während der niedrige Strombegrenzungsbereich einen besseren Schutz für Lasten bietet, die keine hohen Spitzenströme erfordern.Der TPS2HB35-Q1 implementiert eine hochpräzise analoge Strommessung, die eine verbesserte Lastdiagnose ermöglicht. Durch die Meldung von Laststrom und Bauteiltemperatur an eine System-MCU ermöglicht der Schalter eine vorausschauende Wartung und Lastdiagnose, was die Lebensdauer des Systems erhöht.
Der TPS2HB35-Q1 von Texas Instruments ist in einem HTSSOP-Gehäuse erhältlich, das einen reduzierten PCB-Footprint ermöglicht. Der High-Side-Schalter TPS2HB35-Q1 ist nach AEC-Q100 für Fahrzeuganwendungen qualifiziert.
Merkmale
- Qualifiziert für Fahrzeuganwendungen
- Mit den folgenden Ergebnissen AEC-Q100-qualifiziert:
- Bauteiltemperaturklasse 1 (TA = -40 °C bis 125 °C Umgebungsbetriebstemperaturbereich)
- HBM-ESD-Bauteilklassifikation Stufe 2
- CDM-ESD-Bauteilklassifikation Stufe C4B
- Hält einem Lastabfall von 40 V stand
- Zweikanaliger intelligenter High-Side-Schalter mit 35 mΩ RON (TJ = 25 °C)
- Verbessert die Zuverlässigkeit auf Systemebene durch eine einstellbare Strombegrenzung
- Die Strombegrenzung ist einstellbar von 2 A bis 28 A und intern auf 36 A festgelegt
- Robuster integrierter Ausgangsschutz
- Integrierter thermischer Schutz
- Schutz gegen Kurzschluss zu Masse/Batterie
- Schutz vor Batterieverpolungsereignissen sowie automatischem Einschalten bei umgekehrter Spannung
- Automatische Abschaltung bei Batterie-/Masseverlust
- Integrierte Ausgangsklemme zur Entmagnetisierung induktiver Lasten
- Konfigurierbare Fehlerbehandlung
- Analoger Messausgang kann für eine genaue Messung konfiguriert werden
- Laststrom
- Temperatur des Bauteils
- Bietet Fehleranzeige über SNS-Pin
- Erkennung von offener Last und Kurzschluss-zu-Batterie
Applikationen
- Automotive-Displaymodul
- FAS-Module
- Sitzkomfort-Modul
- Getriebe-Steuereinheit
- HLK-Steuerungsmodul
- Karosseriesteuermodule
- Weißglühende und LED-Beleuchtung
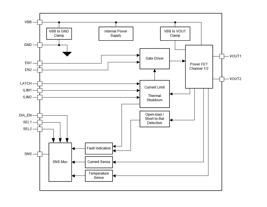
Funktionsdiagramm
Veröffentlichungsdatum: 2020-01-21
| Aktualisiert: 2025-03-06
