Texas Instruments TPS563231 Abwärtsspannungsregler
Der Texas Instruments TPS563231 Abwärtsspannungsregler ist ein einfacher, benutzerfreundlicher, synchroner 3-A-Abwärtswandler in einem SOT523-Gehäuse. Das Bauteil ist für den Betrieb mit einem Minimum an externen Komponenten und zur Erzielung eines niedrigen Standby-Stroms optimiert. Diese Schaltnetzteile (SNT) nutzen eine D-CAP2-Modussteuerung für ein schnelles Einschwingverhalten. Sie unterstützen sowohl Ausgangskondensatoren mit geringen äquivalenten Serienwiderständen (ESR) als auch spezielle Polymer- und keramische Kondensatoren mit extrem niedriger ESR ohne externe Kompensationskomponenten. Bei einem Betrieb mit leichten Lasten wird der TPS563231 im impulsüberspringenden Modus betrieben, wodurch ein hoher Wirkungsgrad beibehalten werden kann. Der TPS563231 ist in einem 6-Pin-SOT563-Gehäuse (DRL) von 1,6 mm × 2,9 mm erhältlich und für eine Sperrschichttemperatur von -40 °C bis 125 °C ausgelegt.Merkmale
- Im 3-A-Wandler integrierte 95-mΩ- und 55-mΩ-FETs
- D-CAP3™-Modussteuerung mit schnellem Einschwingverhalten
- Eingangsspannungsbereich: 4,5 V bis 17 V
- Ausgangsspannungsbereich: 0,6 V bis 7 V
- Pulse-Skipping-Modus
- Schaltfrequenz von 600 kHz
- Geringer Abschaltstrom von weniger als 12 µA
- 2 % Rückkopplungsspannungsgenauigkeit (25 °C)
- Inbetriebnahme von einer vorgespannten Ausgangsspannung
- Zyklus-für-Zyklus-Überstrombegrenzung
- Hiccup-Modus-Überstromschutz
- Nicht-verriegelbare UVP- und TSD-Schutzfunktionen
- 6-Pin-SOT523-Gehäuse
Applikationen
- Digitale TV-Stromversorgung
- High-Definition(HD)-Blu-ray™-Disc-Player
- Netzwerk-Home-Terminal
- Digitale Set-Top-Box (STB)
- Überwachung
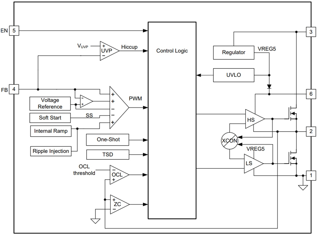
Funktionales Blockdiagramm
Veröffentlichungsdatum: 2019-04-04
| Aktualisiert: 2023-08-17
