Texas Instruments TPS653851A-Q1 Multi-Schienen-Stromversorgung
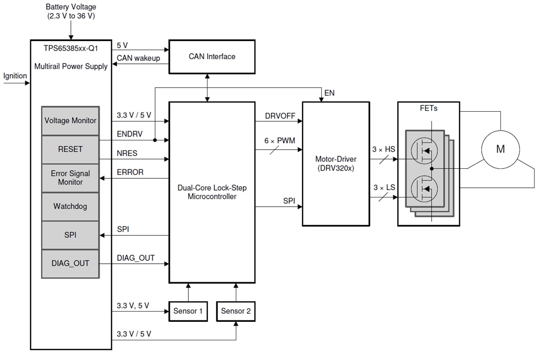
Das TPS653851A-Q1 Multi-Schienen-Netzteil von Texas Instruments ist für die Versorgung von Mikrocontrollern in sicherheitsrelevanten Applikationen ausgelegt, wie sie in der Automobilindustrie zu finden sind. Das Bauelement unterstützt funktionale Sicherheits-Mikrocontroller mit Dual-Core-Lockstep(LS)- und anderen Multi-Core-Architekturen. Das TPS653851A-Q1 integriert mehrere Versorgungsschienen, um den MCU, CAN oder FlexRay sowie externe Sensoren mit Strom zu versorgen. Ein Auf-/Abwärtswandler mit integrierten FETs wandelt die Eingangsbatteriespannung zwischen 2,3 V und 36 V in einen 6-V-Vorreglerausgang um, der die anderen Regler versorgt. Eine integrierte Ladungspumpe bietet eine Overdrive-Spannung für die internen Regler und kann auch dazu verwendet werden, einen externen NMOS-FET als Batterieverpolungsschutz anzusteuern. Das Bauteil unterstützt den Anlauf aus einem Zündungssignal (IGN-Pin) oder den Anlauf aus einem CAN-Transceiver oder weiteren Signal (CAN_WU-Pin).Eine unabhängige Spannungsüberwachungseinheit im Bauteil überwacht Unter- und Überspannung auf allen internen Versorgungsschienen und Reglerausgängen der Batterieversorgung. Strombegrenzungen und Temperaturschutzfunktionen des Reglers sind ebenfalls implementiert. Der TPS653851A-Q1 verfügt über einen Frage-Antwort-Watchdog, eine MCU-Fehlersignal-Überwachung, eine Taktüberwachung auf dem internen Oszillator, eine Selbstüberprüfung auf dem Taktwächter, eine zyklische Redundanzprüfung (CRC) auf dem nichtflüchtigen Speicher und eine SPI-Kommunikation. Darüber hinaus ist ein Diagnose-Ausgangs-Pin enthalten, der es dem MCU ermöglicht, interne analoge und digitale Signale des Bauteils zu beobachten, eine Reset-Schaltung für den MCU (NRES-Pin) und einen Sicherheitsausgang (ENDRV-Pin) zur Deaktivierung von externen Leistungsstufen bei einem erkannten Systemausfall. Das Bauteil führt beim Einschalten automatisch einen integrierten Selbsttest (BIST) aus und der MCU kann gegebenenfalls den BIST während der Systemlaufzeit über die Softwaresteuerung erneut ausführen. Ein dedizierter DIAGNOSTIC-Status ermöglicht es dem MCU, den Funktionsumfang des TPS653851A-Q1 zu überprüfen.
Darüber hinaus verfügt der TPS653851A-Q1 über eine Fehlermeldungsfunktion über das SPI-Register. Das Bauteil verfügt über separate Status-Bits im SPI-Register für jeden spezifischen Fehler auf System- oder Bauteilebene. Wenn das Bauteil einen bestimmten Fehlerzustand erkennt, legt es das geeignete Status-Bit fest und hält dieses Status-Bit so lange fest, bis der MCU das SPI-Register ausliest, in das dieses Status-Bit eingestellt wurde. Basierend auf dem eingestellten Status-Bit kann der MCU entscheiden, ob das System in einem sicheren Zustand gehalten werden muss oder ob es den Betrieb des Systems wiederaufnehmen kann. Die TPS653851A-Q1 Bauteile von Texas Instruments sind AEC-Q100 qualifiziert für Fahrzeuganwendungen.
Merkmale
- Qualifiziert für Fahrzeuganwendungen
- Mit den folgenden Ergebnissen AEC-Q100-qualifiziert:
- Bauelementtemperaturklasse 1 (-40 °C bis +125 °C Umgebungsbetriebstemperatur)
- Bauelement HBM ESD Klassifizierungsstufe 2
- CDM-ESD-Bauteilklassifikation Stufe C4B
- Eingangsspannungsbereich
- 7 bis 36 V für anfängliche Batterieeinschaltung
- 4 bis 36 V volle Funktionalität nach anfänglicher Batterieeinschaltung
- Mindestens 2,3 V während des Betriebs nach Aktivierung
- Versorgungsschienen (mit internen FETs)
- Synchroner 6-V-Auf-/Abwärts-Vorregler
- 5-V-LDO mit 285 mA (CAN, Peripherie oder ADC REF 1 % Genauigkeit mit einer Last von 20 bis 120 mA)
- TPS653851A-Q1 350-mA-LDO (MCU) von 3,3 V oder 5 V
- 2 für Sensorversorgung oder Peripherie geschützte LDOs
- 120 mA für Sensorversorgung 1 (VSOUT1), 100 mA für Sensorversorgung 2 (VSOUT2)
- Konfigurierbarer Tracking-Modus (Tracking-Eingangspin) oder feste Ausgangsspannung von 3,3 V oder 5 V
- Kurzschluss-zu-Masse- und Batterieschutz
- Ladungspumpe: min. 6 V, max. 11 V über der Batteriespannung
- Überwachung und Schutz
- Unabhängige Unter- und Überspannungsüberwachung auf allen Reglerausgängen, Batteriespannungen und internen Versorgungen
- Spannungsüberwachungs-Schaltung, einschließlich unabhängige Bandlückenreferenz, werden von einem separaten Batteriespannungs-Eingangspin versorgt
- Selbstüberprüfung auf allen Spannungsüberwachungen (wird während des Einschaltens und nach dem Einschalten durch einen externen MCU ausgelöst)
- Alle Netzteile sind mit Strombegrenzung und Übertemperatur-Vorwarnung sowie thermischer Abschaltung geschützt
- Mikrocontroller-Schnittstelle
- Watchdog-Funktion mit offenem und geschlossenem Fenster und Frage-Antwort-Watchdog-Funktion
- Überwachung für Funktionssicherheits-MCU-Fehlerausgang (PWM oder Pegel), MCU-Fehlersignalüberwachung
- Diagnose-Status für die Durchführung von Selbsttests und Systemdiagnosen des Bauteils
- Sicherer Zustand für Bauteil und Systemschutz bei erkanntem Systemausfall
- Taktüberwachung für den internen Oszillator
- Integrierter Analog- und Logik-Selbsttest
- CRC auf nichtflüchtigem Speicher und Bauteil- und Systemkonfigurations-Register sowie SPI-Kommunikationen
- Reset-Schaltung für MCU
- Diagnoseausgangs-Pin
- SPI mit CRC auf Befehl mit Daten
- Fehlermeldung über SPI-Register für Fehler auf System- und Bauelementebene
- Freigabe-Antriebsausgang für die Deaktivierung von externen Leistungsstufen auf allen erkannten Systemfehlern
- Aktivierung über IGN-Pin (Zündung) oder CAN_WU-Pin (Transceiver oder andere Funktion)
- 48-Pin-HTSSOP-PowerPAD™-IC-Gehäuse
Applikationen
- Sicherheitsrelevante Automotive-Applikationen
- Sicherheitsrelevante Industrieapplikationen
Typisches Applikationsdiagramm
