Texas Instruments TPS7A25 LDO-Linear-Spannungsregler
Texas Instruments TPS7A25 LDO-Linear-Spannungsregler bieten einen sehr niedrigen Ruhestrom (IQ) und einen Eingangsspannungsbereich von 2,4 V bis 18 V. Die TPS7A25 Regler bieten Funktionen, mit denen moderne Geräte immer strengeren Energieanforderungen gerecht werden und die Batterielebensdauer in tragbaren Stromversorgungslösungen verlängern können.Der TPS7A25 hat sowohl feste als auch einstellbare Versionen mit einer Ausgangs-Regelungsgenauigkeit von 1 %, die eine präzise Regelung für Mikrocontroller-Referenzen (MCU) bietet. Die feste Spannungsversion eliminiert externe Widerstände und minimiert die Leiterplattenfläche. Die einstellbare Version verwendet Feedback-Widerstände, um die Ausgangsspannung für mehr Flexibilität oder höhere Ausgangsspannungen von 1,24 V auf 17,64 V einzustellen.
Der TPS7A25 LDO arbeitet effizient mit einer maximalen Dropout-Spannung von weniger als 360 mV bei 300 mA Strom. Die maximale Dropout-Spannung ermöglicht einen Wirkungsgrad von 92,5 % von einer 5,4-V-Eingangsspannung (VIN) bis 5,0 V Ausgangsspannung (VOUT). Die Power-Good-Anzeige (PG) kann verwendet werden, um eine MCU im Reset-Modus zu halten, bis die Stromversorgung hergestellt ist, oder um eine Sequenzierung durchzuführen. Der PG-Pin verfügt über einen Open-Drain-Ausgang, sodass der Pin für die Überwachung durch eine andere Schiene als VOUT pegelverschoben werden kann. Im Falle eines Lastkurzschlusses oder eines Fehlers schützen die eingebaute Strombegrenzung und die thermische Abschaltung den Regler.
Merkmale
- Extrem niedriger IQ: 2 µA
- Eingangsspannung: 2,4 V bis 18 V
- Ausgangsspannungsoptionen verfügbar:
- Fest: 1,25 V bis 5 V
- Einstellbar: 1,24 V bis 17,64 V
- 1 % Genauigkeit über Temperatur
- Niedriger Dropout: 340 mV (max.) bei 300 mA
- Open-Drain-Power-Good-Ausgang
- Übertemperatur- und Überstromschutz
- Aktiver Pulldown gegen Überschwingen
- Sperrschicht-Betriebstemperaturbereich: -40 °C bis +125 °C
- Stabil mit 1-μF-Ausgangskondensator
- Gehäuse: 6-Pin-WSON
Applikationen
- Heim- und Gebäudeautomatisierung
- Mehrzellige Powerbanks (Ladegeräte)
- Intelligentes Stromnetz und -messung
- Tragbare Elektrowerkzeuge
- Motorantriebe
- Küchengeräte
- Tragbare Geräte
Typische Applikations-Schaltung
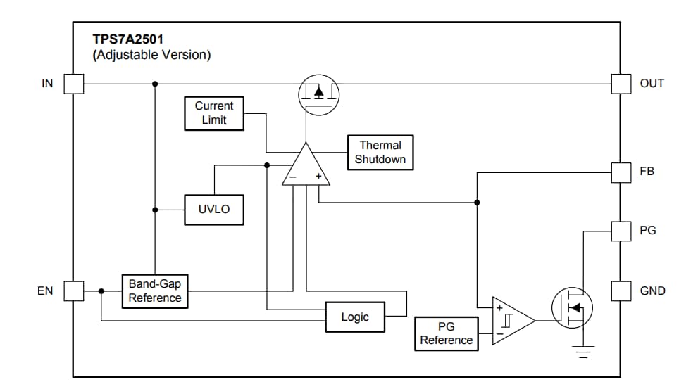
Blockdiagramm
