Texas Instruments TPS99001-Q1 Systemmanagement-Controller
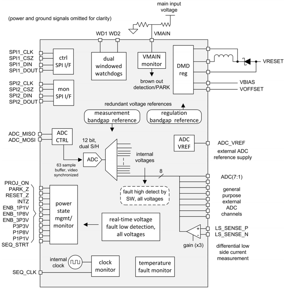
Der Texas Instruments TPS99001-Q1 Systemmanagement-Controller ist Teil des DLP5531-Q1 Chipsatzes, der außerdem den DLPC230-Q1 DMD-Display-Controller (Digital Micromirror Device, DMD) enthält. Ein integrierter DMD-Hochspannungsregler liefert Referenzspannungen für die Spiegel des DMD, welche die geforderten engen Toleranzen einhalten. Die Stromversorgungs-Sequenzer und -Wächter bieten eine robuste Koordination von Einschalt- und Ausschaltereignissen für den gesamten Chipsatz.Der Controller TPS99001-Q1 von Texas Instruments enthält einen 12-Bit-ADC als eine der Kernkomponenten des Kontrollsystems. Der ADC kann bis zu 63 Ereignisse pro Videoeinzelbild automatisch abtasten.
Erweiterte Systemstatus-Überwachungsschaltungen bieten eine Echtzeitüberwachung der Betriebsbedingungen des Display-Subsystems. Diese Bedingungen umfassen zwei Prozessor-Watchdog-Schaltungen, zwei Chip-Temperaturwächter und eine umfassende Versorgungsüberwachung für die Überspannungs- und Unterspannungserkennung. Weitere Bedingungen umfassen Prüfsumme und Passwortregisterschutz mit einer Parität auf Byte-Ebene bei SPI-Bus-Transaktionen und anderen integrierten Prüffunktionen.
Merkmale
- Für Fahrzeuganwendungen zugelassen
- Mit den folgenden Ergebnissen AEC-Q100-qualifiziert:
- Umgebungsbetriebstemperatur: -40 °C bis +105 °C (Temperaturklasse 2)
- HBM-ESD-Bauteilklassifikation Stufe 2
- CDM-ESD-Bauteilklassifikation Stufe C4B
- Automotive-Systemmanagement-Bauteil für DLP®-Produkte
- Erweiterte Leistungsüberwachung, Sequenzierung und Schutzschaltungen
- Zwei Chip-Temperaturwächter, externer MCU-Watchdog-Timer, Taktfrequenzwächter
- SPI-Anschluss mit Parität, Prüfsumme und Passwort-Registerschutz
- Zweiter SPI-Anschluss für unabhängige Systemüberwachung
- On-Chip-DMD-Spiegel-Spannungsregler
- Erzeugt Steuerspannungen von +16 V, +8,5 V und -10 V DMD
- 12-Bit-ADC mit bis zu 63 Zeitablaufabtastungen pro Einzelbild
Applikationen
- Fortschrittliche Automotive-Beleuchtungsapplikationen (Scheinwerfer mit hoher Auflösung)
- Adaptives Fernlicht (ADB)
Funktionales Blockdiagramm
Veröffentlichungsdatum: 2021-03-04
| Aktualisiert: 2025-02-27
