Texas Instruments UCC21756-Q1 Isolierter Einkanal-Gate-Treiber
Der isolierte Einkanal-Gate-Treiber UCC21756-Q1 von Texas Instruments ist für SiC-MOSFETs und IGBTs mit einer Betriebsspannung von bis zu 2121 V DC ausgelegt und zeichnet sich durch erweiterte Schutzfunktionen, erstklassige dynamische Leistung und Robustheit aus. Der UCC21756-Q1 verfügt über einen Quellen- und Senken-Spitzenstrom von bis zu ±10 A. Die Eingangsseite ist von der Ausgangsseite mit der kapazitiven SiO2-Isolationstechnologie isoliert, die eine Betriebsspannung bis zu 1,5 kVRMS, eine Stoßspannungsfestigkeit von 12,8 kVPK mit einer Lebensdauer der Isolationsbarriere von über 40 Jahren sowie eine geringe Bauteil-zu-Bauteil-Verzögerungsabweichung und eine Gleichtaktstörfestigkeit (CMTI) von >150 V/ns bietet.Der UCC21756-Q1 von Texas Instruments enthält die neuesten Schutzfunktionen, beispielsweise eine schnelle Kurzschlusserkennung, eine Fehlermeldung und eine aktive Miller-Klemme. Darüber hinaus ist ein eingangs- und ausgangsseitiges UVLO-Netzteil zur Optimierung des SiC- und IGBT-Schaltverhaltens und der Robustheit enthalten. Der isolierte Analog-zu-PWM-Sensor kann für eine einfachere Temperatur- oder Spannungserfassung verwendet werden, wodurch sich die Vielseitigkeit der Treiber erhöht und Aufwand, Größe und Kosten des Systemdesigns verringert werden.
Merkmale
- Isolierter Einkanal-Gate-Treiber mit 5,7 kVRMS
- Mit den folgenden Ergebnissen AEC-Q100-qualifiziert:
- Umgebungsbetriebstemperaturbereich: -40 °C bis +150° C (Bauteiltemperatur Klasse 0)
- HBM-ESD-Bauteilklassifikation Stufe 3A
- CDM-ESD-Bauteilklassifikation Stufe C6
- Qualitätsverwaltete funktionale Sicherheit
- Dokumentation zur Unterstützung des Designs von funktionalen Sicherheitssystemen ist verfügbar
- SiC-MOSFETs und IGBTs bis zu 2121 Vpk
- Maximale Ausgangsantriebsspannung (VDD-VEE): 33 V
- Antriebsstärke von ±10 A und Split-Ausgang
- Mindestens 150 V/ns CMTI
- Schneller DESAT-Schutz mit einer Anschwingzeit von 200 ns und einem Schwellenwert von 5 V
- Interne aktive Miller-Klemme von 4 A
- Sanftes Ausschalten von 900 mA, wenn ein Fehler auftritt
- Isolierter Analogsensor mit PWM-Ausgang für
- Temperaturmessung mit NTC-, PTC- oder thermischer Diode
- Hochspannungs-DC-Link oder Phasenspannung
- Alarm-FLT bei Überstrom und Rückstellung von RST/EN
- Schnelle Aktivierungs-/Deaktivierungs-Reaktion auf RST/EN
- Unterdrückung von Rauschtransienten von < 40 ns und Impulsen an den Eingangspins
- 12 V VDD UVLO mit Power-Good auf RDY
- Ein-/Ausgänge mit Über-/Unter-Transientenspannungs-Störfestigkeit bis 5 V
- Ausbreitungsverzögerung von 130 ns (max.) und Impuls-/Teileversatz von 30 ns (max.)
- SOIC-16-DW-Gehäuse mit Kriechstrecke und Luftstrecke von > 8 mm
- Sperrschicht-Betriebstemperatur: -40 °C bis 150 °C
Applikationen
- Traktionswechselrichter für Elektrofahrzeuge
- On-Board-Ladegeräte und Ladestapel
- DC/DC-Wandler für Hybrid-Elektrofahrzeuge/Elektrofahrzeuge
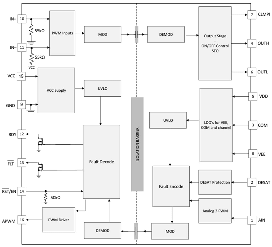
Funktionales Blockdiagramm
Weitere Ressourcen
Veröffentlichungsdatum: 2023-05-05
| Aktualisiert: 2025-03-06
