Toshiba TMPM471F10FG 32-Bit-Mikrocontroller

Der Toshiba TMPM471F10FG 32-Bit-Mikrocontroller basiert auf dem ARM Cortex ® -M4-Prozessor mit FPU. Dieser Mikrocontroller wird in einem Frequenzbereich von 1 MHz bis 160 MHz und einem Spannungsbereich von 4,5 V bis 5,5 V betrieben. Der TMPM471F10FG Mikrocontroller unterstützt die FirmWare-Rotation mit der Memory-Swap-Funktion. Dieser Mikrocontroller verfügt eine maximale Flash-Speicherkapazität von 1 MB und kann bis zu 100.000 Programm-/Löschzyklen aufrechterhalten, was die Erweiterung der Gerätefunktionen unterstützt. Der TMPM471F10FG Mikrocontroller verfügt über einen 12-Bit-Analog-Digital-Wandler (ADC), eine I2C-Schnittstelle Version A (EI2C) und eine asynchrone serielle Schnittstelle (UART). Dieser Mikrocontroller wird in Applikationen, wie z. B. Motorgeräten, Stromversorgungen, Robotern, Waschmaschinen und Kühlschränken verwendet.

Merkmale

  • ARM Cortex-M4-Prozessor mit FPU:
    • Betriebsfrequenzbereich: 1 MHz bis 160 MHz
    • Speicherschutzeinheit (Memory Protection Unit, MPU)
  • Stromsparmodus:
    • Betriebsspannungsbereich: 4,5 V bis 5,5 V
    • Leerlauf-, STOP1-Betrieb mit geringem Stromverbrauch
  • Interner Speicher
    • 1 MB Code-Flash, bis zu 100.000 Mal wiederbeschreibbar
    • Der Code-Flash-Bereich ist parallel mit der Befehlsausführung auf einem anderen Code-Bereich neu beschreibbar
    • 64 KB RAM mit Parität
  • Uhr:
    • 6 MHz bis 24 MHz (Keramik, Quarz) externer Hochgeschwindigkeits-Oszillator
    • 6 MHz bis 10 MHz externer Hochgeschwindigkeits-Takteingang
    • 10 MHz interner Hochgeschwindigkeits-Oszillator mit Benutzertrimmfunktion (IHOSC1)
    • 160 MHz-Ausgang (Systemtakt) PLL
  • 12-Bit-Analog-Digital-Wandler (ADC):
    • 23 Eingänge in 2 Einheiten
    • Umwandlungszeit: 0,6 µs
    • Unterstützungsfunktion zur Selbstdiagnose
  • Erweiterte programmierbare Motorsteuerungsschaltung (A-PMD):
    • 2 Kanäle
    • Komplementärer 3-Phasen-PWM-Ausgang und mit ADC synchronisiert
    • Unterstützt verschachtelte 3-Phasen-PFC-Steuerung
    • Not-Aus-Funktion durch externe Eingänge (EMG-Pin, OVV-Pin)
  • 32-Bit-Timer-Ereigniszähler (T32A):
    • 5 Kanäle als 32-Bit-Timer und 10 Kanäle als 16-Bit-Timer
    • Intervalltimer, Ereigniszähler, Eingangserfassung, Phasendifferenzeingang, PPG-Ausgang, Sync-Start und Trigger-Start
  • Watchdog-Timer (SIWDT):
    • 1 Kanal
    • Ein anderes Taktsystem als der Systemtakt kann ausgewählt werden
    • Fenster, Interrupts und Reset-Ausgang löschen

Applikationen

  • Industrieanwendungen:
    • Umrichter
    • Motorgeräte
    • Leistungsregler
    • Roboter
  • Verbraucher
    • Klimaanlagen
    • Waschmaschinen
    • Kühlschränke

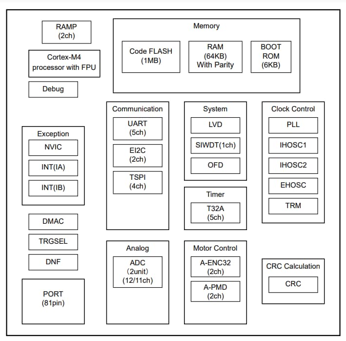
Blockdiagramm

Blockdiagramm - Toshiba TMPM471F10FG 32-Bit-Mikrocontroller
Veröffentlichungsdatum: 2025-02-21 | Aktualisiert: 2025-04-17