AMD / Xilinx Artix®-7-FPGA AC701 Evaluierungskit
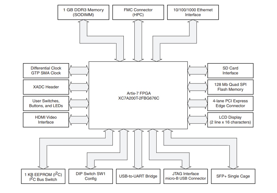
Das Xilinx Artix®-7 FPGA AC701 Evaluierungskit bietet eine Hardware-Umgebung für die Entwicklung und Evaluierung von Designs für Artix-7-FPGAs. Das AC701 Evaluierungskit verfügt über Funktionen, die in vielen Embedded-Verarbeitungssystemen Verwendung finden, einschließlich DDR3-SODIMM-Speicher, vierspurige PCI Express®-Schnittstelle, Tri-Modus-Ethernet-PHY, Universal-I/O und eine UART-Schnittstelle.Andere Funktionen können mithilfe einer FPGA-Mezzanine-Karte (FMC) hinzugefügt werden, die an den VITA-57 FPGA-Mezzanine-Steckverbinder auf dem Board angeschlossen wird. Das Kit beinhaltet auch einen FMC-Steckverbinder mit hoher Pinzahl (HPC). Das Artix®-7-FPGA AC701 Evaluierungskit bietet ein Referenzdesign, das eine serielle Konnektivität mit hoher Leistungsfähigkeit und erweiterter Speicherverbindung ermöglicht und mit einer vollständigen Lizenz für die Northwest Logik-DMA-Engine verfügbar ist.
Merkmale
- Optimiert für schnelles Prototyping kostensensitiver Applikationen mit Artix-7 FPGAs
- Hardware, Design-Tools, IP und vorzertifizierte Referenzdesigns
- Demonstriert ein Hochleistungs-Datenübertragungssystem mit einem PCI Express® x4 Gen2
- Referenzdesign mit Northwest Logik-DMA-Engine, die an einer AXI-Schnittstelle angeschlossen ist
- Erweiterte Speicherschnittstelle mit 1-GB-DDR3-SODIMM von bis zu 533 MHz/1.066 MBit/s
- Ermöglicht eine serielle Konnektivität mit hoher Leistungsfähigkeit und GTP-Anschlüssen auf FMC, SFP und SMA
- Unterstützt eine Embedded-Verarbeitung mit MicroBlaze 32-Bit-Soft-RISC
- Zur Entwicklung von Netzwerk-Applikationen mit 10-100-1000 MBit/s Ethernet (RGMII) ausgelegt
- Implementierung von Videoanzeige-Applikationen mit HDMI-Ausgang
- Erweiterung der I/O mit der Schnittstelle der FPGA-Mezzanine-Karte (FMC)
Videos
Boardübersicht
Blockdiagramm
Veröffentlichungsdatum: 2019-05-30
| Aktualisiert: 2024-05-29
