Analog Devices Inc. ADRF5715 Digitale Silizium-Dämpfer
Die Analog Devices Inc. ADRF5715 digitalen Silizium-Dämpfer sind digitale 1-bit-Dämpfer mit 16 dB-Dämpfung. Diese Dämpfer arbeiten in einem Ultrabreitband-Frequenzbereich von 1 MHz bis 30 GHz mit einer Einfügungsdämpfung von mehr als 1,15 dB und einer ausgezeichneten Dämpfungsgenauigkeit. Die ADRF5715 Silizium-Dämpfer bieten ATTIN- und ATTOUT-Anschlüsse, die eine RF-Eingangsstromfähigkeit von durchschnittlich 30 dBm und 33 dBm Spitze bieten. Diese Dämpfer verfügen über eine Dual-Versorgungsspannung von -3,3 V und 3,3 V und unterstützen einen Einzelversorgungsbetrieb. Zu den typischen Applikationen gehören Industrie-Scanner, 5G-Millimeterwellen-Mobilfunkinfrastruktur, Militärfunkgeräte, Radargeräte, Mikrowellenfunkgeräte und elektronische Gegenmaßnahmen (ECMs).Die ADRF5715 Silizium-Dämpfer sind mit komplementären Metalloxid-Halbleitern (CMOS) und Niederspannungs-Transistor-Transistor-Logikschaltung (LVTTL) kompatibel. Diese Dämpfer sind in einem 2,25 mm x 2,25 mm LGA-Gehäuse mit 12 Anschlüssen erhältlich und sind RoHs-konform.
Merkmale
- 1 MHz bis 30 GHz Ultrabreitband-Frequenzbereich
- 16 dB Einzeldämpfungsschritt
- Geringe Einfügungsdämpfung:
- 0,6 dB at 8 GHz
- 0,8 dB at 18 GHz
- 1,15 dB at 30 GHz
- Dämpfungsgenauigkeit:
- ±0,15 dB typisch bei bis zu 18 GHz
- ±0,20 dB typisch 18 GHz bis zu 30 GHz
- Hohe Eingangslinearität:
- 33 dBm typischer P0.1dB Einfügungsdämpfungszustand
- 30 dBm typischer P0.1dB 16 dB Dämpfungszustand
- 51 dBm typischer IP3-Einfügungsdämpfungszustand
- 49 dBm typischer IP3-16-dB-Dämpfungszustand
- Hohe HF-Belastbarkeit:
- Eingang bei ATTIN und ATOUT
- 30 dBm typischer stationärer Mittelwert
- 33 dBm typischer stationärer Spitzenwert
- Eingang bei ATTIN und ATOUT
- Typische HF-Amplituden-Einschwingzeit von 6,5 µs (0,1 dB des endgültigen HF-OUT)
- Unterstützt Einzelversorgungsbetrieb
- Enge Verteilung in relativer Phase
- Keine Niederfrequenz-Störsignale
- CMOS-/LVTTL-kompatibel
- 2,25 mm x 2,25 mm-Gehäuse mit 12 Anschlüssen und Land-Raster-Array [LGA] Paket
Applikationen
- Industrie-Scanner
- Prüf- und Messgeräte
- 5 G-Millimeterwellen-Mobilfunk-Infrastruktur
- Militärfunkgeräte und Radarsysteme
- Elektronische Gegenmaßnahmen (ECMs)
- Mikrowellenfunkgeräte
- Very Small Aperture Terminals (VSATs)
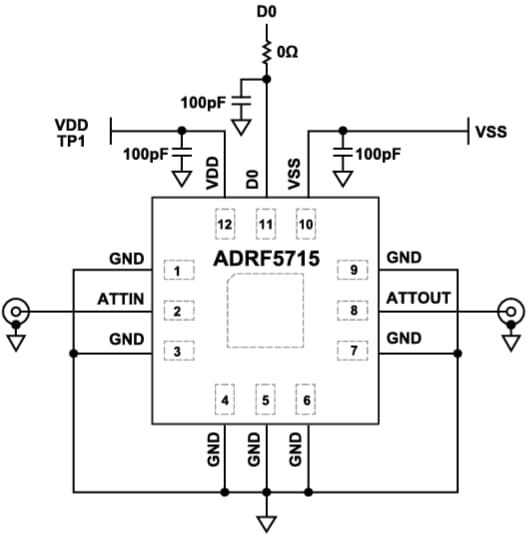
Vereinfachte Applikations-Schaltung
Funktionales Blockdiagramm
Veröffentlichungsdatum: 2024-01-31
| Aktualisiert: 2024-03-06
