Texas Instruments TAS6421-Q1 Automotive-Burr-Brown™-Audioverstärker

Texas Instruments TAS6421-Q1 Automotive-Burr-Brown™-Audioverstärker der Klasse D implementieren eine PWM-Schaltfrequenz von 2,1 MHz und ermöglichen eine kostenoptimierte Lösung für eine sehr kleine PCB-Größe. Der TAS6421-Q1 verfügt über einen vollständigen Betrieb bis hinunter zu 4,5 V für Start-/Stopp-Vorgänge und eine hervorragende Tonqualität mit einer Audio-Bandbreite von bis zu 40 kHz.

Merkmale

  • Erweiterte Lastdiagnosefunktionen
    • DC-Diagnosefunktionen werden ohne Eingangstakte betrieben
    • AC-Diagnosefunktionen für Hochton-Erkennung mit Impedanz und Phasenreaktion
  • Erfüllt problemlos die CISPR25-L5 EMV-Spezifikation
  • AEC-Q100-qualifiziert für Fahrzeuganwendungen
    • Temperaturklasse: -40 °C bis +125 °C
  • Audioeingänge
    • I2S- oder Vier-/Achtkanal-TDM-Eingang
    • Eingangs-Abtastraten: 44,1 kHz, 48 kHz, 96 kHz
    • Eingangsformate: 16-Bit- bis 32-Bit-I2S und TDM
  • Audioausgänge
    • Einkanal-BTL (Bridge-Tied-Load)
    • Ausgangsschaltfrequenz von bis zu 2,1 MHz
    • 27 W, 10 % THD zu 4 Ω bei 14,4 V BTL
    • 45 W, 10 % THD zu 2 Ω bei 14,4 V BTL
  • Audioleistung zu 4 Ω bei 14,4 V BTL
    • THD+N <0,02 % bei 1 W
    • 42 µVRMS Ausgangsrauschen
    • -90 dB Nebensignaleffekt
  • Lastdiagnosefunktionen mit Host-unabhängigem Betrieb
    • Offener Lastkreis im Aus-Zustand und Kurzschluss
    • Ausgang-zu-Batterie oder Erdschluss
    • Leitungsausgangserkennung von bis zu 6 kΩ
  • Schutzfunktionen
    • Ausgangsstrombegrenzung und Kurzschluss-Sicherung
    • 40 V Lastabwurf
    • Offene Erdung und Leistungstoleranz
    • Übertemperaturwarnung und thermische Abschaltung
    • Unterspannung und Überspannung, DC-Offset
  • Allgemeiner Betrieb
    • Versorgungsspannung von 4,5 V bis 26,4 V
    • I2C-Steuerung mit 4 Adressoptionen
    • Clip-Erkennung (verriegelnd oder nicht-verriegelnd)

Applikationen

  • Automotive-Haupteinheit und externer Verstärker
  • eCall (Notruf)
  • Virtual-Engine-Soundsystem (VESS)

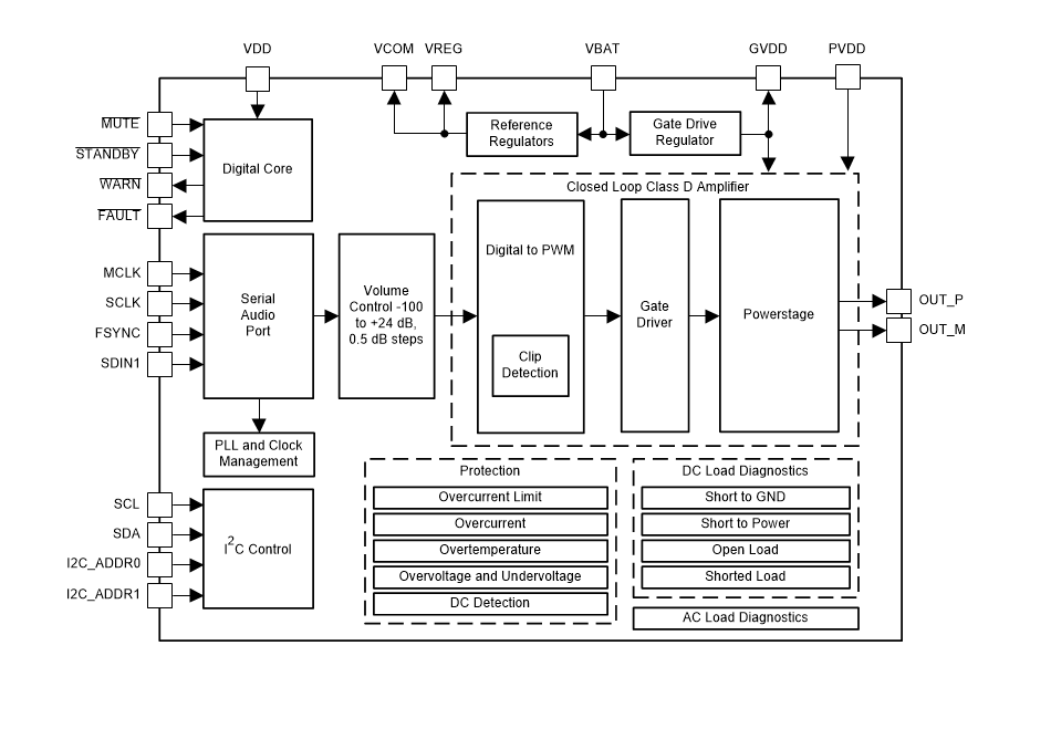
Blockdiagramm

Blockdiagramm - Texas Instruments TAS6421-Q1 Automotive-Burr-Brown™-Audioverstärker
Veröffentlichungsdatum: 2019-11-26 | Aktualisiert: 2025-03-05