Texas Instruments TAS6424M-Q1 Automotive-Audioverstärker der Klasse D

Texas Instruments TAS6424M-Q1 Automotive-Audioverstärker der Klasse D enthalten eine PWM-Schaltfrequenz von 2,1 MHz, die eine kostenoptimierte Lösung in einer sehr kleinen PCB-Größe ermöglicht. Der TAS6424M-Q1 verfügt über einen vollständigen Betrieb bis hinunter zu 4,5 V für Start-/Stopp-Vorgänge und eine hervorragende Tonqualität mit einer Audio-Bandbreite bis zu 40 kHz. Die Ausgangsschaltfrequenz kann zur Optimierung des Wirkungsgrads entweder oberhalb oder unterhalb des AM-Bands eingestellt werden. Durch die Einstellung der Bandfrequenz oberhalb des AM-Bands werden die AM-Band-Verzerrungen eliminiert und die Ausgangsfilterung und die Kosten reduziert.

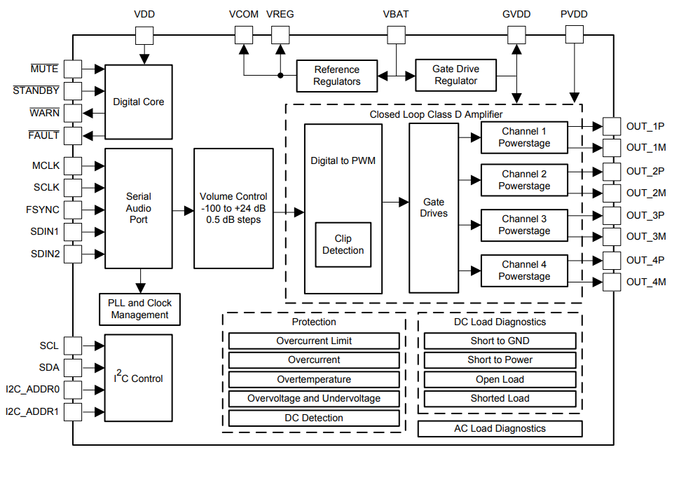
Der TAS6424M-Q1 verfügt über eingebaute Lastdiagnosefunktionen zur Erkennung und Diagnose von fehlerhaften Verbindungen der Ausgänge. Darüber hinaus erkennt diese Funktion AC-gekoppelte Hochtöner zur Reduzierung der Testzeit während dem Herstellungsprozess. Das Bauteil bietet aus einer 14,4-V-Stromversorgung zwei Kanäle mit 27 W zu 4 Ω bei 10 % THD+N und 45 W zu 2 Ω bei 10 % THD+N.

Der TAS6424M-Q1 Audioverstärker der Klasse D eignet sich hervorragend für den Einsatz in Automotive-Haupteinheiten und externen Verstärkermodulen. Die TAS6424M-Q1 Bauteile sind für Fahrzeuganwendungen AEC-Q100-qualifiziert. Die TAS6421-Q1, TAS6422-Q1, TAS6424L-Q1 und TAS6424-Q1 bieten pinkompatible Ein-/Zwei-/Vierkanal-Optionen.

Merkmale

  • Fortschrittliche Lastdiagnosen
    • DC-Diagnosenbetrieb ohne Eingangstakte
    • AC-Diagnose für Hochton-Erkennung mit Impedanz und Phasenreaktion
  • Erfüllt problemlos die CISPR25-L5 EMC-Spezifikation
  • Audioeingänge
    • Vierkanal-I2S- oder Vier-/Achtkanal-TDM-Eingang
    • Eingangs-Abtastraten: 44,1 kHz, 48 kHz, 96 kHz
    • Eingangsformate: 16-Bit- bis 32-Bit-I2S und TDM
  • Audioausgänge
    • Vierkanal-BTL (Bridge-Tied-Load)
    • Parallele Zweikanal-BTL (PBTL)
    • Ausgangsschaltfrequenz von bis zu 2,1 MHz
    • 27 W, 10 % THD zu 4 Ω bei 14,4 V BTL
    • 45 W, 10 % THD zu 2 Ω bei 14,4 V BTL
    • 80 W, 10 % THD zu 2 Ω bei 18 V PBTL
  • Audioleistung zu 4 Ω bei 14,4 V BTL
    • THD+N von <0,02 % bei 1 W
    • 42 µVRMS Ausgangsrauschen
    • –90 dB Nebensignaleffekt
  • Für Fahrzeuganwendungen AEC-Q100-qualifiziert
    • Bauteil-Temperatur Klasse 1: -40 °C bis 125 °C TA
  • Lastdiagnosen
    • Offener Lastkreis im Aus-Zustand und Kurzschluss
    • Ausgang-zu-Batterie oder Erdschluss
    • Leitungsausgangserkennung bis zu 6 kΩ
    • Host-unabhängiger Betrieb
  • Schutzfunktionen
    • Ausgangsstrombegrenzung
    • Ausgangskurzschlusssicherung
    • 40 V Lastabwurf
    • Tolerant gegenüber offene Masse und Leistung
    • DC-Offset
    • Übertemperatur
    • Unter- und Überspannung
  • Allgemeiner Betrieb
    • Versorgungsspannung von 4,5 V bis 18 V
    • I2C-Steuerung mit 4 Adressoptionen
    • Clip-Erkennung und Temperaturwarnung

Applikationen

  • Automotive-Haupteinheit
  • Externe Automotive-Verstärker

Blockdiagramm

Blockdiagramm - Texas Instruments TAS6424M-Q1 Automotive-Audioverstärker der Klasse D
Veröffentlichungsdatum: 2019-04-24 | Aktualisiert: 2025-03-06